- Partiron
- OEM Parts
- Honda
- MOTORCYCLE
- 1982
- CX500TCA (82) 500 TURBO, JPN, VIN# JH2PC030-CM000017
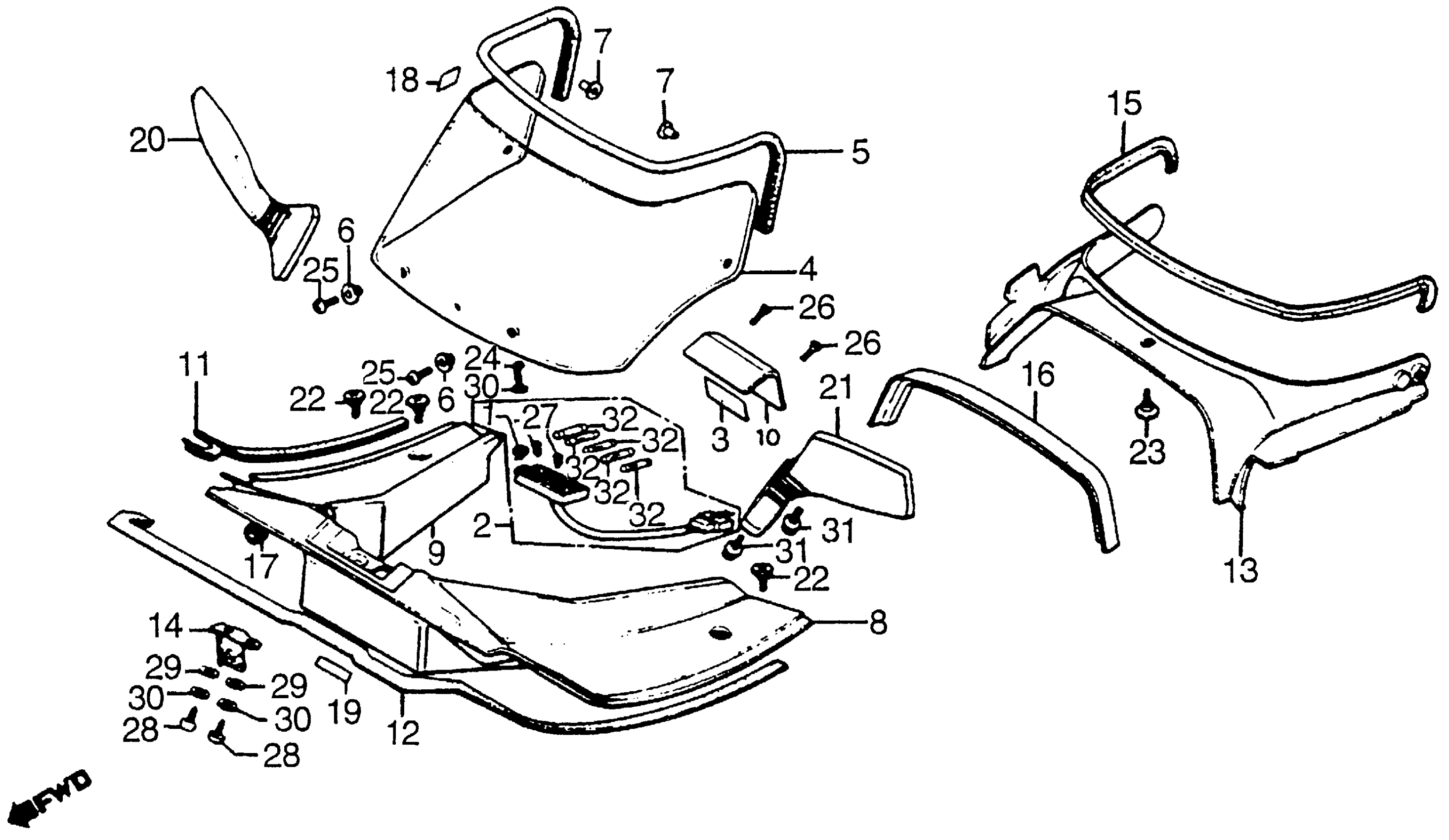
WINDSCREEN
Honda CX500TCA (82) 500 TURBO, JPN, VIN# JH2PC030-CM000017 WINDSCREEN Diagram
#
Description
Price
1
COLLAR, LEVER SETTING (NOT AVAILABLE)
16572-879-010
Unavailable
2
PLATE ASSY., FUSE (NOT AVAILABLE)
38200-MC7-005
Unavailable
3
LABEL, FUSE (NOT AVAILABLE)
38215-MC7-610
Unavailable
4
WINDSCREEN (NOT AVAILABLE)
64100-MC7-000
Unavailable
5
MOLDING, WINDSCREEN This part replaces 64105-MC7-000.
64105-MC7-505
Unavailable
5
MOLDING, WINDSCREEN
64105-MC7-505
Unavailable
6
COLLAR, WINDSCREEN
64106-MC7-000
Unavailable
7
COLLAR, WINDSCREEN SIDE (NOT AVAILABLE)
64107-MC7-000
Unavailable
8
PANEL A (INNER) (NOT AVAILABLE)
64221-MC7-000
Unavailable
9
PANEL B (INNER) (NOT AVAILABLE)
64222-MC7-000
Unavailable
10
COVER, FUSE BOX (NOT AVAILABLE)
64223-MC7-000
Unavailable
11
RUBBER A, FR. PANEL SEAL (INNER)
64224-MC7-000
Unavailable
12
RUBBER B, FR. PANEL SEAL (INNER) (NOT AVAILABLE)
64226-MC7-000
Unavailable
13
VISOR, METER (NOT AVAILABLE)
64240-MC7-000
Unavailable
14
BRACKET, PANEL (INNER) (NOT AVAILABLE)
64519-MC7-000
Unavailable
15
RUBBER, METER VISOR SEAL (NOT AVAILABLE)
64532-MC7-000
Unavailable
16
RUBBER, METER SEAL (NOT AVAILABLE)
64535-MC7-000
Unavailable
17
GROMMET B, METER CASE
66219-634-000
Unavailable
18
LABEL, WINDSHIELD CAUTION (NOT AVAILABLE)
87522-MA3-700
Unavailable
19
LABEL, BREAK IN CAUTION (NOT AVAILABLE)
87523-102-720
Unavailable
20
MIRROR, R. BACK This part replaces 88110-MC7-620.
88110-ME7-621
Unavailable
21
MIRROR, L. BACK This part replaces 88120-MC7-620.
88120-ME7-621
Unavailable
22
SCREW, PANEL SETTING (INNER) (NOT AVAILABLE)
90110-MC7-000
Unavailable
23
SCREW, METER VISOR SETTING (NOT AVAILABLE)
90123-MC7-000
Unavailable
27
SCREW, TAPPING (3X8)
93901-12120
Unavailable
