- Partiron
- OEM Parts
- Honda
- MOTORCYCLE
- 1982
- CX500TCA (82) 500 TURBO, JPN, VIN# JH2PC030-CM000017
FRONT SHOCK ABSORBER
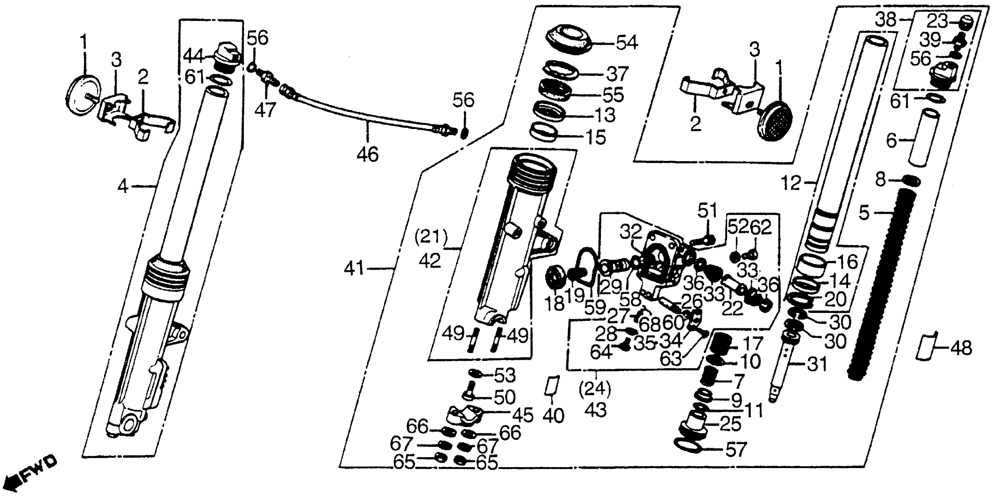
Honda CX500TCA (82) 500 TURBO, JPN, VIN# JH2PC030-CM000017 FRONT SHOCK ABSORBER Diagram
#
2
STAY A, FR. REFLEX REFLECTOR (NOT AVAILABLE)
33751-MC7-670
Unavailable
3
STAY B, FR. REFLEX REFLECTOR (NOT AVAILABLE)
33752-MC7-670
Unavailable
4
SHOCK ABSORBER ASSY., R. FR. (SHOWA) (NOT AVAILABLE) | Use up to Frame SN 000661 This part replaces 51400-MC7-003.
51400-MC7-013
Unavailable
4
SHOCK ABSORBER ASSY., R. FR. (SHOWA) (NOT AVAILABLE) | Use up to Frame SN 000661
51400-MC7-013
Unavailable
4
SHOCK ABSORBER ASSY., R. FR. (SHOWA) (NOT AVAILABLE) | Use from Frame SN 000662
51400-MC7-670
Unavailable
5
SPRING A, FR. FORK (NOT AVAILABLE)
51401-MC7-003
Unavailable
6
COLLAR, SPRING (NOT AVAILABLE)
51402-MA0-771
Unavailable
7
SPRING, OIL LOCK (NOT AVAILABLE)
51402-MC7-003
Unavailable
9
SEAT, SPRING (NOT AVAILABLE)
51403-MC7-003
Unavailable
10
SEAT B, SPRING (NOT AVAILABLE)
51404-MC7-003
Unavailable
12
PIPE, FR. FORK (NOT AVAILABLE)
51410-MC7-003
Unavailable
14
RING, OIL LOCK
51413-MC7-003
Unavailable
17
SPRING, REBOUND (NOT AVAILABLE)
51416-MC7-003
Unavailable
18
GASKET (NOT AVAILABLE)
51417-MC7-003
Unavailable
19
SPRING, PISTON (NOT AVAILABLE)
51418-MC7-013
Unavailable
20
RING B, STOPPER (NOT AVAILABLE)
51419-MC7-003
Unavailable
21
CASE, R. (LOWER) (NOT AVAILABLE) | Use up to Frame SN 001961 This part replaces 51421-MC7-003.
51421-MC7-013
Unavailable
21
CASE, R. (LOWER) (NOT AVAILABLE)
51421-MC7-013
Unavailable
22
COLLAR, PISTON
51423-MC7-003
Unavailable
23
DUST SEAL (NOT AVAILABLE)
51425-169-003
Unavailable
24
CASE ASSY., R. PISTON (NOT AVAILABLE)
51430-MC7-013
Unavailable
25
PIECE, OIL LOCK (NOT AVAILABLE)
51432-MC7-003
Unavailable
26
ROD, ADJUSTER (NOT AVAILABLE)
51433-MC7-003
Unavailable
27
SPRING, CLICK (NOT AVAILABLE)
51434-MC7-003
Unavailable
29
PISTON
51436-MC7-013
Unavailable
30
RING, PISTON
51437-MA0-771
Unavailable
31
PIPE, SEAT
51440-MC7-003
Unavailable
32
RUBBER, STOPPER
51441-MC7-003
Unavailable
34
WASHER, R. SIDE | Use up to Frame SN 001961 This part replaces 51443-MC7-003.
51443-MC7-505
Unavailable
34
WASHER, R. SIDE (NOT AVAILABLE) | Use from Frame SN 001962
51443-MC7-013
Unavailable
34
WASHER, R. SIDE | Use up to Frame SN 001961
51443-MC7-505
Unavailable
35
WASHER B, SIDE | Use up to Frame SN 001961 This part replaces 51444-MC7-003.
51444-MC7-505
Unavailable
35
WASHER, L. SIDE (NOT AVAILABLE) | Use from Frame SN 001962
51444-MC7-013
Unavailable
38
BOLT ASSY., FR. FORK
51450-MC7-003
Unavailable
41
SHOCK ABSORBER ASSY., L. FR. (SHOWA) (NOT AVAILABLE) | Use up to Frame SN 000661 This part replaces 51500-MC7-003.
51500-MC7-670
Unavailable
41
SHOCK ABSORBER ASSY., L. FR. (SHOWA) (NOT AVAILABLE)
51500-MC7-670
Unavailable
42
CASE, L. (LOWER) | Use up to Frame SN 001961 This part replaces 51521-MC7-003.
51521-MC7-013
Unavailable
42
CASE, L. (LOWER) | Use up to Frame SN 001961
51521-MC7-013
Unavailable
42
CASE, L. (LOWER)
51521-MC7-013
Unavailable
43
CASE ASSY., L. PISTON (NOT AVAILABLE)
51530-MC7-013
Unavailable
44
BOLT, L. FR. FORK (NOT AVAILABLE)
51555-461-003
Unavailable
45
HOLDER, AXLE (NOT AVAILABLE)
51634-MC7-003
Unavailable
46
HOSE, FR. FORK JOINT (NOT AVAILABLE)
53137-MC7-003
Unavailable
47
CONNECTOR
53139-463-000
Unavailable
48
LABEL, FR. SHOCK CAUTION (NOT AVAILABLE)
87509-MC7-610
Unavailable
49
BOLT, STUD (8X53) (NOT AVAILABLE)
90102-MC7-003
Unavailable
51
BOLT, SOCKET (6X18) This part replaces 90118-MC7-003.
96700-06018-17
Unavailable
51
BOLT, SOCKET (6X18)
96700-06018-17
Unavailable
63
SCREW, PAN (4X10) | Use up to Frame SN 001961
93500-04010-1B
Unavailable
63
SCREW, FLAT (4X10) (NOT AVAILABLE) | Use from Frame SN 001962
93600-04010-1B
Unavailable
