- Partiron
- OEM Parts
- Honda
- MOTORCYCLE
- 1981
- CX500DA (81) DELUXE, JPN, VIN# JH2PC011-BM200011 TO JH2PC011-BM205030
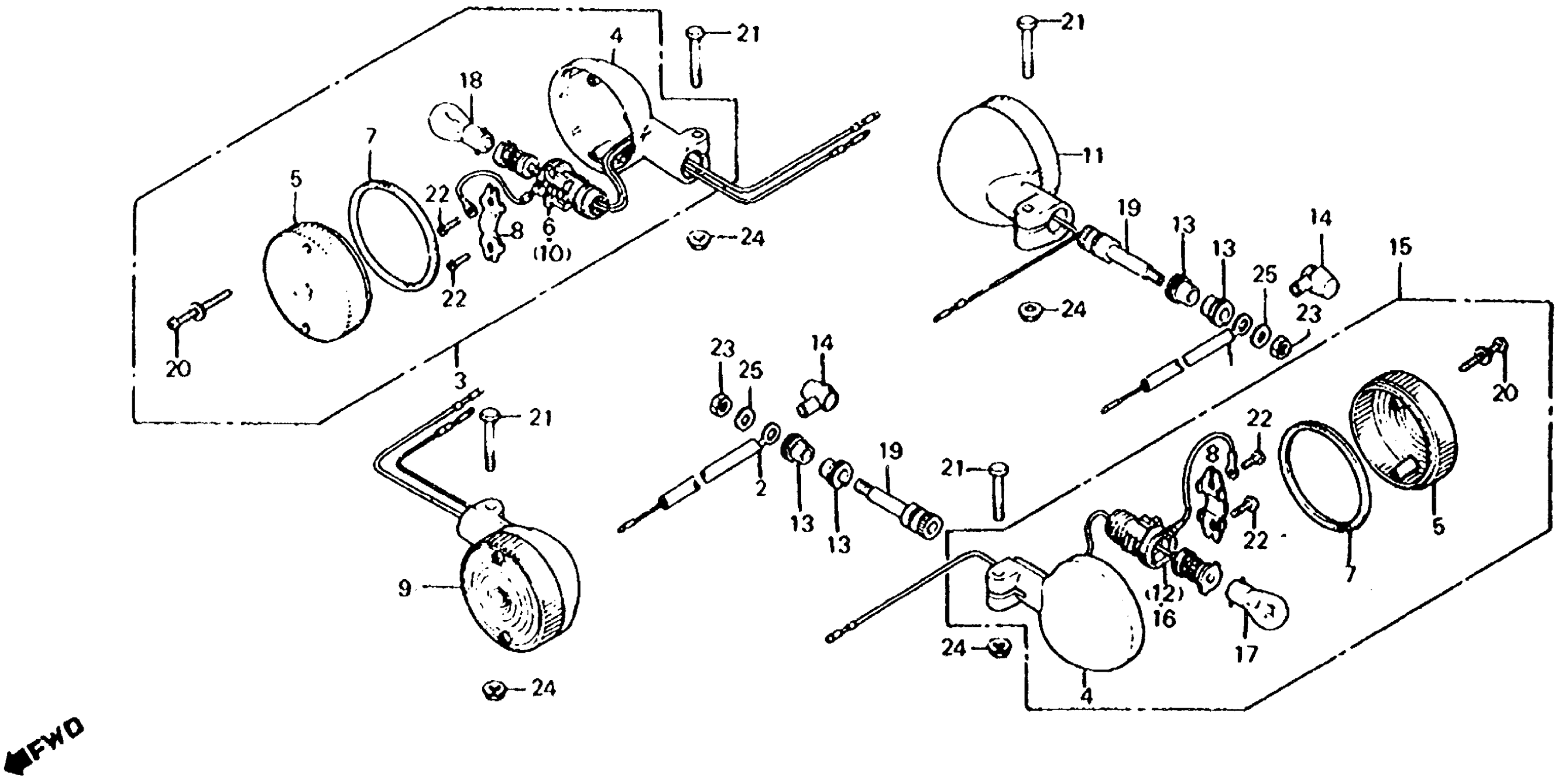
TURN SIGNAL
Honda CX500DA (81) DELUXE, JPN, VIN# JH2PC011-BM200011 TO JH2PC011-BM205030 TURN SIGNAL Diagram
#
Description
Price
1
SUB-WIRE A
32111-415-000
Unavailable
2
SUB-WIRE A (NOT AVAILABLE)
32111-415-880
Unavailable
3
TURN SIGNAL ASSY., R. FR. This part replaces 33400-377-671.
33400-461-679
Unavailable
3
TURN SIGNAL ASSY., R. FR. This part replaces 33400-461-670.
33400-461-679
Unavailable
3
TURN SIGNAL ASSY., R. FR.
33400-461-679
Unavailable
4
BASE, R. FR. TURN SIGNAL (NOT AVAILABLE)
33401-377-671
Unavailable
5
LENS, FR. TURN SIGNAL
33402-377-671
Unavailable
6
SOCKET, R. FR. TURN SIGNAL (NOT AVAILABLE) This part replaces 33405-377-671.
33405-461-670
Unavailable
7
GASKET, TURN SIGNAL LENS
33406-377-671
Unavailable
8
HOLDER, FR. TURN SIGNAL SOCKET (NOT AVAILABLE)
33407-377-671
Unavailable
9
TURN SIGNAL ASSY., R. FR. This part replaces 33400-377-671.
33400-461-679
Unavailable
9
TURN SIGNAL ASSY., R. FR. This part replaces 33400-461-670.
33400-461-679
Unavailable
9
TURN SIGNAL ASSY., R. FR.
33400-461-679
Unavailable
9
TURN SIGNAL ASSY., R. FR. This part replaces 33450-377-671.
33400-461-679
Unavailable
10
SOCKET, R. FR. TURN SIGNAL (NOT AVAILABLE) This part replaces 33455-377-671.
33405-461-670
Unavailable
11
TURN SIGNAL, R. RR. (NOT AVAILABLE)
33600-415-880
Unavailable
12
SOCKET, R. TURN SIGNAL (NOT AVAILABLE)
33605-415-880
Unavailable
13
RUBBER, RR. TURN SIGNAL MOUNT
33606-371-000
Unavailable
14
COVER, GROUND TERMINAL (NOT AVAILABLE) This part replaces 33625-415-000.
33625-449-000
Unavailable
15
TURN SIGNAL ASSY., L. RR. (NOT AVAILABLE)
33650-449-670
Unavailable
16
SOCKET, L. TURN SIGNAL (NOT AVAILABLE)
33660-449-670
Unavailable
18
BULB, STOP & TAILLIGHT (12V23/8W) (STANLEY) This part replaces 34901-504-003.
34906-313-671
$6.67
19
BOLT, RR. TURN SIGNAL
90155-415-770
Unavailable
21
BOLT, HEX. (6X35) This part replaces 93000-06035-0B.
93101-06035-0B
Unavailable
21
BOLT, HEX. (6X35)
93101-06035-0B
Unavailable
