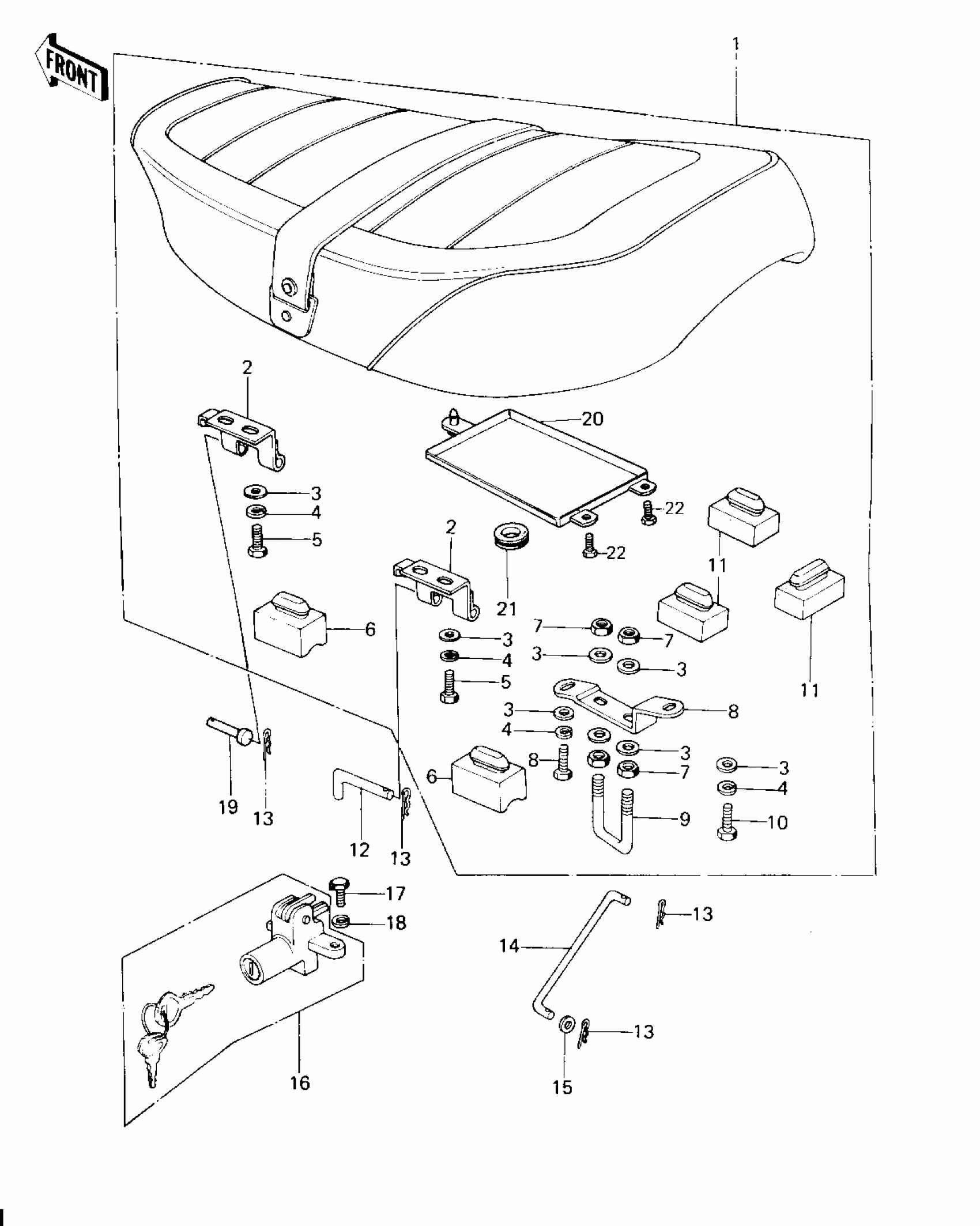
Kawasaki Custom SEAT Diagram
#
Description
Price
1
SEAT-ASSY,DUAL,W/BAND
53001-1194
Unavailable
1
SEAT-ASSY,DUAL,W/BAND
53001-1194
Unavailable
2
HINGE,FRONT
53009-031
Unavailable
6
DAMPER RUBBER-SEAT
92075-156
Unavailable
8
BRACKET,SEAT CATCH
53058-004
Unavailable
10
BOLT-UPSET 6X14
112B0614
Unavailable
12
PIN,DUAL SEAT PIVOT
53011-008
Unavailable
14
STOPPER,SEAT
53054-006
Unavailable
16
LOCK-ASSY,SEAT
27016-5010
Unavailable
16
LOCK-ASSY,SEAT
27016-5010
Unavailable
