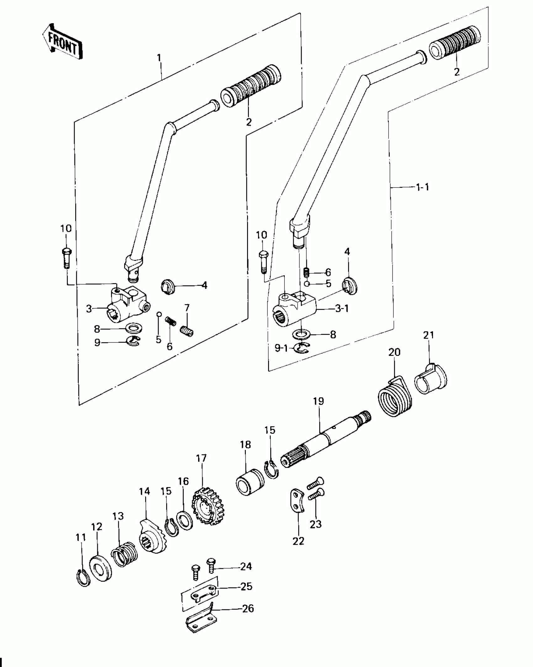
Kawasaki Custom KICKSTARTER MECHANISM Diagram
#
Description
Price
1
PEDAL ASSY,KICK
13064-1005
Unavailable
1-1
PEDAL ASSY,KICK
13064-1005
Unavailable
3
BOSS,KICK PEDAL
13061-1002
Unavailable
3-1
BOSS,KICK
13061-1008
Unavailable
6
SPRING
92081-154
Unavailable
7
PLUG,B,KICKSTARTER
92066-061
Unavailable
10
BOLT-HEX HEAD,6X32
110N0632
Unavailable
12
CAP,KICKSTARTER
92102-008
Unavailable
14
RATCHET,KICK SHAFT
13078-011
Unavailable
17
GEAR,KICKSTARTER,20T
13068-035
Unavailable
19
SHAFT,KICKSTARTER
13066-045
Unavailable
20
SPRING,KICK RETURN
92082-006
Unavailable
21
GUIDE,KICK SPRING
13070-009
Unavailable
22
PLATE-DRUM LEV POSTON
13169-007
Unavailable
25
WASHER,LOCK,6MM
92024-075
Unavailable
26
STOPPER,KICKSTARTER
13072-018
Unavailable
