Partiron

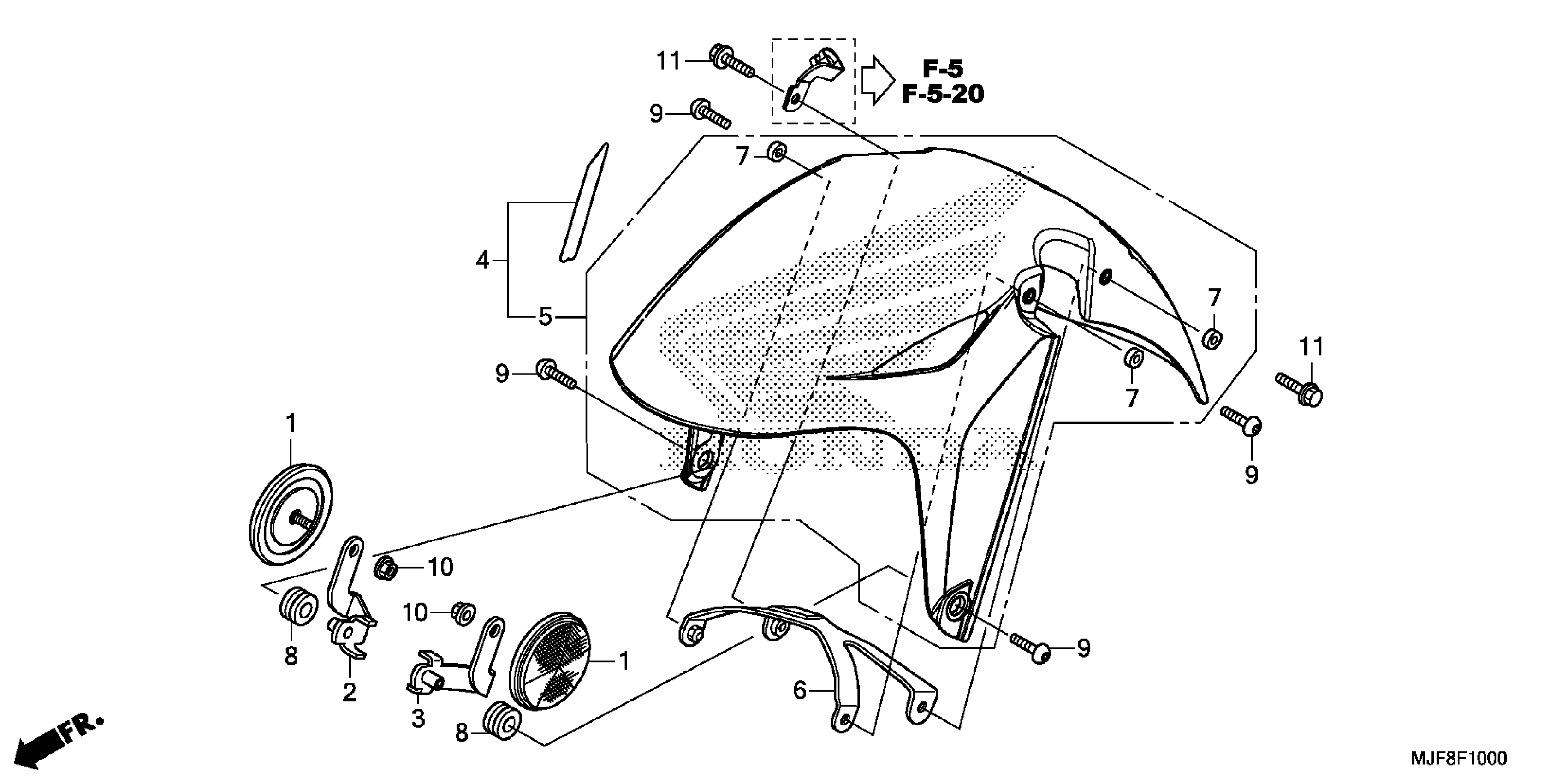
Honda CTX700NDAC (18) MOTORCYCLE, JPN, VIN# JH2RC685-JK300001 FRONT FENDER Diagram

#

Description
Price

1

REFLECTOR, FR. REFLEX (AMBER)

33741-KAK-971

$9.18

2

STAY, R. FR. REFLECTOR

33742-MGS-R80

$10.48

3

STAY, L. FR. REFLECTOR

33743-MGS-R80

$10.48

4

FENDER SET, FR. (TYPE1) (WL)

61000-MJF-A00ZF

$205.80

6

BRACE, FR. FENDER

61101-MGS-D30

$24.48

7

COLLAR, FR. FENDER

61102-MGS-D30

$1.49

8

RUBBER, RR. FENDER CUSHION (FR.)

80101-165-000

$3.74

9

SCREW, PAN (6X20)

90118-MEL-000

$1.95

10

NUT, U (6MM) NUT, FLANGE (6MM)

90301-473-003

$4.07

11

BOLT, FLANGE (6X22)

96001-06022-07

$1.85