- Partiron
- OEM Parts
- Honda
- MOTORCYCLE
- 2015
- CTX700A (15) CTX700, JPN, VIN# JH2RC690-FK100001
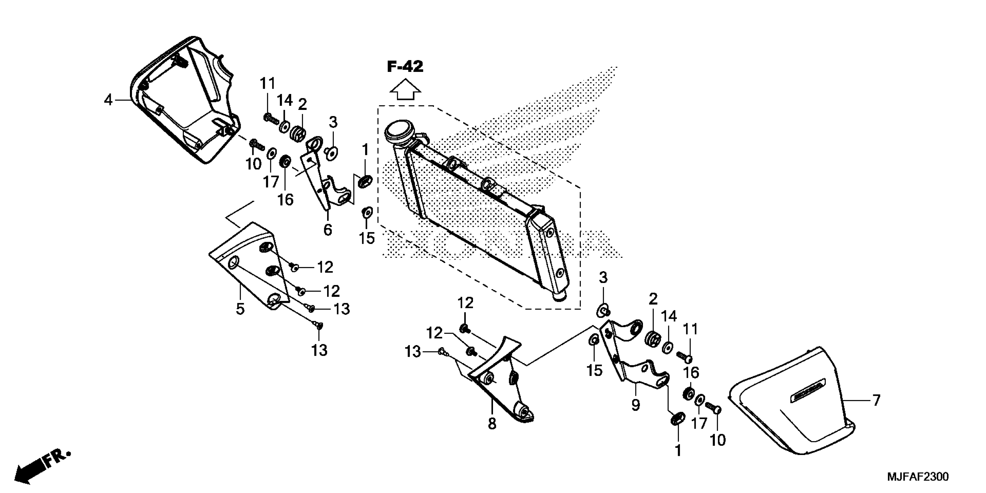
RADIATOR COVER
Honda CTX700A (15) CTX700, JPN, VIN# JH2RC690-FK100001 RADIATOR COVER Diagram
#
Description
Price
RADIATOR COVER
#
Edit ride
