- Partiron
- OEM Parts
- Honda
- MOTORCYCLE
- 2023
- CT125AAC (23) MOTORCYCLE, THA, VIN# MLHJA655-P5000001 TO MLHJA655-P5099999
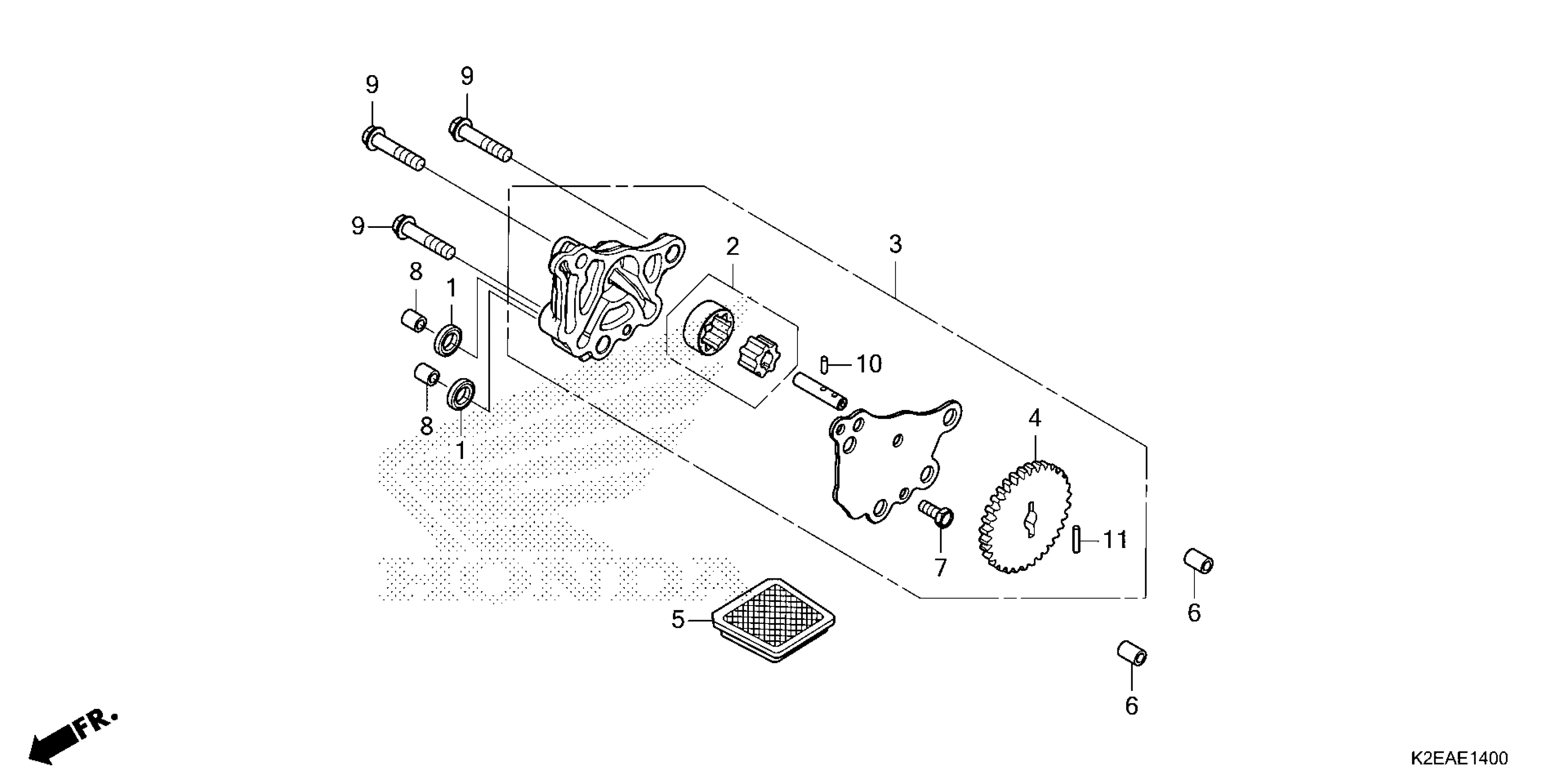
OIL PUMP
Honda CT125AAC (23) MOTORCYCLE, THA, VIN# MLHJA655-P5000001 TO MLHJA655-P5099999 OIL PUMP Diagram
#
Description
Price
