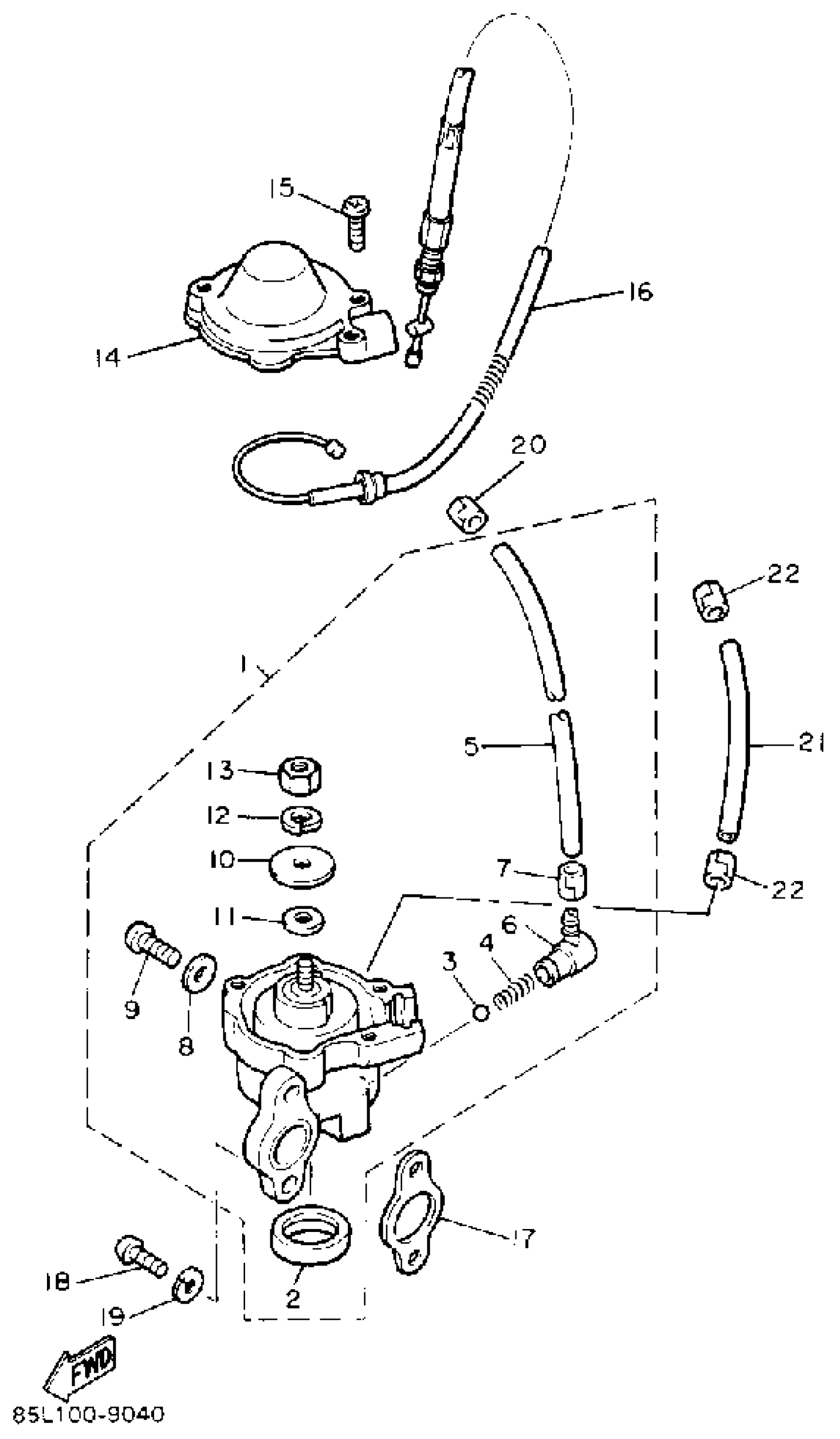
Yamaha CS340P (OVATION) 1990 OIL PUMP Diagram
#
Description
Price
1
OIL PUMP ASSEMBLY
85L-13101-00-00
Unavailable
2
. PLUG
90338-21100-00
Unavailable
5
HOSE
91A30-03052-00
Unavailable
9
SCREW, BIND
98980-04008-00
Unavailable
10
PLATE, ADJUSTING
137-13138-01-00
Unavailable
14
COVER, ADJUST PULLEY
8A5-13146-01-00
Unavailable
15
SCREW, PAN HEAD
98507-04018-00
Unavailable
16
PUMP CABLE ASSY
85L-26320-00-00
Unavailable
17
GASKET, PUMP CASE
126-13116-01-00
Unavailable
18
SCREW, PAN HEAD(6B0)
97885-05016-00
Unavailable
21
TUBE, FLEXIBLE VINYL(8AK)
91A30-05039-00
Unavailable
22
CLIP (8A1)
90467-09026-00
Unavailable
