Partiron

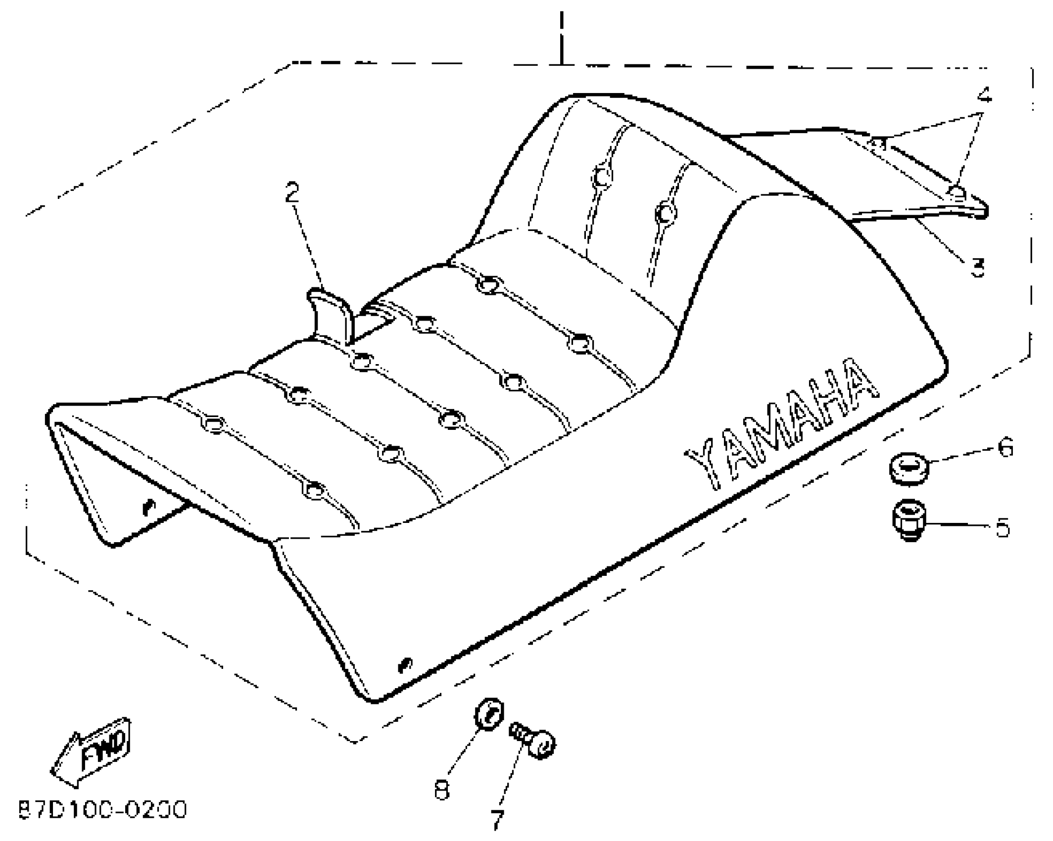
Yamaha CS340ET (OVATION LE) 1993 SEAT Diagram

#

Description
Price

1

SINGLE SEAT ASY

88E-24710-12-00

Unavailable

2

COVER,SEAT

88E-2470F-11-00

Unavailable

3

HOOK, SEAT

87E-24754-00-00

$15.49

4

. COVER, LUGGAGE BOX 2

85N-77377-00-00

Unavailable

5

NUT, NYLON

95717-08300-00

$2.70

6

WASHER, PLATE (4W3)

90201-086A3-00

$8.49

7

SCREW, BINDING

98907-06016-00

$9.49

8

WASHER, PLATE(36Y)

90201-063J2-00

$5.60