Partiron

Yamaha CS340ET (OVATION LE) 1993 GENERATOR Diagram

#

Description
Price

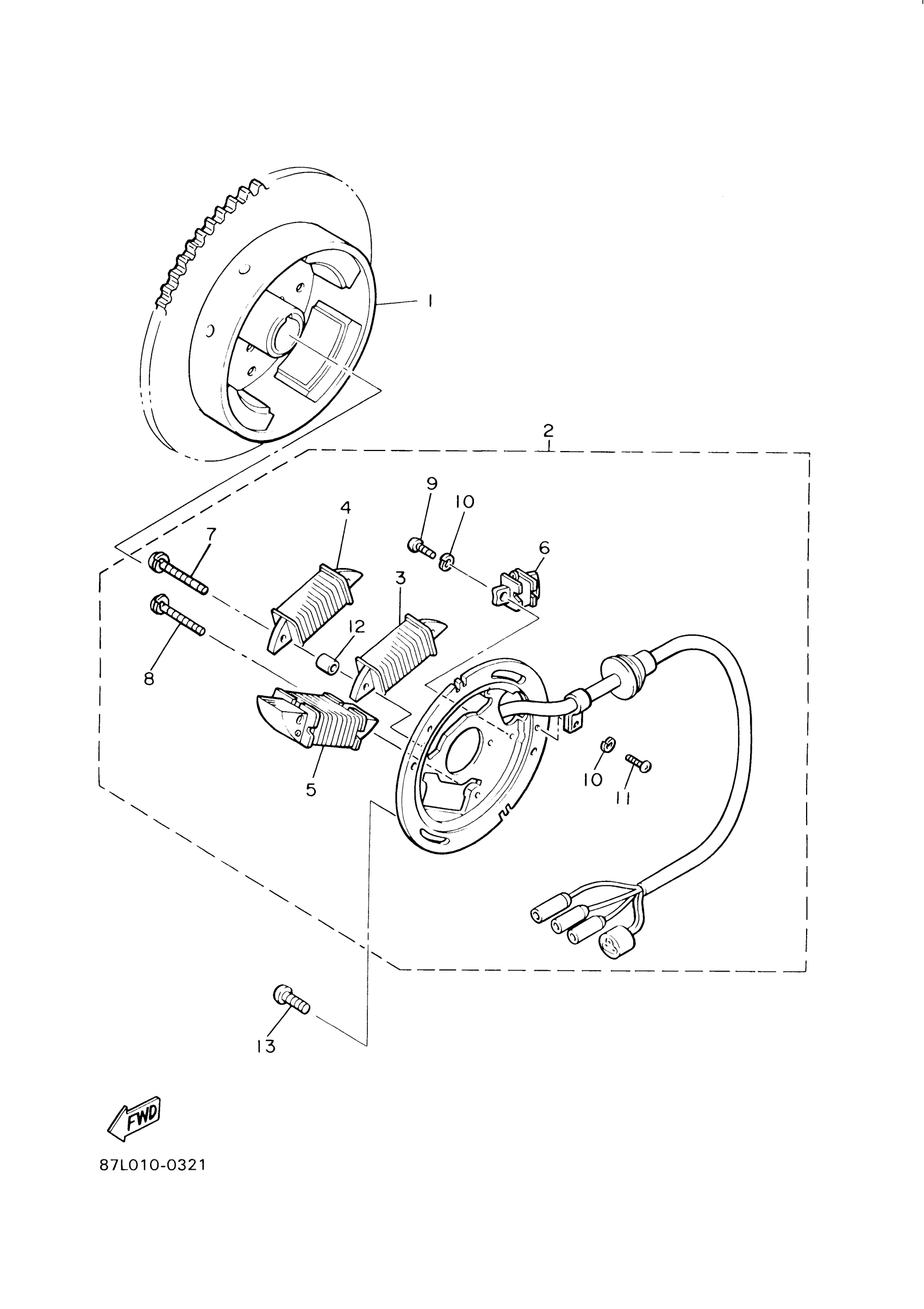
1

ROTOR ASSY

85N-85550-00-00

Unavailable

2

BASE ASSEMBLY

85L-85560-00-00

Unavailable

3

COIL, CHARGE

81L-85520-M0-00

Unavailable

4

COIL, LIGHTING 2

81L-81314-M0-00

Unavailable

5

COIL, LIGHTING 1

81L-81313-M0-00

$66.99

6

PULSER ASSY

8R4-85580-M0-00

Unavailable

7

SCREW, WITH WASHER(81E)

90159-05129-00

$2.34

8

SCREW, WITH WASHER(81E)

90159-05130-00

$1.11

9

SCREW, PAN HEAD

98511-04012-00

Unavailable

10

YBS67-4 WASHER, SPRING

92990-04100-00

$0.86

11

SCREW, PAN HEAD (713)

98580-04008-00

$5.60

12

COLLAR (1M1)

90387-06553-00

$9.49

13

SCREW, PAN HEAD

98580-06016-00

Unavailable