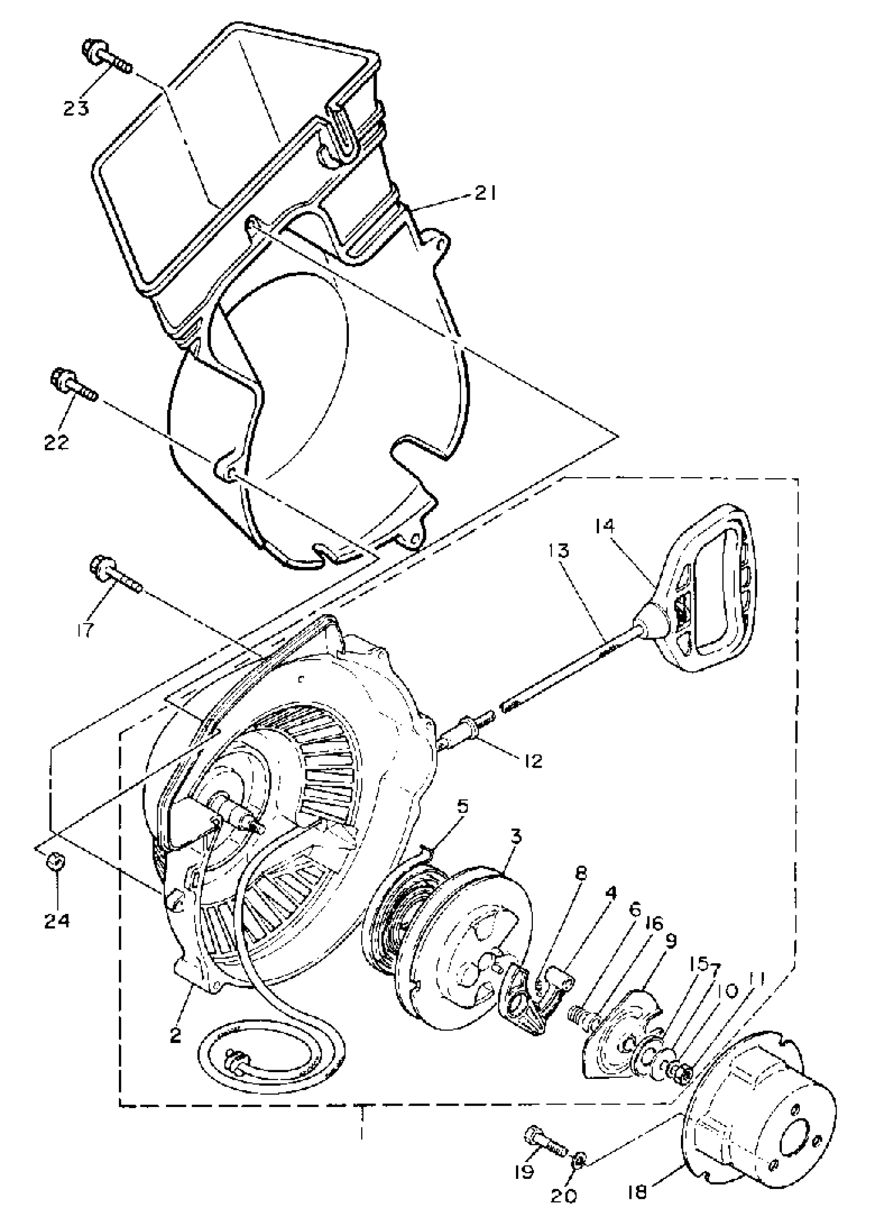
Yamaha CS340ES (OVATION LE) 1992 STARTER Diagram
#
Description
Price
1
STARTER ASSY
85L-15710-00-00
Unavailable
2
. CASE, STARTER
8G8-15711-01-00
Unavailable
10
WASHER, SPRING
92995-06100-00
Unavailable
16
COLLOR
82M-15779-00-00
Unavailable
17
BOLT, FLANGE
95817-06045-00
Unavailable
18
PULLEY, STARTER
81L-15723-00-00
Unavailable
19
BOLT, HEXAGON
97017-08016-00
Unavailable
20
YBS67-8 WASHER, SPRING
92990-08100-00
Unavailable
21
COVER
85L-15779-00-00
Unavailable
22
BOLT, FLANGE
95817-06030-00
Unavailable
23
BOLT, FLANGE
95817-06030-00
Unavailable
24
NUT
90179-06447-00
Unavailable
