Partiron

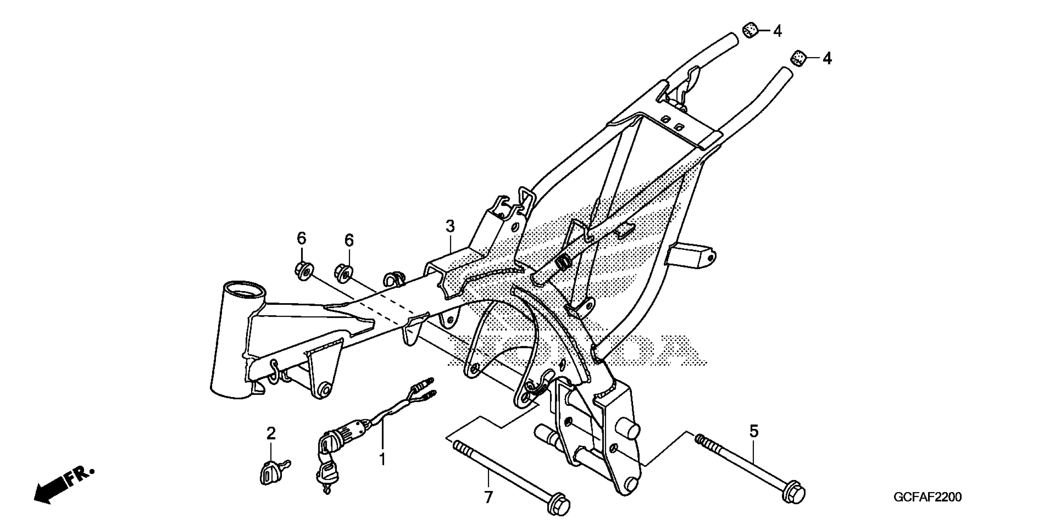
Honda CRF70FAC (12) CRF70F, JPN, VIN# JH2DE021-CK000001 FRAME Diagram

#

Description
Price

1

LOCK SET

35010-GCF-A20

$36.41

2

KEY, BLANK (TYPE1) (KEY NO. AXX / BXX) | (Optional).

35121-HF1-881

$9.59

2

KEY, BLANK (TYPE2) (KEY NO. CXX / DXX) | (Optional).

35122-HF1-881

$9.59

3

FRAME *NH146M* (ACCURATE SILVER METALLIC) | Extreme red R292R;

50100-GCF-930ZA

Unavailable

4

RUBBER, PIPE END

50351-GCF-670

$1.90

5

BOLT, RR. ENGINE (LOWER)

90116-GEL-A00

$5.84

6

NUT, FLANGE (8MM)

94050-08000

$1.49

7

BOLT, FLANGE (8X110)

95801-08110-00

$2.41