Partiron

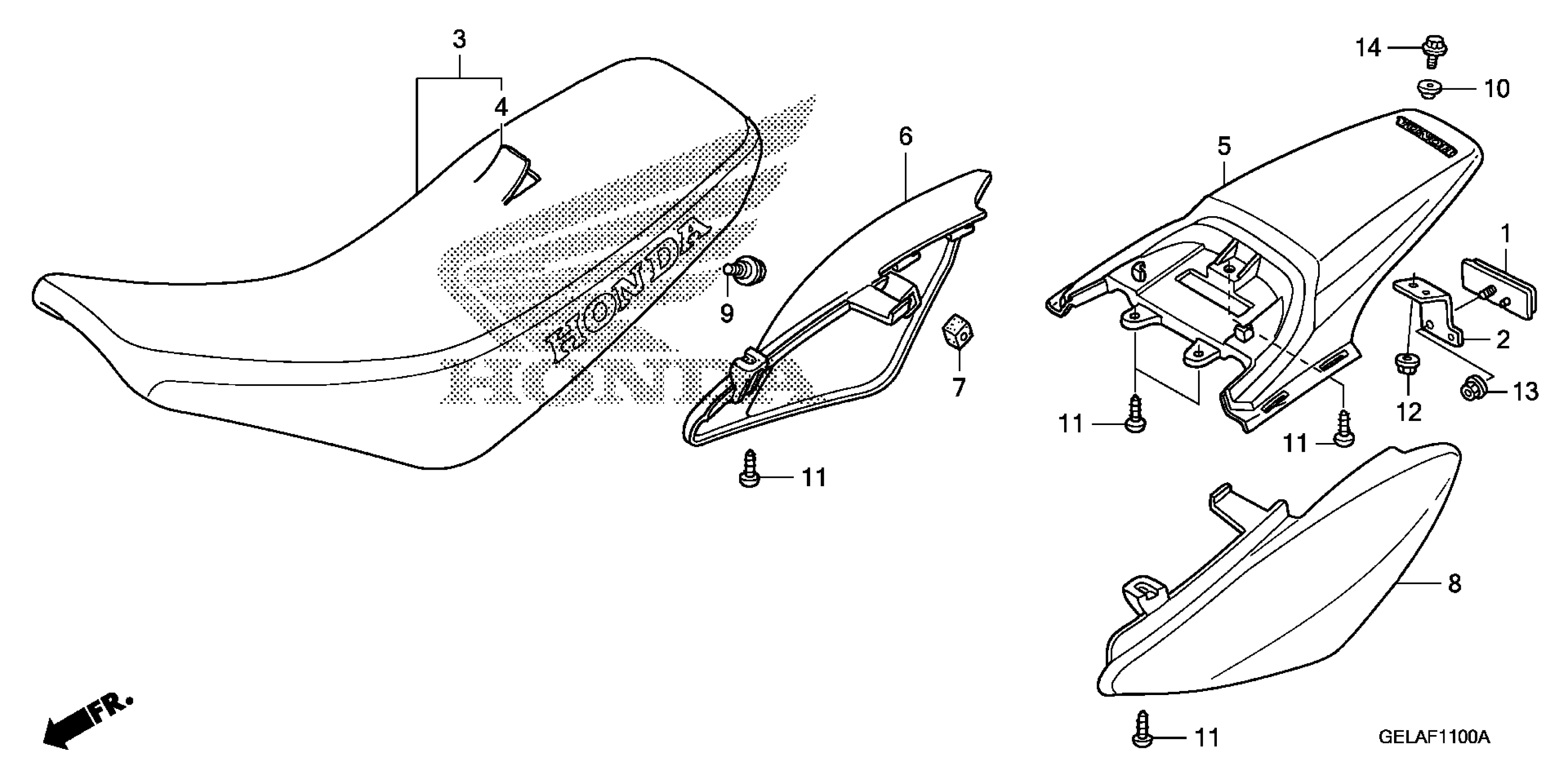
Honda CRF50FA (06) MOTORCYCLE, JPN, VIN# JH2AE030-6K600001 TO JH2AE030-6K699999 SEAT + REAR FENDER Diagram

#

Description
Price

3

SEAT, SINGLE This part replaces 77100-GEL-A00.

77100-GEL-A40

Unavailable

3

SEAT, SINGLE

77100-GEL-A40

Unavailable

4

LEATHER, SEAT (NO LETTERS PRINTED) This part replaces 77101-GEL-A00.

77101-GEL-A40

$47.07

4

LEATHER, SEAT (NO LETTERS PRINTED)

77101-GEL-A40

$47.07

5

FENDER SET, RR. (TYPE1) (WL) | Extreme red R292R;

80101-GEL-A00ZB

$37.70

6

COVER, R. SIDE *NH196* (ROSS WHITE) | Extreme red R292R;

83500-GEL-A00ZA

$30.70

7

RUBBER, SIDE COVER STOPPER

83515-KS7-830

$4.53

8

COVER, L. SIDE *NH196* (ROSS WHITE) | Extreme red R292R;

83600-GEL-A00ZA

$30.70

9

BOLT, FLANGE (6MM)

90111-147-000

$2.75

11

SCREW, TAPPING (5X16)

93903-25320

$1.49