- Partiron
- OEM Parts
- Honda
- MOTORCYCLE
- 2024
- CRF450XAC (24) MOTORCYCLE, JPN, VIN# JH2PE091-RK500001 TO JH2PE091-RK599999
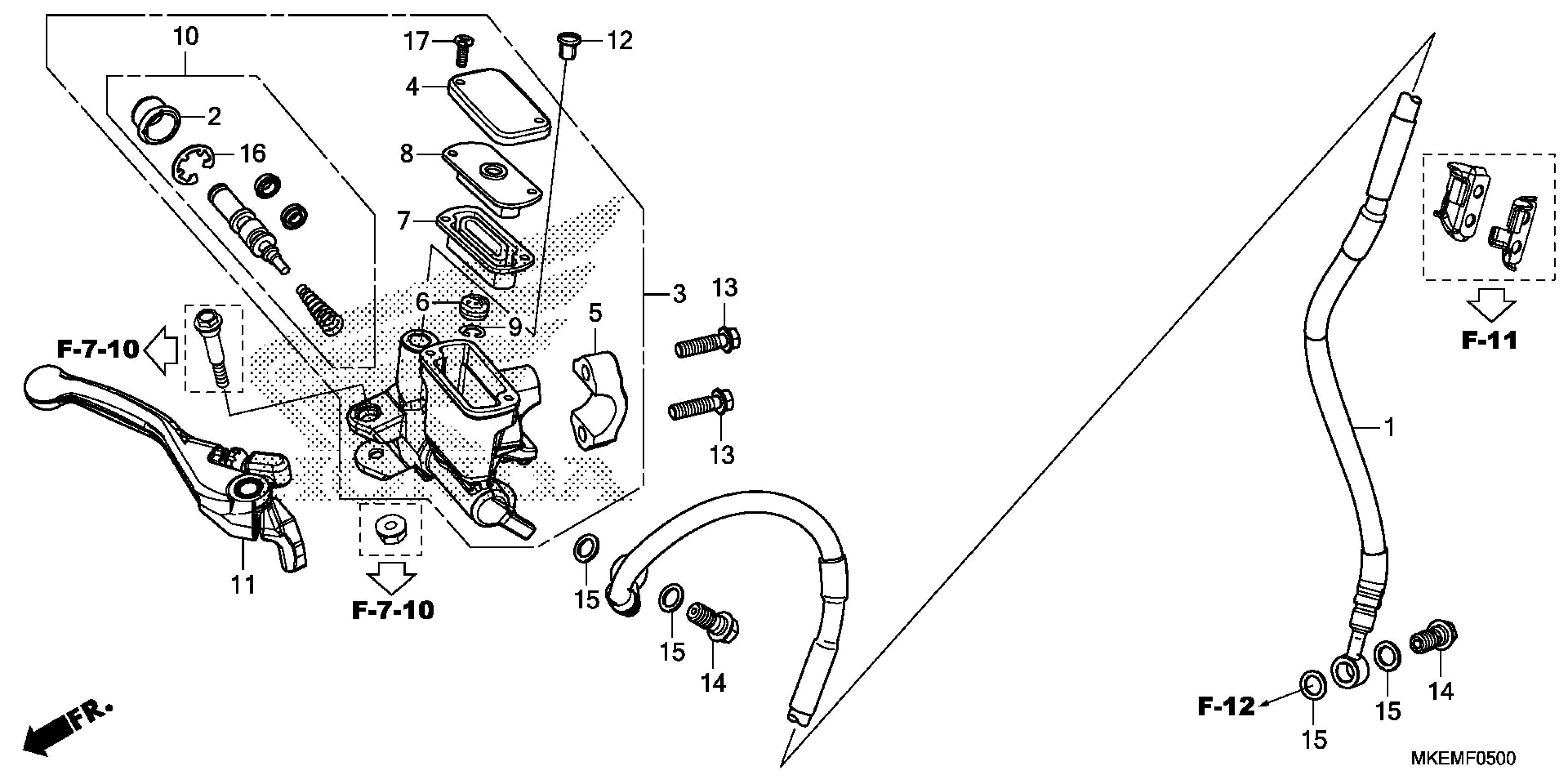
FRONT BRAKE MASTER CYLINDER
Honda CRF450XAC (24) MOTORCYCLE, JPN, VIN# JH2PE091-RK500001 TO JH2PE091-RK599999 FRONT BRAKE MASTER CYLINDER Diagram
#
Description
Price
