- Partiron
- OEM Parts
- Honda
- MOTORCYCLE
- 2017
- CRF450XAC (17) CRF450X, JPN, VIN# JH2PE061-HK700001
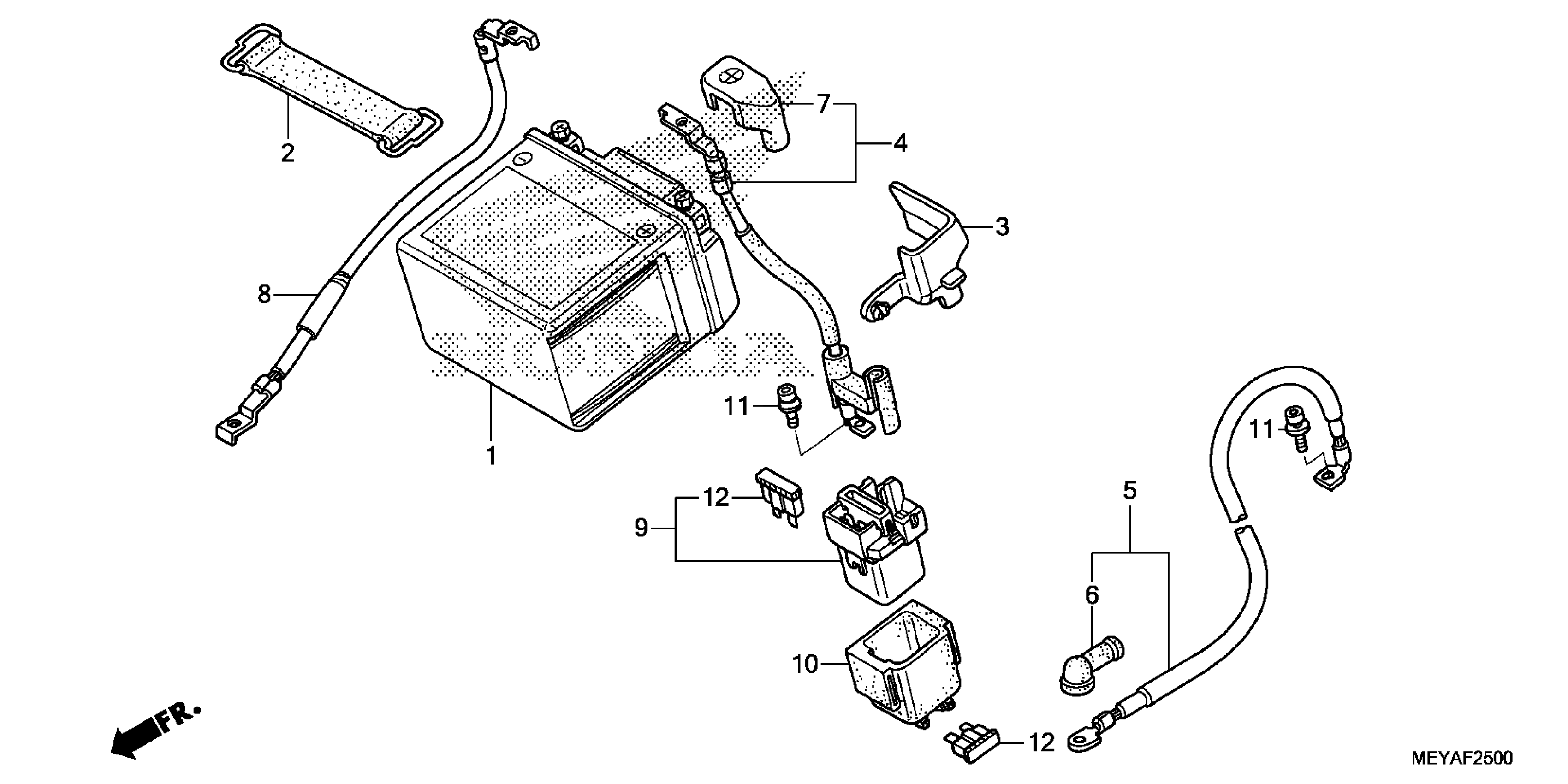
BATTERY
Honda CRF450XAC (17) CRF450X, JPN, VIN# JH2PE061-HK700001 BATTERY Diagram
#
Description
Price
BATTERY
#
Edit ride
