- Partiron
- OEM Parts
- Honda
- MOTORCYCLE
- 2026
- CRF450RAC (26) MOTORCYCLE, JPN, VIN# JH2PE073-TK900001 TO JH2PE073-TK999999
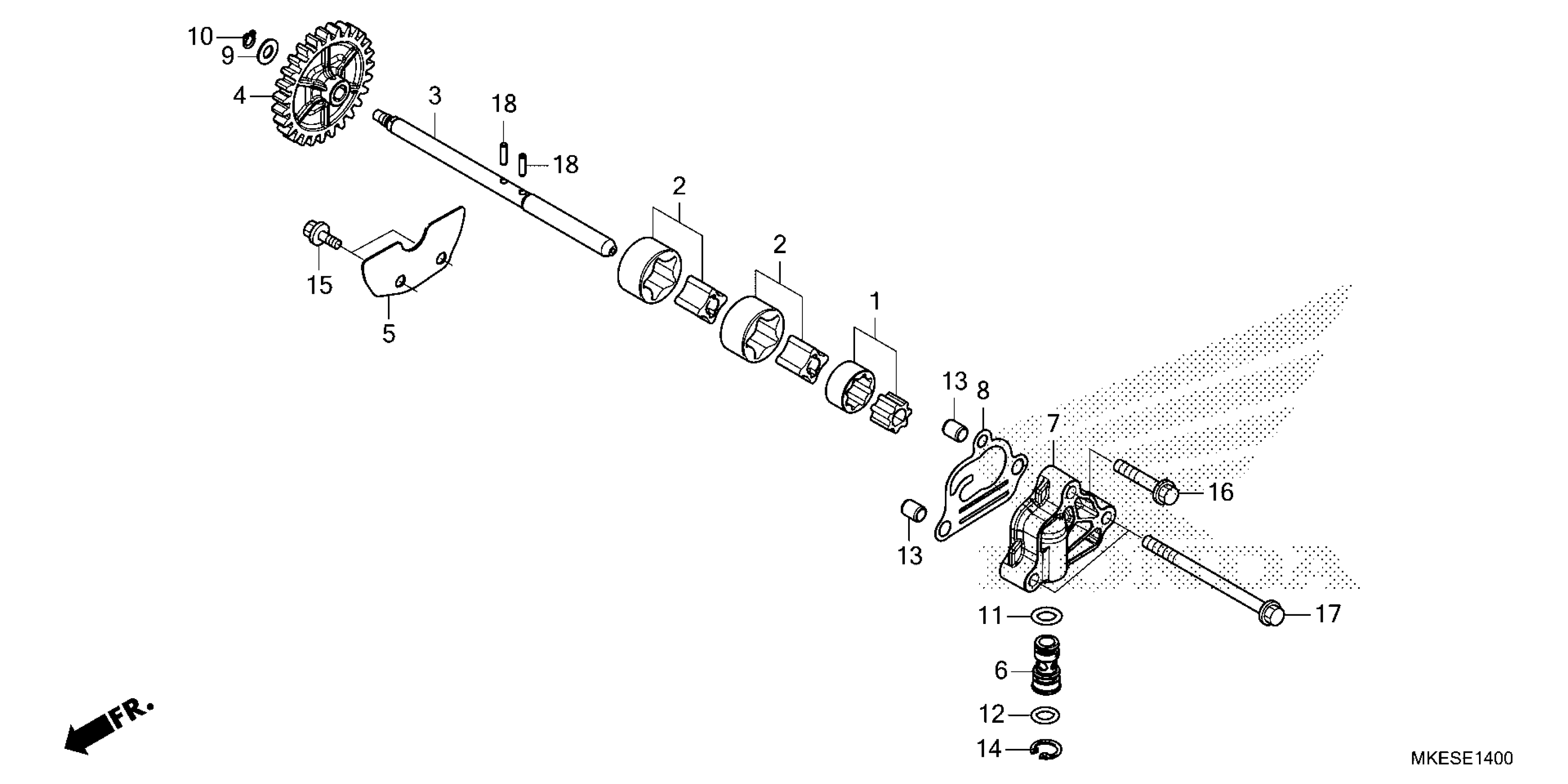
OIL PUMP
Honda CRF450RAC (26) MOTORCYCLE, JPN, VIN# JH2PE073-TK900001 TO JH2PE073-TK999999 OIL PUMP Diagram
#
Description
Price
