Partiron

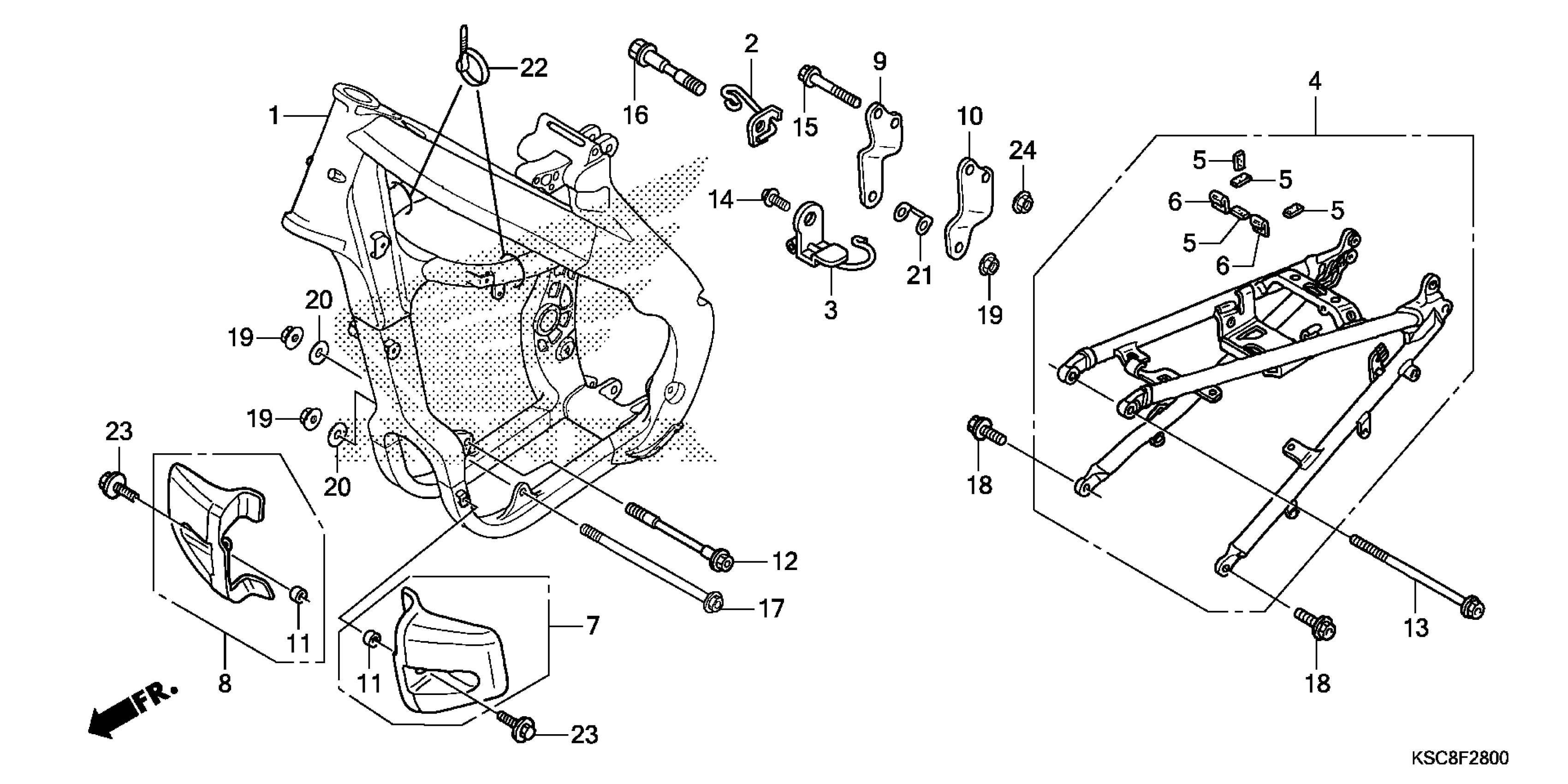
Honda CRF250XA (17) CRF250X, JPN, VIN# JH2ME110-HK100001 FRAME Diagram

#

Description
Price

1

FRAME

50100-KSC-A10

$1,640.72

2

GUIDE, CLUTCH CABLE

50170-KSC-A20

$11.67

3

CLIP, FUEL TUBE

50197-KRN-000

$5.34

4

FRAME, RR.

50200-KSC-730

$709.80

5

RUBBER, BATTERY

50283-KSC-300

$1.49

6

RUBBER, SEAT RAIL

50283-MR7-300

$2.92

7

GUARD, L. ENGINE

50360-KRN-A10

$15.11

8

GUARD, R. ENGINE

50370-KSC-000

$9.29

9

BRACKET, R. HEAD HANGER

50407-KRN-730

$22.31

10

BRACKET, L. HEAD HANGER

50408-KRN-730

$21.04

11

COLLAR (6X4)

52156-353-300

$6.32

12

BOLT, FLANGE (10X117)

90101-KSC-000

$7.72

13

BOLT, FLANGE (8X125)

90105-KRN-000

$5.03

14

BOLT, FLANGE (5X12)

90106-KRN-000

$1.49

15

BOLT, FLANGE (8X55)

90107-KRN-000

$2.46

16

BOLT, FLANGE (10X58)

90109-KSC-000

$6.80

17

BOLT, FLANGE (10X138)

90116-KW3-000

$13.75

18

BOLT, FLANGE (10X26)

90122-KRN-000

$2.46

19

NUT, FLANGE (10MM)

90302-KZ3-J40

$2.72

20

WASHER (10MM)

90410-HC4-000

$3.81

21

WASHER, HEAD HANGER PLATE

90511-KRN-000

$5.26

22

BAND, WIRE (165MM) (BLACK)

90651-KV6-003

$2.92

23

BOLT-WASHER (6X14)

93404-06014-00

$1.49

24

NUT, FLANGE (8MM)

94050-08000

$1.49