- Partiron
- OEM Parts
- Honda
- MOTORCYCLE
- 2016
- CRF250LAC (16) MOTORCYCLE, THA, VIN# MLHMD381-G5300001
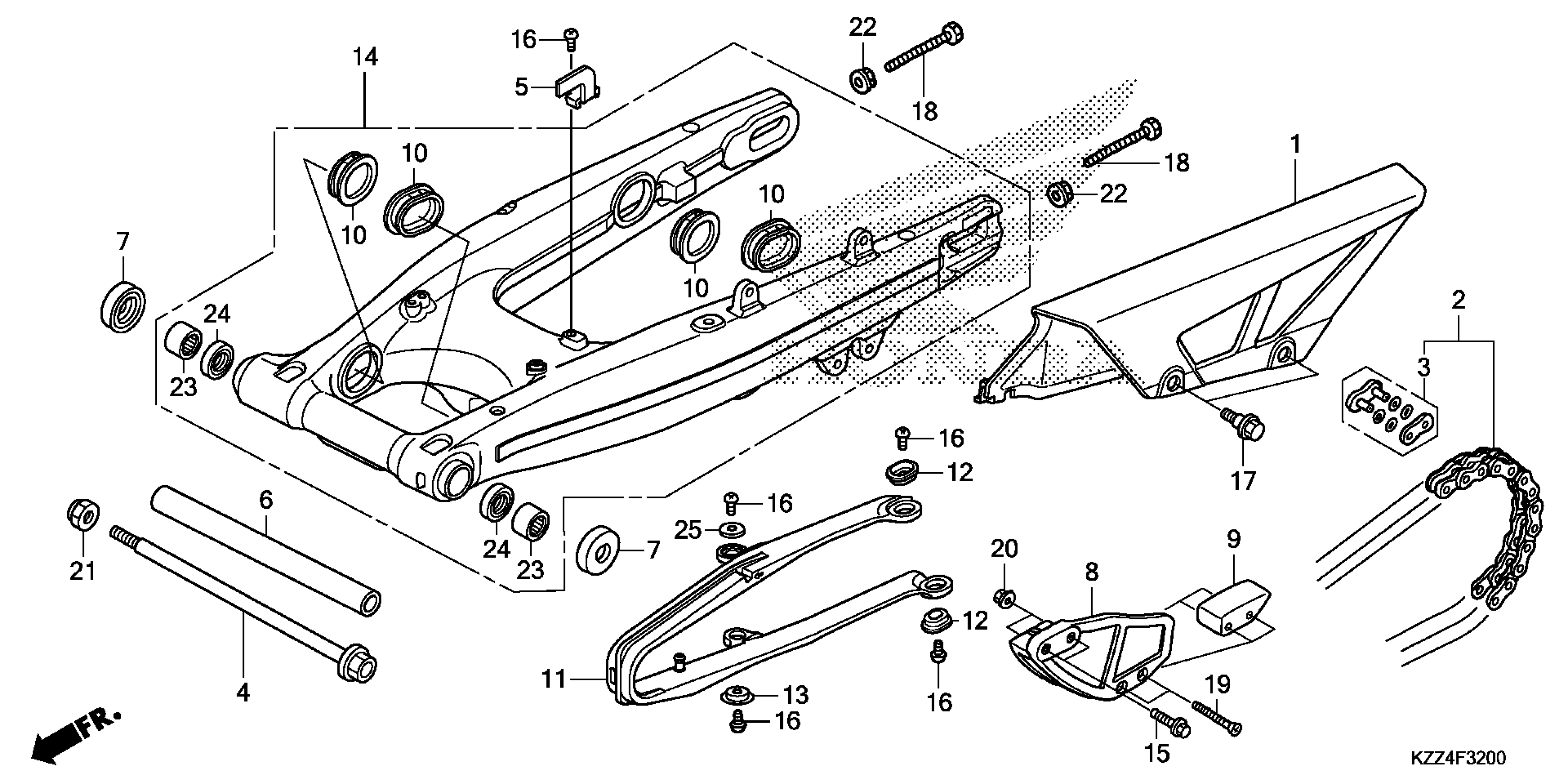
SWINGARM
Honda CRF250LAC (16) MOTORCYCLE, THA, VIN# MLHMD381-G5300001 SWINGARM Diagram
#
Description
Price
SWINGARM
#
Edit ride
