- Partiron
- OEM Parts
- Honda
- MOTORCYCLE
- 2013
- CRF250LAC (13) MOTORCYCLE, THA, VIN# MLHMD381-D5000001 TO MLHMD381-D5099999
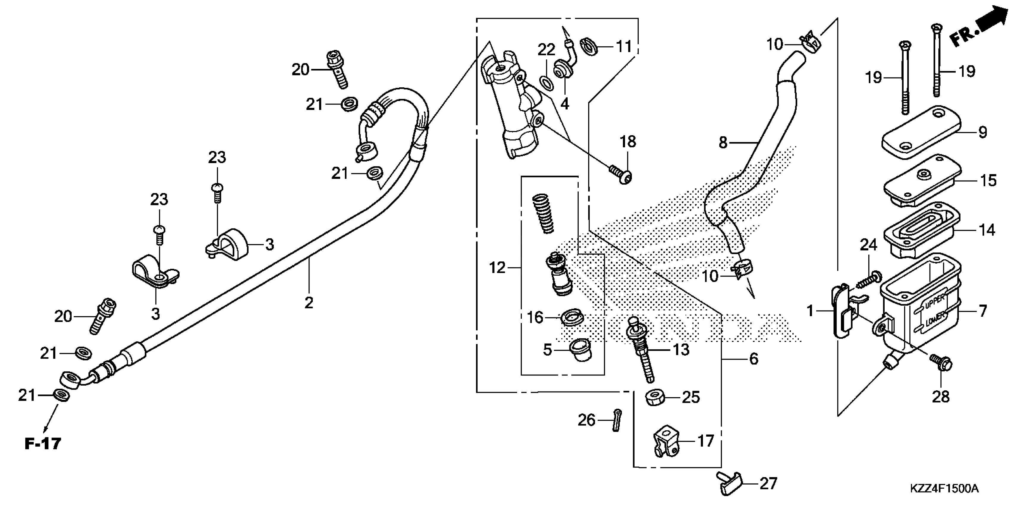
REAR BRAKE MASTER CYLINDER
Honda CRF250LAC (13) MOTORCYCLE, THA, VIN# MLHMD381-D5000001 TO MLHMD381-D5099999 REAR BRAKE MASTER CYLINDER Diagram
#
Description
Price
