- Partiron
- OEM Parts
- Honda
- MOTORCYCLE
- 2019
- CRF230FAC (19) MOTORCYCLE, BRA, VIN# 9C2ME09C-KR100001
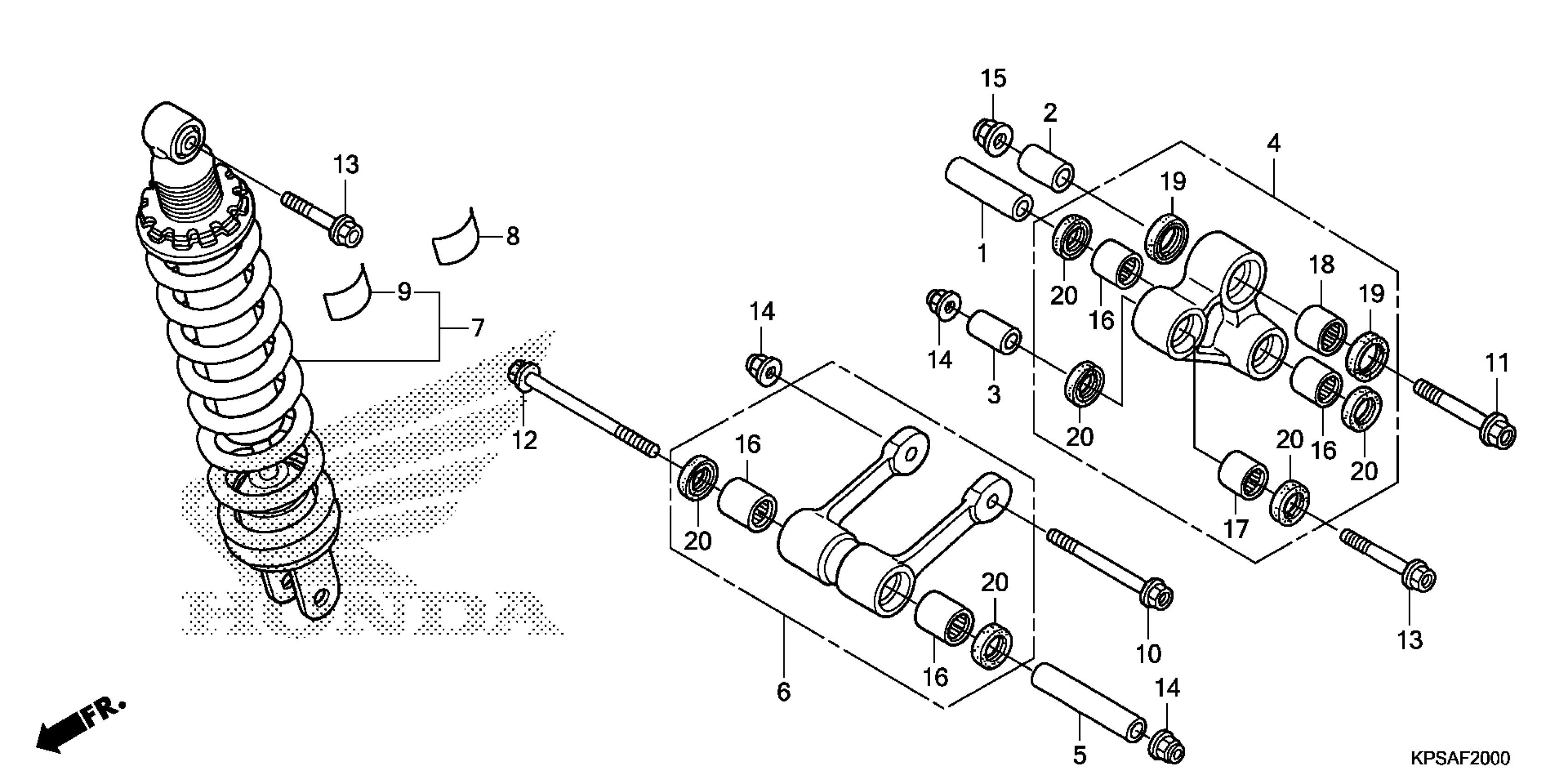
REAR SHOCK ABSORBER
Honda CRF230FAC (19) MOTORCYCLE, BRA, VIN# 9C2ME09C-KR100001 REAR SHOCK ABSORBER Diagram
#
Description
Price
REAR SHOCK ABSORBER
#
Edit ride
