- Partiron
- OEM Parts
- Honda
- MOTORCYCLE
- 2008
- CRF230FA (08) MOTORCYCLE, BRA, VIN# 9C2ME090-8R000001 TO 9C2ME090-8R099999
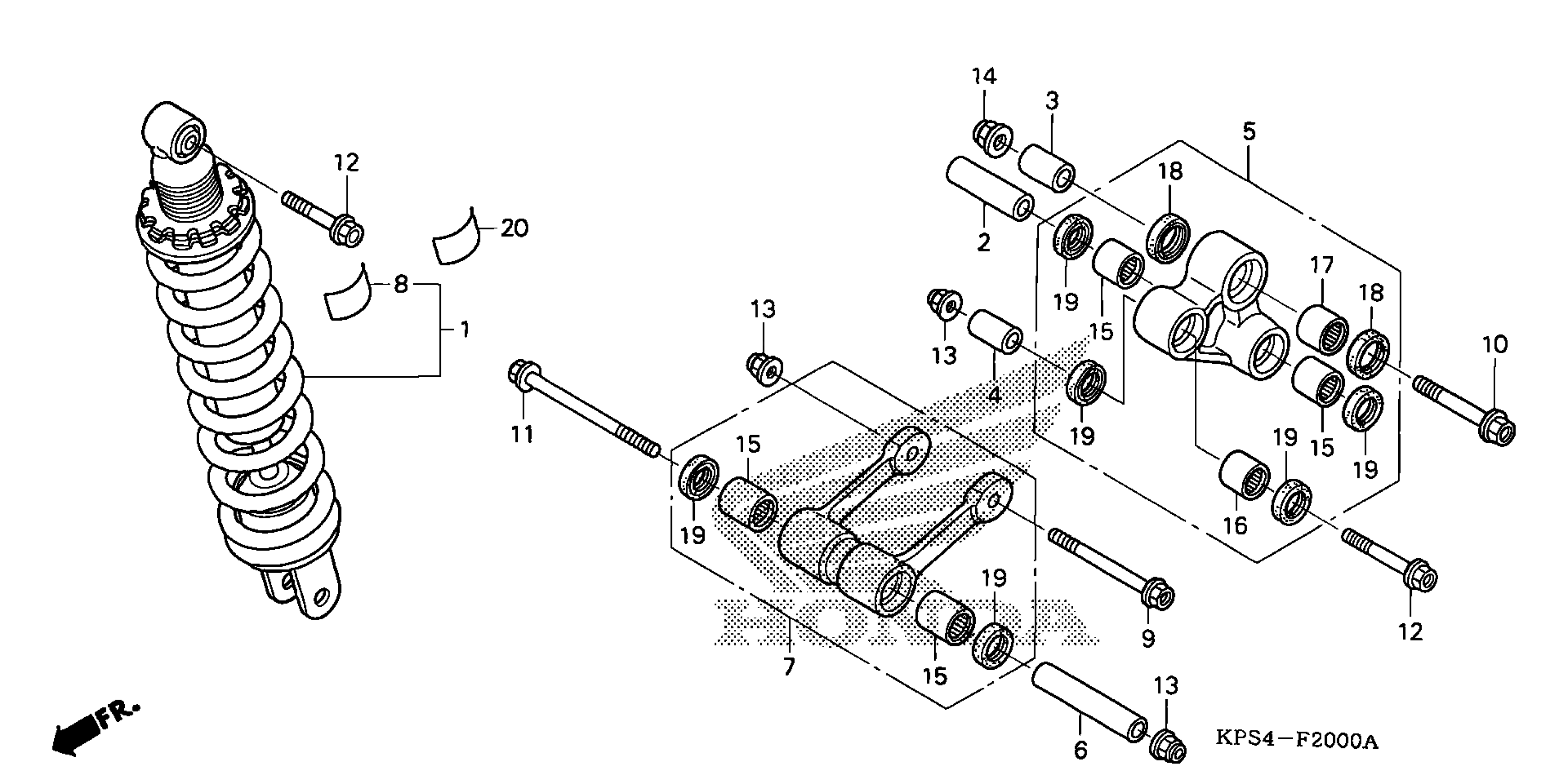
REAR SHOCK ABSORBER
Honda CRF230FA (08) MOTORCYCLE, BRA, VIN# 9C2ME090-8R000001 TO 9C2ME090-8R099999 REAR SHOCK ABSORBER Diagram
#
Description
Price
1
CUSHION ASSY., RR. This part replaces 52400-KPS-901.
52400-KPS-901ZA
Unavailable
1
CUSHION ASSY., RR.
52400-KPS-901ZA
Unavailable
