Partiron

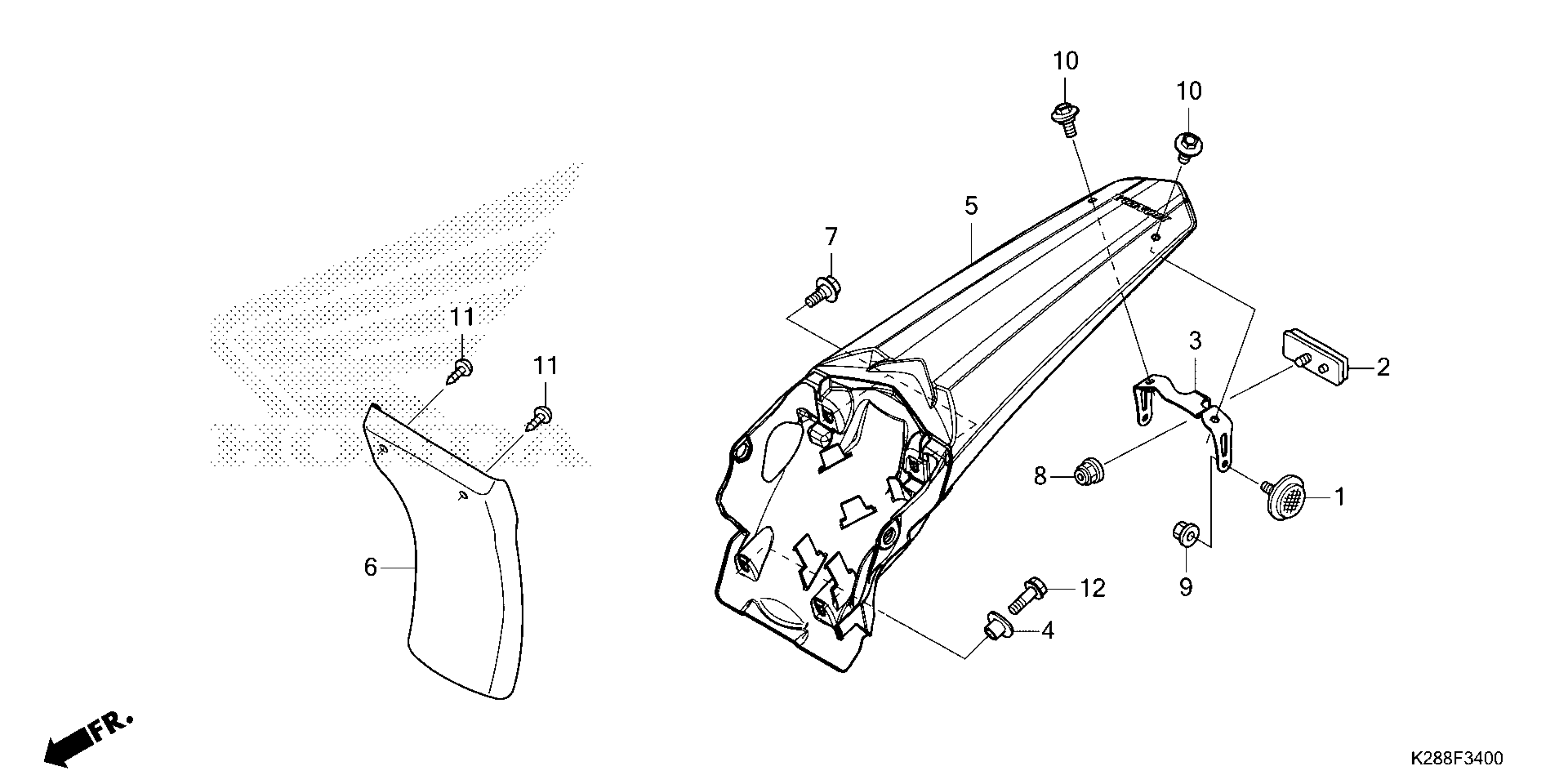
Honda CRF125FA (22) MOTORCYCLE, CHN, VIN# LALJE034-N3400001 TO LALJE034-N3499999 REAR FENDER Diagram

#

Description
Price

4

COLLAR, FR. FENDER MOUNT

61103-KYK-910

$2.49

5

FENDER SET, RR. (TYPE1) (WL)

80101-K28-A60ZA

$63.33

6

SPLASH GUARD, RR. FENDER

80106-K28-910

$20.18

7

BOLT, FLANGE (6MM)

90116-KRH-900

$2.54

11

SCREW, TAPPING (5X20)

93913-25580

$1.49

12

BOLT, FLANGE (6X18) BOLT, HEX. (6X18)

95701-06018-00

$1.62