- Partiron
- OEM Parts
- Honda
- MOTORCYCLE
- 2024
- CRF110FA (24) MOTORCYCLE, CHN, VIN# LALJE024-R3600001 TO LALJE024-R3699999
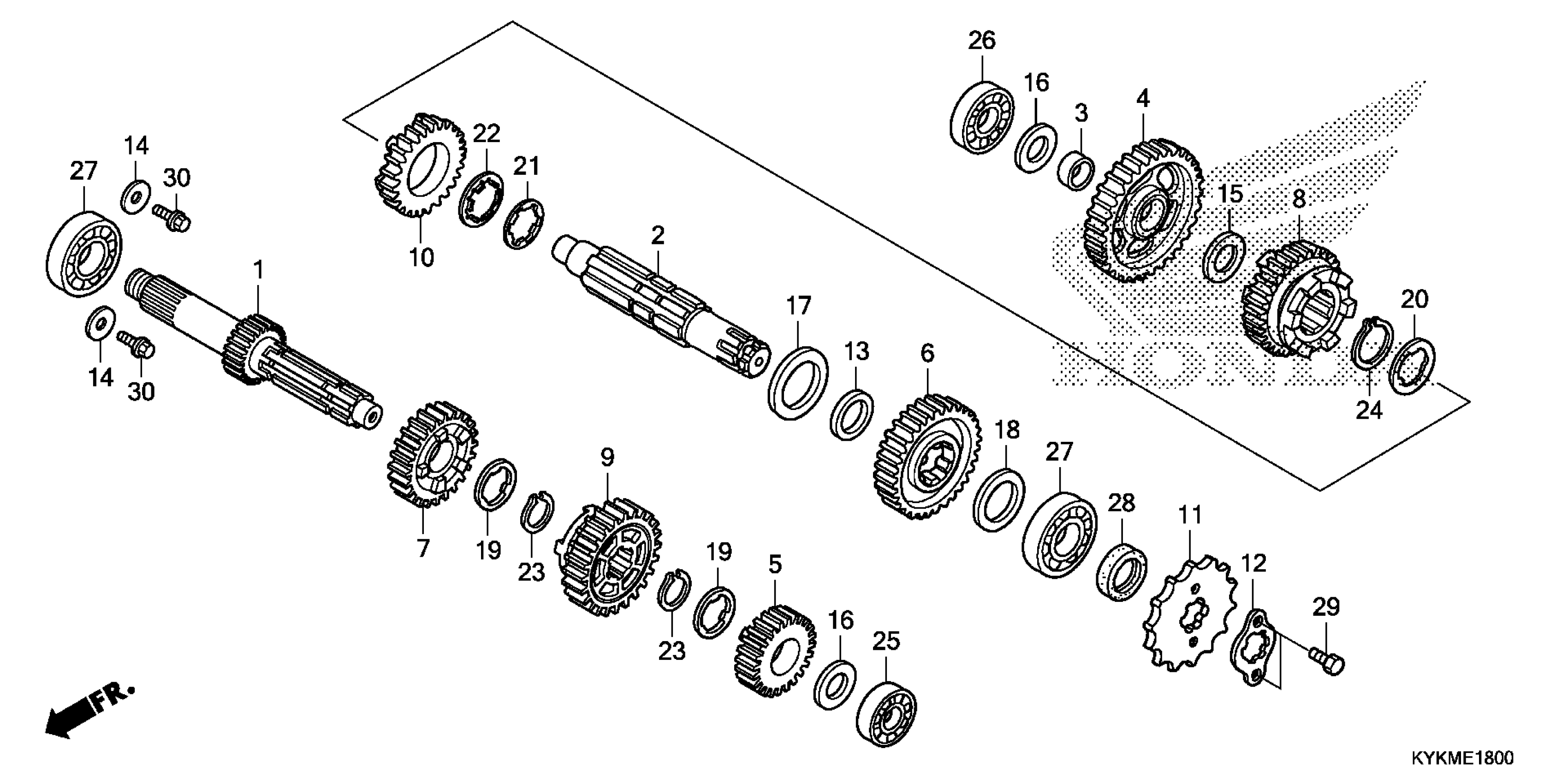
TRANSMISSION
Honda CRF110FA (24) MOTORCYCLE, CHN, VIN# LALJE024-R3600001 TO LALJE024-R3699999 TRANSMISSION Diagram
#
Description
Price
27
BEARING, RADIAL BALL (6203) (NA USE ALT:96100-62030-00)
91015-KZV-J01
Unavailable
