- Partiron
- OEM Parts
- Honda
- MOTORCYCLE
- 2022
- CRF1100D43AC (22) MOTORCYCLE, JPN, VIN# JH2SD104-NK200001
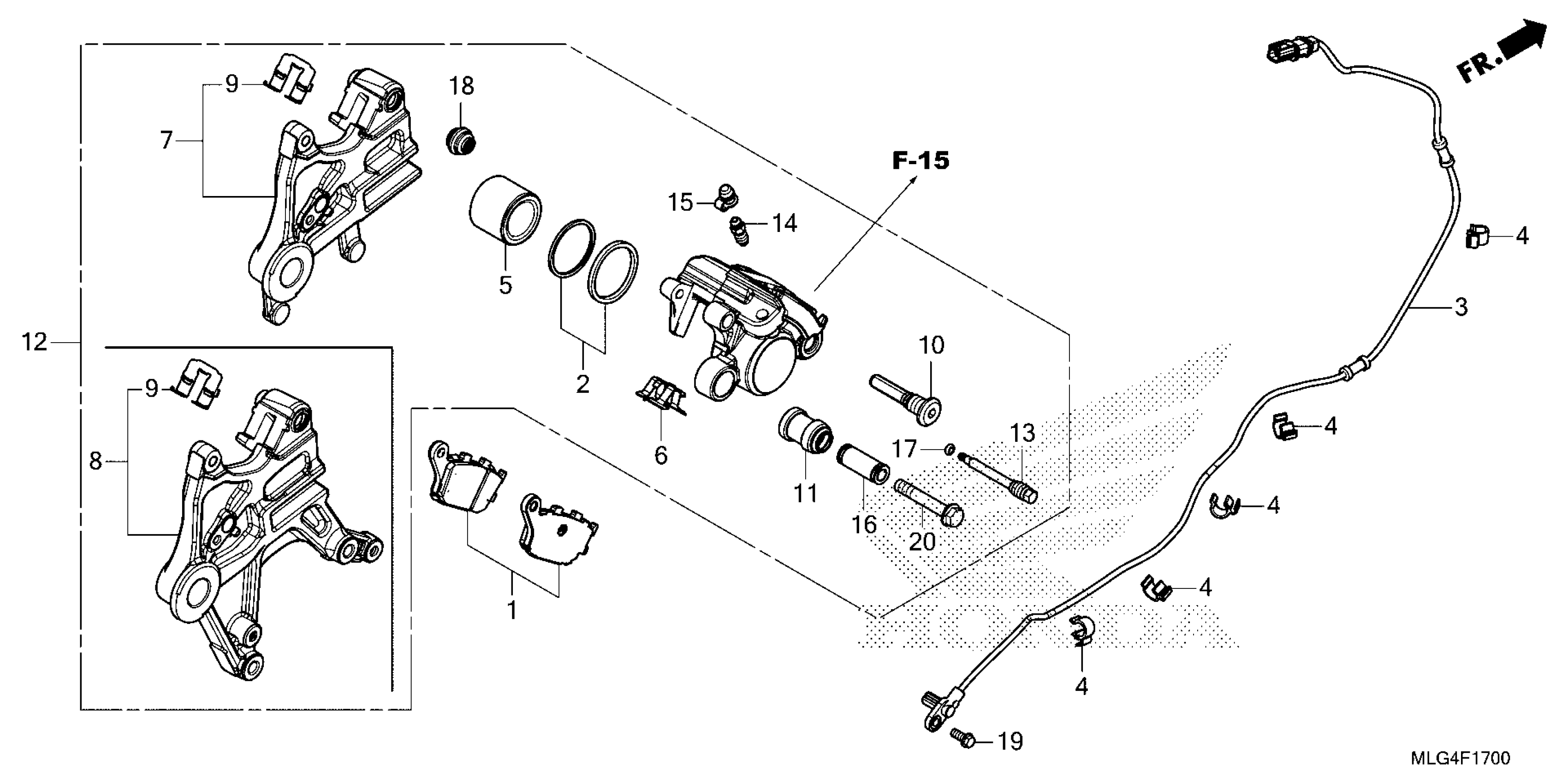
REAR BRAKE CALIPER
Honda CRF1100D43AC (22) MOTORCYCLE, JPN, VIN# JH2SD104-NK200001 REAR BRAKE CALIPER Diagram
#
Description
Price
REAR BRAKE CALIPER
#
Edit ride
