- Partiron
- OEM Parts
- Honda
- MOTORCYCLE
- 2004
- CRF100FA (04) MOTORCYCLE, JPN, VIN# JH2HE030-4K300001 TO JH2HE030-4K399999
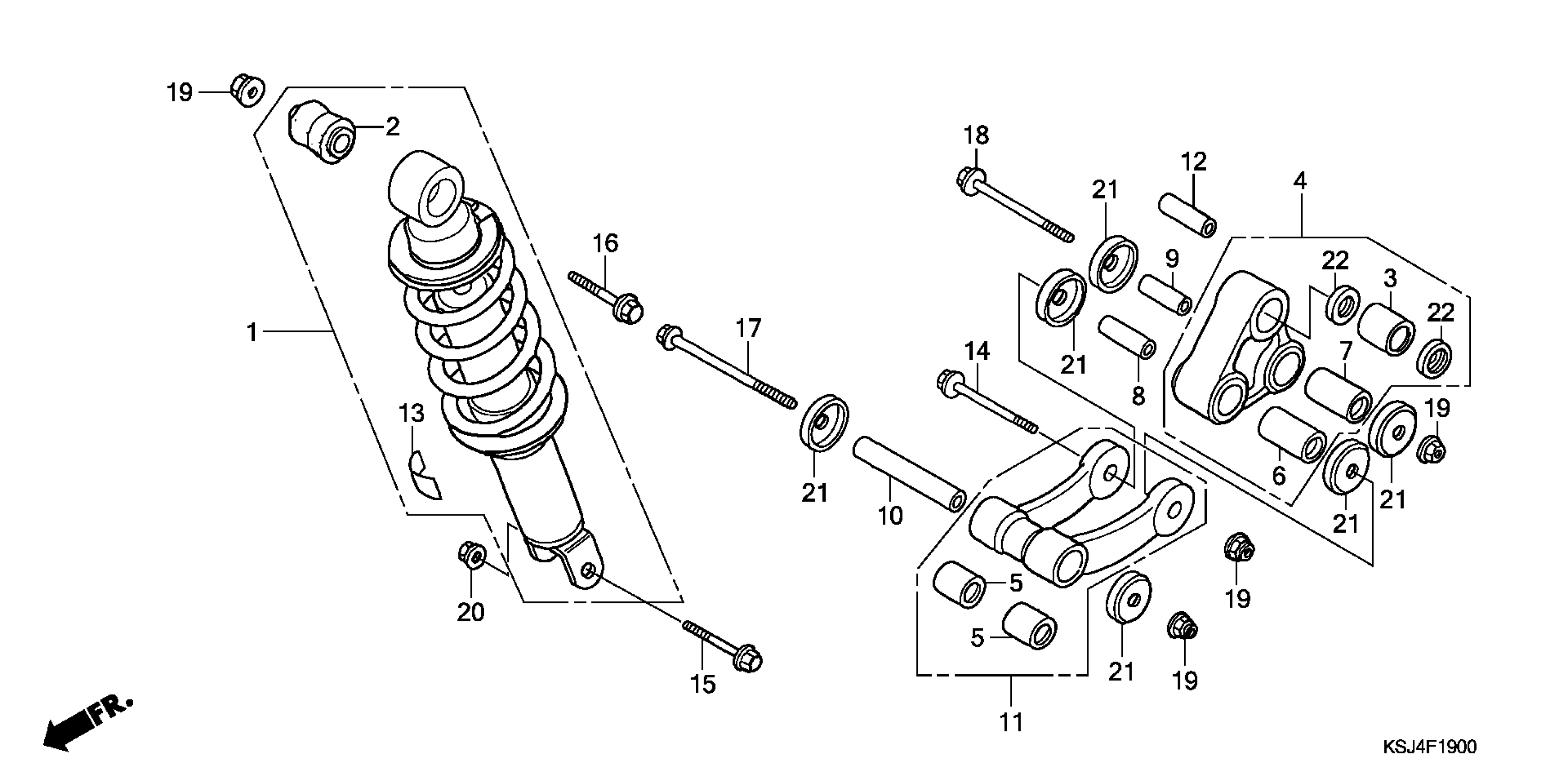
REAR SHOCK ABSORBER
Honda CRF100FA (04) MOTORCYCLE, JPN, VIN# JH2HE030-4K300001 TO JH2HE030-4K399999 REAR SHOCK ABSORBER Diagram
#
Description
Price
1
CUSHION ASSY., RR. (SHOWA)
52400-KSJ-003
Unavailable
11
ROD SUB-ASSY., SHOCK CONNECTING
52475-KSJ-000
Unavailable
