- Partiron
- OEM Parts
- Honda
- MOTORCYCLE
- 2019
- CRF1000A2AC (19) MOTORCYCLE, JPN, VIN# JH2SD040-KK300001
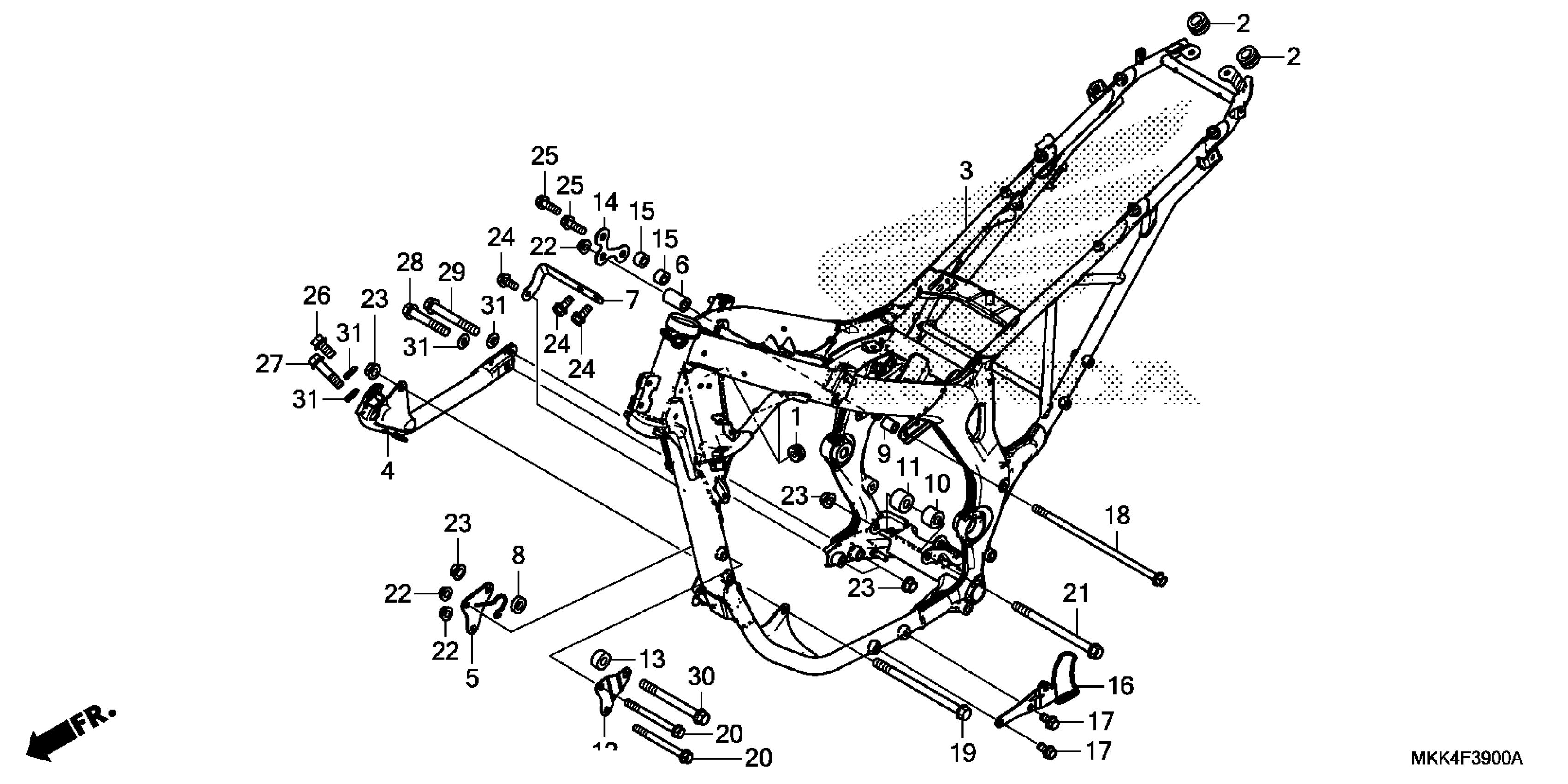
FRAME
Honda CRF1000A2AC (19) MOTORCYCLE, JPN, VIN# JH2SD040-KK300001 FRAME Diagram
#
Description
Price
FRAME
#
Edit ride
