- Partiron
- OEM Parts
- Honda
- MOTORCYCLE
- 1992
- CR80RA (92) MOTORCYCLE, JPN, VIN# JH2HE040-NK900001 TO JH2HE040-MK900719
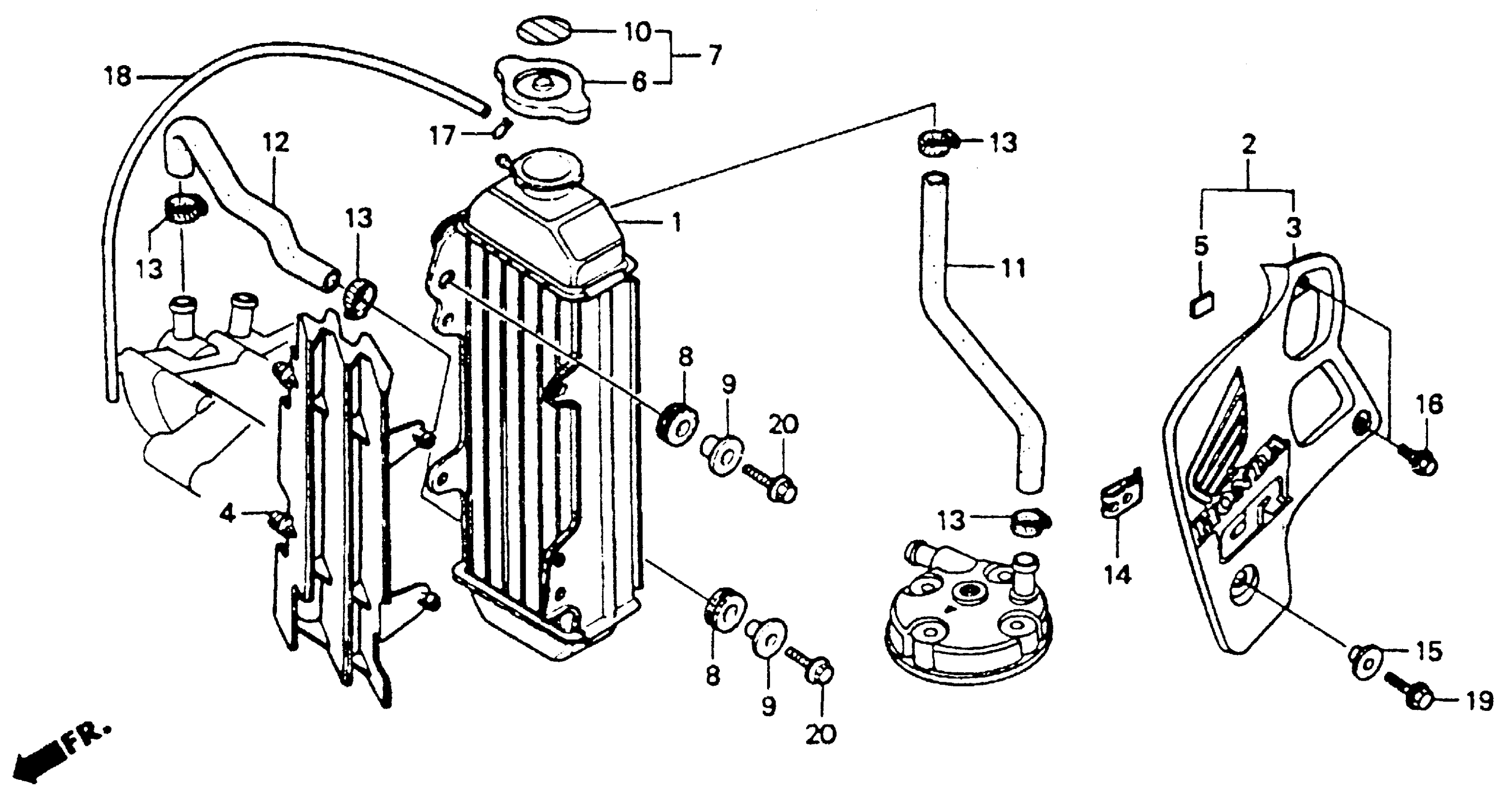
RADIATOR
Honda CR80RA (92) MOTORCYCLE, JPN, VIN# JH2HE040-NK900001 TO JH2HE040-MK900719 RADIATOR Diagram
#
Description
Price
1
RADIATOR
19010-GS2-600
Unavailable
2
SHROUD SET, RADIATOR *R177* (WL) (NUCLEAR RED)
19030-GS2-600ZA
Unavailable
4
GRILLE, RADIATOR
19034-GBF-J20
Unavailable
4
GRILLE, RADIATOR This part replaces 19034-GC4-600.
19034-GBF-J20
Unavailable
11
HOSE A, WATER
19061-GM7-700
Unavailable
12
HOSE B, WATER
19062-GC4-830
Unavailable
