- Partiron
- OEM Parts
- Honda
- MOTORCYCLE
- 1985
- CR80RA (85) MOTORCYCLE, JPN, VIN# JH2HE040-FK200010 TO JH2HE040-FK206049
AIR CLEANER 85
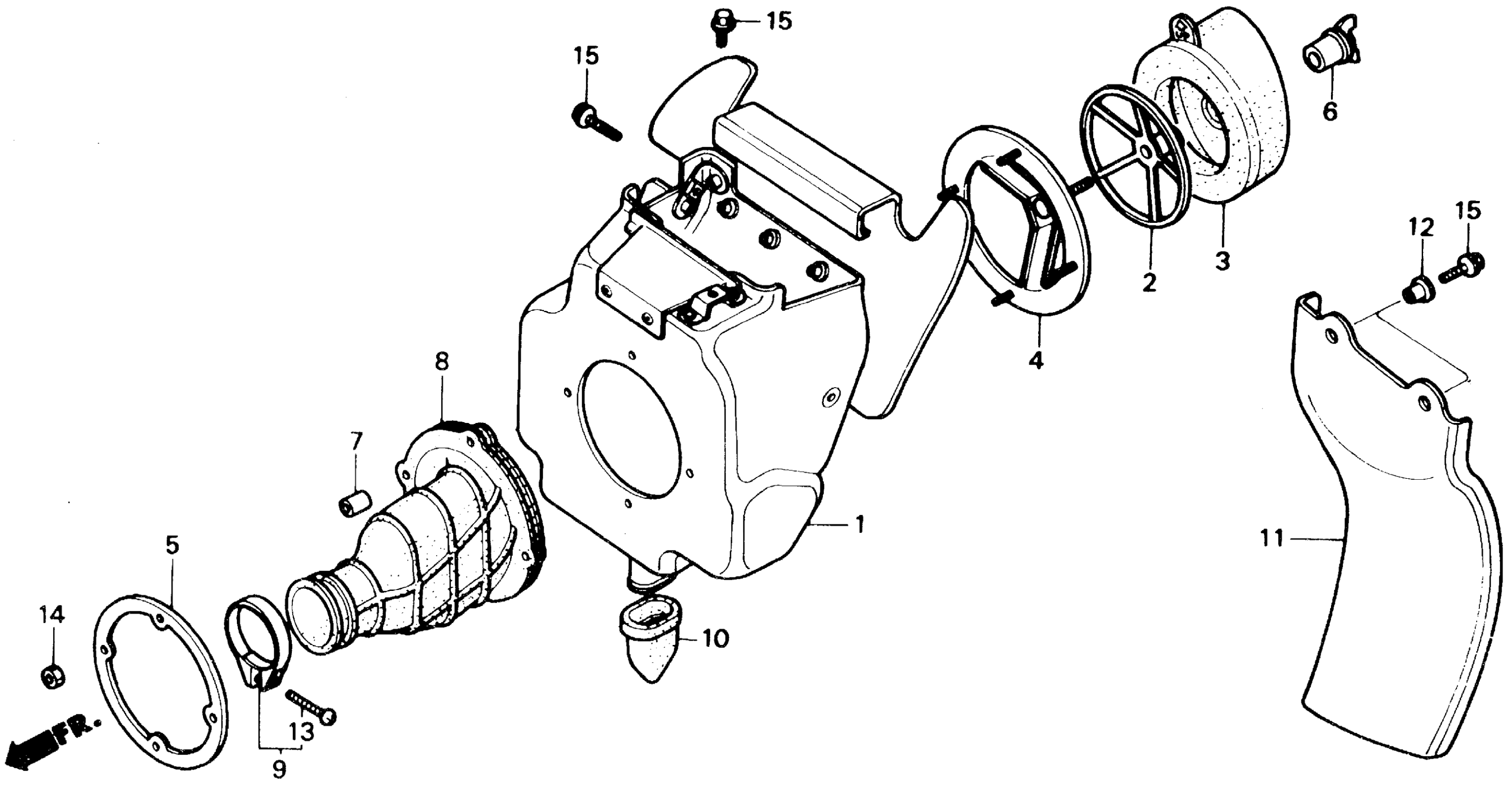
Honda CR80RA (85) MOTORCYCLE, JPN, VIN# JH2HE040-FK200010 TO JH2HE040-FK206049 AIR CLEANER 85 Diagram
#
Description
Price
1
HOUSING, AIR CLEANER This part replaces 17210-GC4-830.
17210-GM7-700
Unavailable
1
HOUSING, AIR CLEANER
17210-GM7-700
Unavailable
2
BASE, ELEMENT
17212-GC4-830
Unavailable
3
ELEMENT, AIR CLEANER
17213-GC4-830
Unavailable
4
STAY, AIR CLEANER ELEMENT
17215-GC4-830
Unavailable
5
PLATE, FR. CASE
17217-GC4-830
Unavailable
6
NUT, ELEMENT
17218-GC4-830
Unavailable
8
TUBE, AIR CLEANER CONNECTING
17253-GC4-830
Unavailable
10
TUBE, DRAIN
17358-GC4-830
Unavailable
11
SPLASH GUARD, RR. FENDER (NOT AVAILABLE) This part replaces 80106-GC4-830.
80106-GC4-600
Unavailable
