- Partiron
- OEM Parts
- Honda
- MOTORCYCLE
- 1983
- CR80RA (83) MOTORCYCLE, JPN, VIN# JH2HE040-DK000020 TO JH2HE040-DK007883
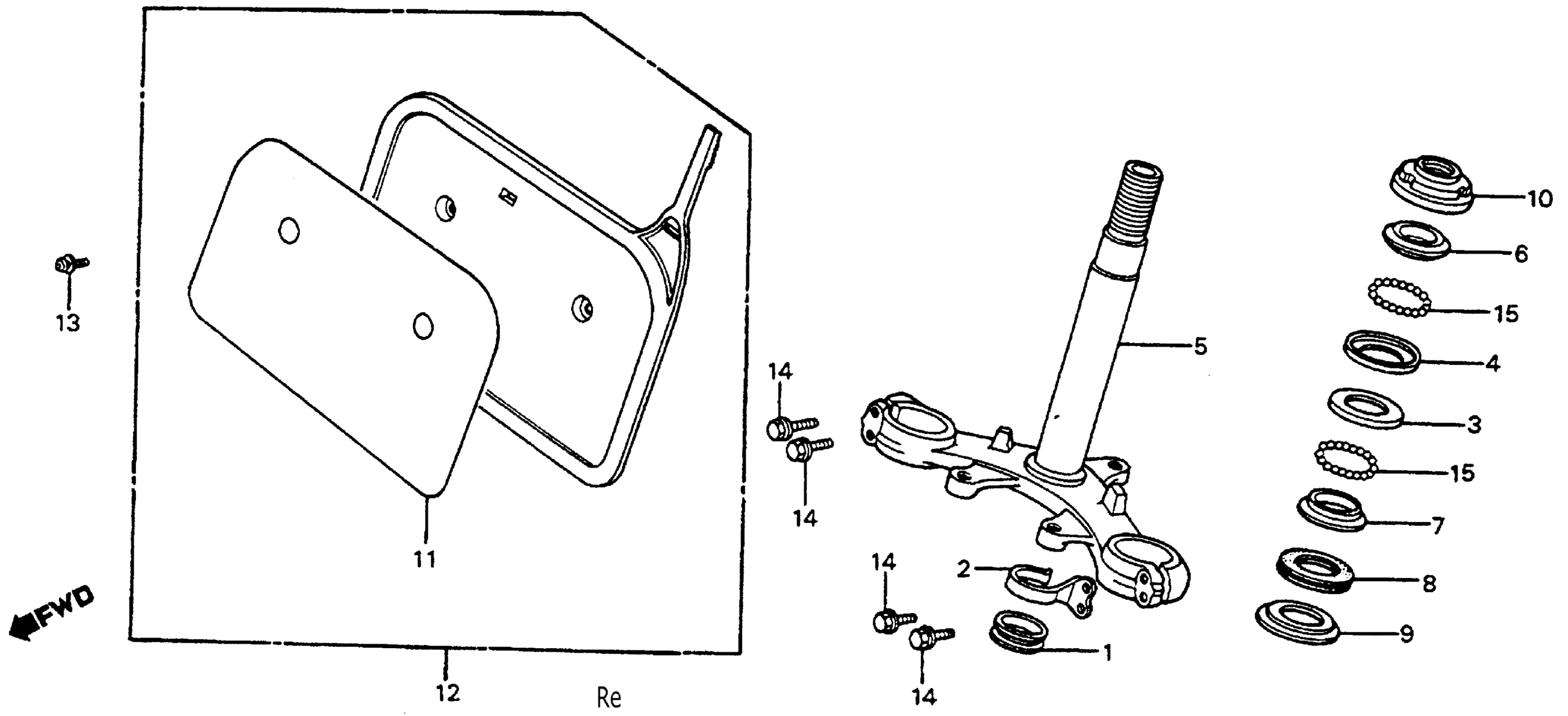
STEERING STEM 83
Honda CR80RA (83) MOTORCYCLE, JPN, VIN# JH2HE040-DK000020 TO JH2HE040-DK007883 STEERING STEM 83 Diagram
#
Description
Price
2
GUIDE, BRAKE CABLE
45468-GC4-000
Unavailable
3
RACE, STEERING BALL (NOT AVAILABLE)
50301-GC4-000
Unavailable
5
STEM, STEERING (NOT AVAILABLE)
53200-GC4-000
Unavailable
9
WASHER, STEERING HEAD DUST SEAL (NOT AVAILABLE)
53215-GC4-700
Unavailable
11
FILM, NUMBER PLATE (NOT AVAILABLE)
61137-GC4-700
Unavailable
12
NUMBER SUB-ASSY., FR. *R119* (FLASH RED) (NOT AVAILABLE)
61138-GC4-700ZA
Unavailable
