- Partiron
- OEM Parts
- Honda
- MOTORCYCLE
- 1981
- CR450RA (81) ELSINORE, JPN, VIN# JH2PE020-BC000001 TO JH2PE020-BC004682
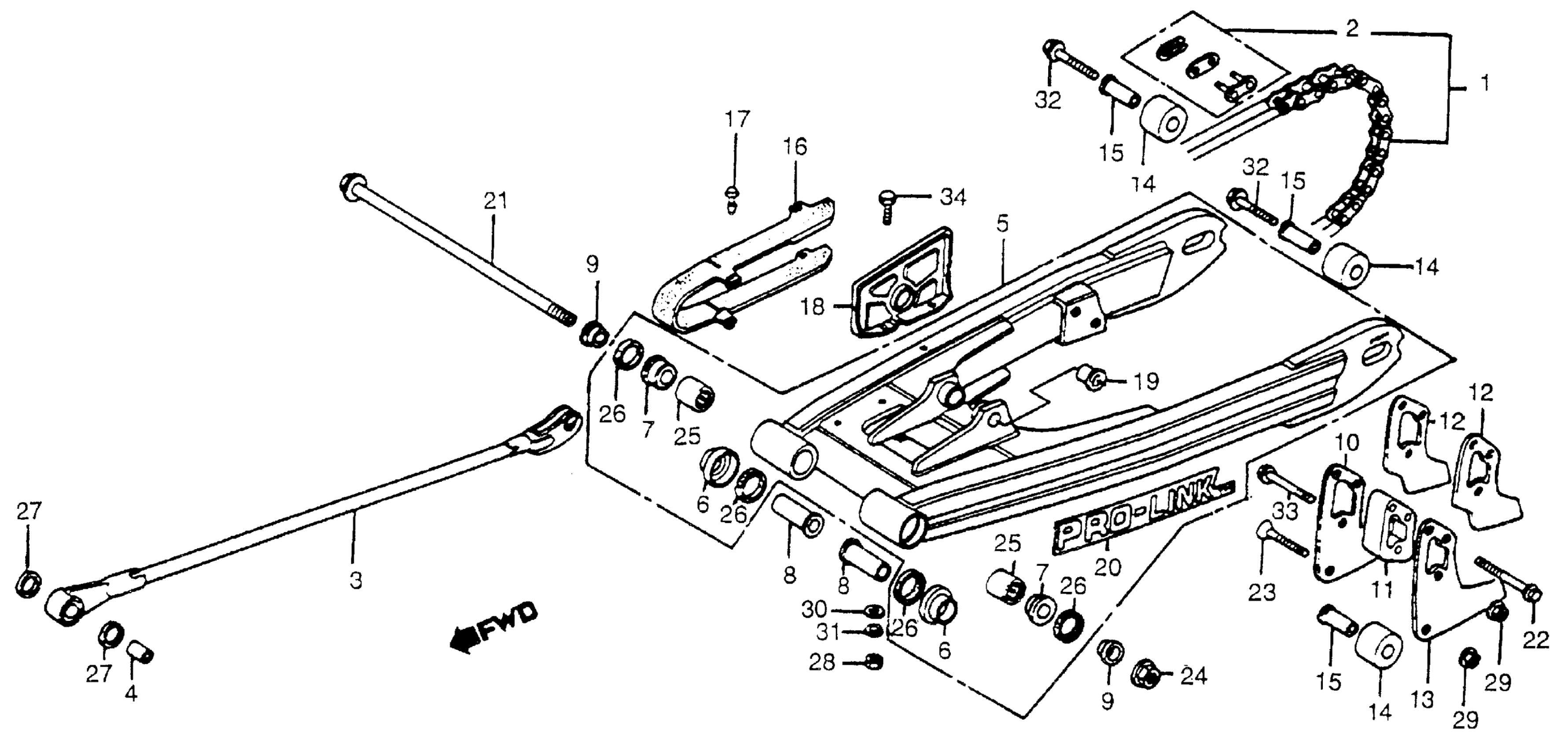
SWINGARM + DRIVE CHAIN 81
Honda CR450RA (81) ELSINORE, JPN, VIN# JH2PE020-BC000001 TO JH2PE020-BC004682 SWINGARM + DRIVE CHAIN 81 Diagram
#
1
CHAIN, DRIVE (520TR-116L) (DAIDO) (NOT AVAILABLE)
40530-KA5-003
Unavailable
1
CHAIN, DRIVE (520TR-116L) (DAIDO) (NOT AVAILABLE) This part replaces 40530-KA5-004.
40530-KA5-003
Unavailable
1
CHAIN, DRIVE (520TR-118L) (DAIDO) (NOT AVAILABLE) | (Optional).
40530-KA5-811
Unavailable
1
CHAIN, DRIVE (520MK-118L) (TAKASAGO) | (Optional).
40530-KA5-812
Unavailable
2
MASTER LINK (TAKASAGO) (NOT AVAILABLE)
40531-KA4-004
Unavailable
2
MASTER LINK This part replaces 40531-430-003.
40531-958-003
Unavailable
2
MASTER LINK
40531-958-003
Unavailable
2
MASTER LINK This part replaces 40540-357-305.
40531-958-003
Unavailable
3
ARM, RR. BRAKE STOPPER *R23* (TAHITIAN RED) (NOT AVAILABLE)
43431-KA5-000ZA
Unavailable
4
COLLAR, RR. STOPPER ARM DISTANCE
43433-444-000
Unavailable
5
SWINGARM ASSY., RR. (NOT AVAILABLE) This part replaces 52000-KA5-000.
52000-KA5-010
Unavailable
5
SWINGARM ASSY., RR. (NOT AVAILABLE)
52000-KA5-010
Unavailable
6
HOLDER, DISTANCE SEAL (NOT AVAILABLE)
52108-KA4-000
Unavailable
7
BUSH, PIVOT THRUST (NOT AVAILABLE)
52109-KA4-003
Unavailable
8
COLLAR A, SWINGARM (NOT AVAILABLE)
52141-KA4-000
Unavailable
9
COLLAR B, SWINGARM (NOT AVAILABLE)
52142-KA4-000
Unavailable
10
GUIDE, R. CHAIN (NOT AVAILABLE)
52146-KA4-000
Unavailable
11
SLIDER, CHAIN GUIDE
52147-KA4-010
Unavailable
12
SLIDER, CHAIN GUIDE SIDE (NOT AVAILABLE)
52148-KA4-000
Unavailable
13
GUIDE, L. CHAIN (NOT AVAILABLE)
52156-KA4-000
Unavailable
14
ROLLER, RR. CHAIN GUIDE
52158-MA0-000
Unavailable
15
COLLAR, CHAIN GUIDE
52159-MA0-000
Unavailable
16
SLIDER, CHAIN (NOT AVAILABLE)
52170-KA4-000
Unavailable
17
CLIP, CHAIN SLIDER (NOT AVAILABLE)
52171-KA4-003
Unavailable
18
SPLASH GUARD, CHAIN (NOT AVAILABLE)
52180-KA4-000
Unavailable
19
WASHER, CUSHION ARM (NOT AVAILABLE)
52464-KA4-000
Unavailable
20
EMBLEM, SWINGARM (NOT AVAILABLE)
87121-MA0-300
Unavailable
21
BOLT, SWINGARM (NOT AVAILABLE)
90117-KA4-000
Unavailable
22
BOLT, FLANGE (8X55) (NOT AVAILABLE)
90123-400-000
Unavailable
24
NUT, RR. SWINGARM PIVOT
90301-430-000
Unavailable
26
DUST SEAL (26X36X4)
91253-KA4-000
Unavailable
27
O-RING (20X1.8) (NOT AVAILABLE)
91302-430-003
Unavailable
