- Partiron
- OEM Parts
- Honda
- MOTORCYCLE
- 1988
- CR250RA (88) MOTORCYCLE, JPN, VIN# JH2ME030-JM000001 TO JH2ME030-JM004826
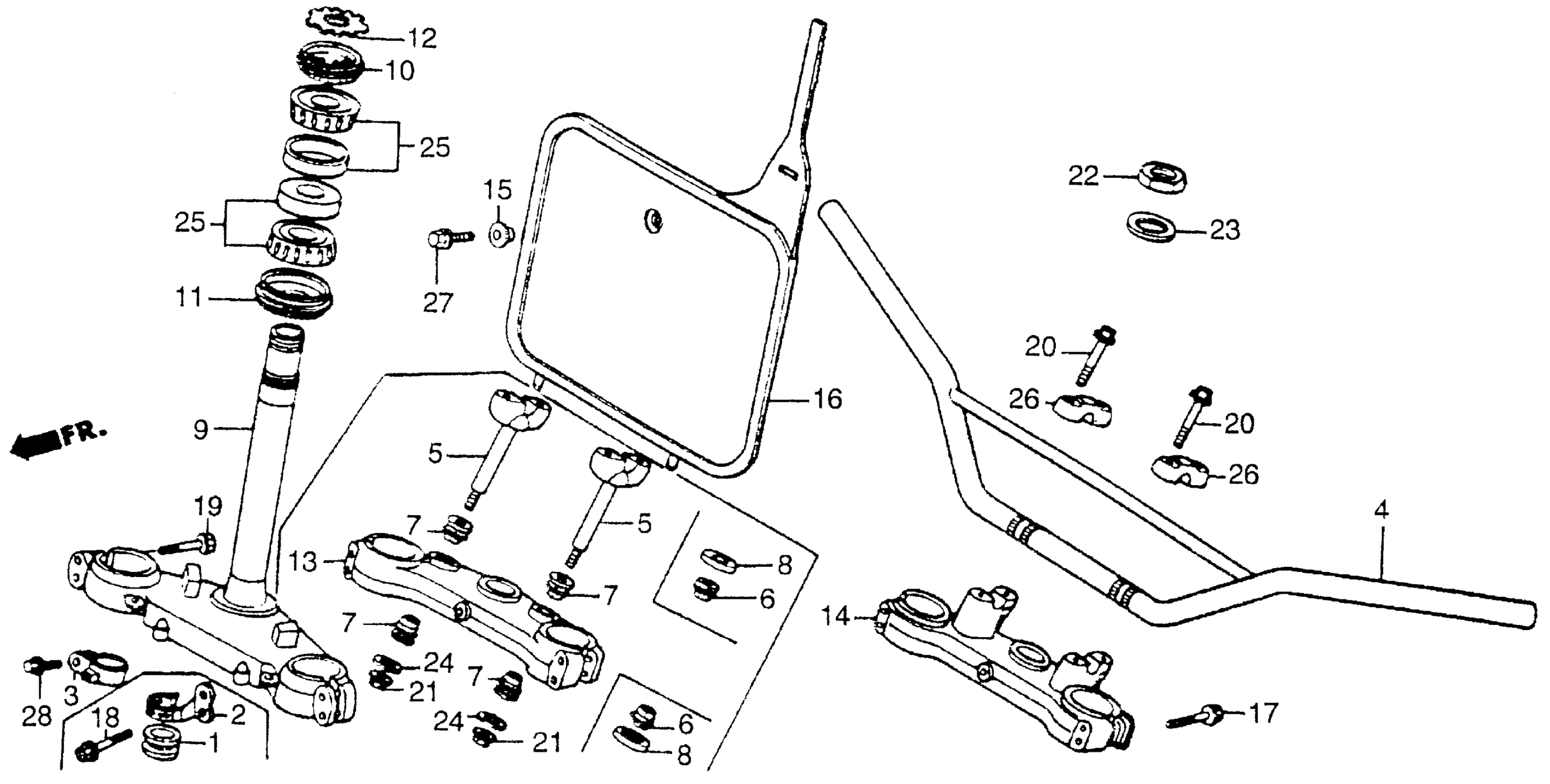
HANDLEBAR
Honda CR250RA (88) MOTORCYCLE, JPN, VIN# JH2ME030-JM000001 TO JH2ME030-JM004826 HANDLEBAR Diagram
#
Description
Price
4
HANDLEBAR
53100-ML3-840
Unavailable
9
STEM, STEERING
53200-KS7-830
Unavailable
12
THREAD, STEERING HEAD TOP
53229-KA3-710
Unavailable
14
BRIDGE, FORK TOP
53230-KS6-700
Unavailable
23
WASHER, STEM (24.2MM)
90503-KA3-830
Unavailable
