- Partiron
- OEM Parts
- Honda
- MOTORCYCLE
- 1988
- CR250RA (88) MOTORCYCLE, JPN, VIN# JH2ME030-JM000001 TO JH2ME030-JM004826
CARBURETOR OPTIONAL KIT 85-89
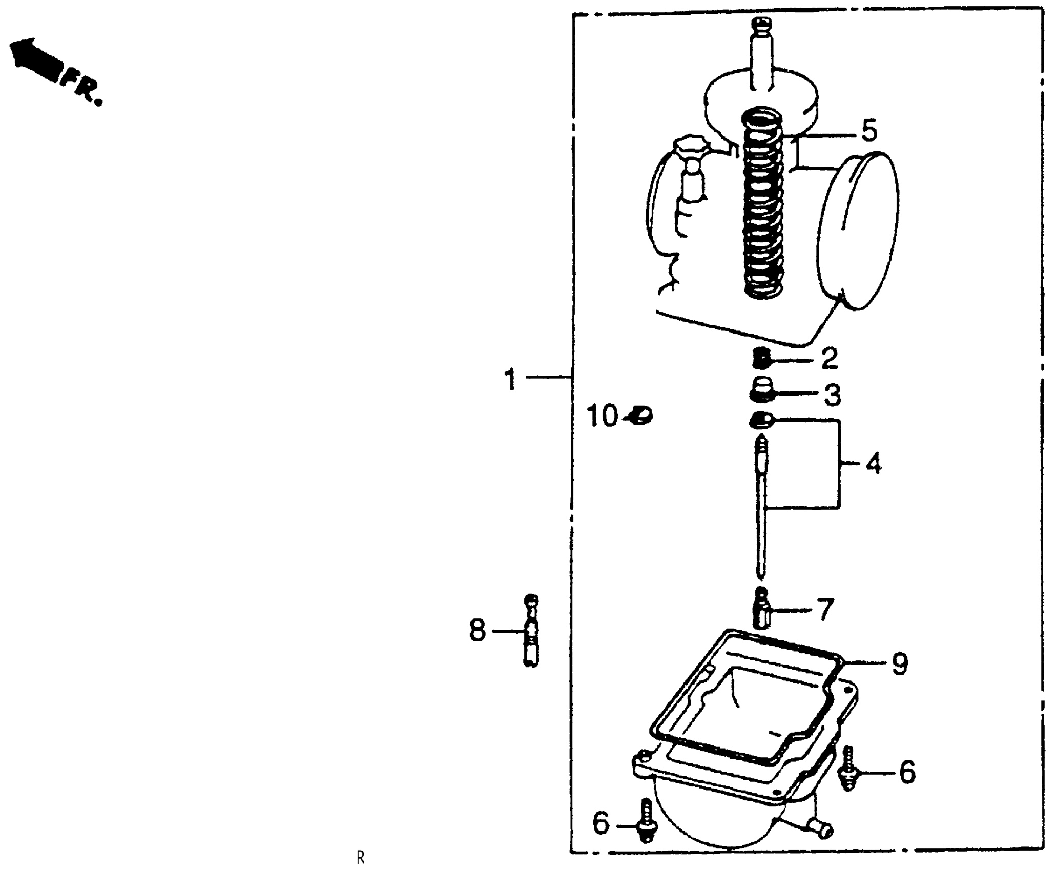
Honda CR250RA (88) MOTORCYCLE, JPN, VIN# JH2ME030-JM000001 TO JH2ME030-JM004826 CARBURETOR OPTIONAL KIT 85-89 Diagram
#
Description
Price
1
PARTS KIT, CARBURETOR OPTIONAL This part replaces 16020-KS7-831.
16020-KS7-832
Unavailable
1
PARTS KIT, CARBURETOR OPTIONAL
16020-KS7-832
Unavailable
3
COLLAR, SPRING SETTING
16066-KA3-761
Unavailable
4
NEEDLE SET, JET (R1369N) (NOT AVAILABLE) This part replaces 16012-KS7-004.
16201-HB9-671
Unavailable
4
NEEDLE SET, JET (R1365N)
16012-KS7-831
Unavailable
7
JET, MAIN (#195) This part replaces 99101-357-1950.
99113-GHB-1950
Unavailable
7
JET, MAIN (#200) (NOT AVAILABLE)
99101-357-2000
Unavailable
8
JET, SLOW (#58)
99103-KA3-0580
Unavailable
8
JET, SLOW (#65)
99103-KA3-0650
Unavailable
8
JET, SLOW (#58) This part replaces 99103-440-0580.
99103-KA3-0580
Unavailable
8
JET, SLOW (#65) This part replaces 99103-440-0650.
99103-KA3-0650
Unavailable
8
JET, SLOW (#60)
99103-KA3-0600
Unavailable
8
JET, SLOW (#60) This part replaces 99103-440-0600.
99103-KA3-0600
Unavailable
8
JET, SLOW (#68)
99103-KA3-0680
Unavailable
8
JET, SLOW (#68) This part replaces 99103-440-0680.
99103-KA3-0680
Unavailable
9
GASKET, FLOAT CHAMBER
16163-KG8-901
Unavailable
