- Partiron
- OEM Parts
- Honda
- MOTORCYCLE
- 1984
- CR250RA (84) MOTORCYCLE, JPN, VIN# JH2ME030-EC600001 TO JH2ME030-EC607757
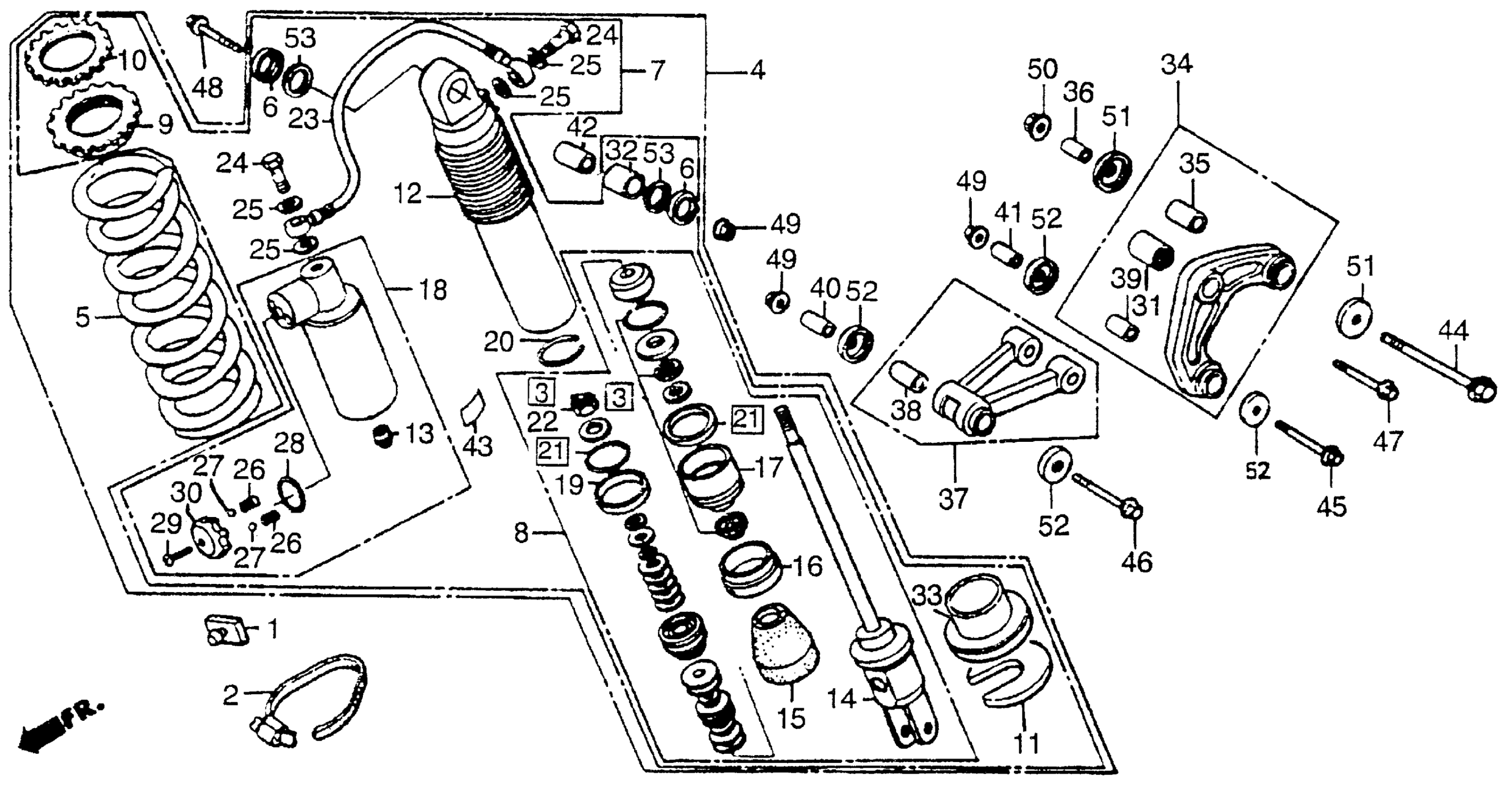
SHOCK ABSORBER 84
Honda CR250RA (84) MOTORCYCLE, JPN, VIN# JH2ME030-EC600001 TO JH2ME030-EC607757 SHOCK ABSORBER 84 Diagram
#
1
RUBBER, SUB-TANK MOUNTING (NOT AVAILABLE)
50250-KA3-730
Unavailable
2
BAND, SUB-TANK (NOT AVAILABLE)
50252-KA4-730
Unavailable
3
OIL SEAL & NUT SET
524A3-KA4-741
Unavailable
4
SHOCK ABSORBER ASSY., RR. (NOT AVAILABLE)
52400-KA4-741
Unavailable
5
SPRING, RR. SHOCK ABSORBER
52401-KA4-741
Unavailable
5
SPRING, RR. SHOCK ABSORBER (4.2 YELLOW) | (Optional).
52402-KA4-741
Unavailable
5
SPRING, RR. SHOCK ABSORBER (5.0 BLUE) | (Optional).
52403-KA4-741
Unavailable
7
DAMPER, RR.
52410-KA4-741
Unavailable
8
ROD, PISTON
52421-KA4-741
Unavailable
10
NUT, ADJUSTER
52423-KA3-711
Unavailable
11
STOPPER, SPRING SEAT
52424-KA3-711
Unavailable
12
CASE, RR. SHOCK ABSORBER
52425-KA4-731
Unavailable
14
ROD
52426-KA4-741
Unavailable
17
CASE, ROD GUIDE (NOT AVAILABLE)
52429-KA4-741
Unavailable
18
SUB-TANK ASSY.
52430-KA4-731
Unavailable
21
O-RING SET (SHOWA) (NOT AVAILABLE)
52437-KA4-741
Unavailable
23
HOSE, JOINT
52440-KA4-731
Unavailable
24
BOLT, OIL (10X22)
52441-KA3-711
Unavailable
26
SPRING, CLICK (NOT AVAILABLE)
52445-KA4-731
Unavailable
27
BALL
52446-KF0-003
Unavailable
28
O-RING (2X23.5)
52447-KF0-003
Unavailable
30
PLATE, ADJUSTING (NOT AVAILABLE)
52449-KA4-731
Unavailable
33
SEAT C, SPRING
52459-KA3-711
Unavailable
34
ARM ASSY., SHOCK ABSORBER
52460-KA3-730
Unavailable
35
BUSH, DAMPER ARM
52462-MA0-013
Unavailable
36
COLLAR, DAMPER ARM PIVOT
52463-MA0-010
Unavailable
37
ROD ASSY., DAMPER CONNECTING (NOT AVAILABLE)
52470-KA3-730
Unavailable
40
COLLAR, CONNECTING ROD PIVOT (NOT AVAILABLE)
52473-KA3-710
Unavailable
43
LABEL, RR. DAMPER CAUTION (NOT AVAILABLE)
87516-KF0-003
Unavailable
44
BOLT, FLANGE (12X105)
90128-KA3-730
Unavailable
47
BOLT, FLANGE (10X48)
90153-KA3-730
Unavailable
51
SEAL, CUSHION ARM PIVOT (ARAI) This part replaces 91261-KA3-711.
91262-KR8-750
Unavailable
51
SEAL, CUSHION ARM PIVOT (ARAI) This part replaces 91261-KA3-712.
91262-KR8-750
Unavailable
