- Partiron
- OEM Parts
- Honda
- MOTORCYCLE
- 1982
- CR250RA (82) MOTORCYCLE, JPN, VIN# JH2ME030-CC400021 TO JH2ME030-CC406212
MUFFLER 81-82
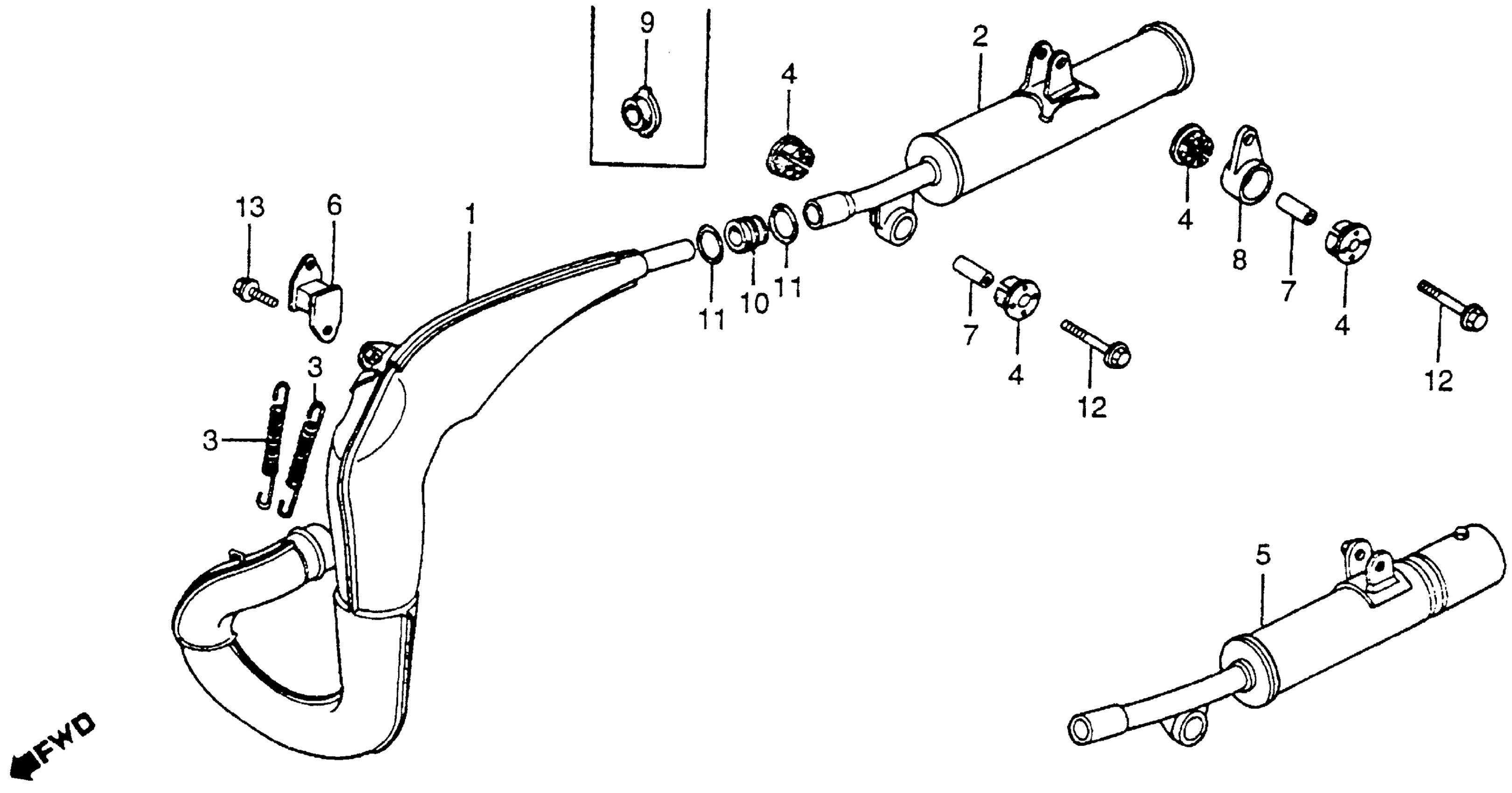
Honda CR250RA (82) MOTORCYCLE, JPN, VIN# JH2ME030-CC400021 TO JH2ME030-CC406212 MUFFLER 81-82 Diagram
#
Description
Price
1
MUFFLER *NH106* (HEATPROOF BLACK)
18300-KA4-701ZA
Unavailable
2
MUFFLER *NH106* (HEATPROOF BLACK) (NOT AVAILABLE) This part replaces 18330-KA4-007.
18330-KA4-707ZA
Unavailable
2
MUFFLER *NH106* (HEATPROOF BLACK) (NOT AVAILABLE) This part replaces 18330-KA4-700ZA.
18330-KA4-707ZA
Unavailable
2
MUFFLER *NH106* (HEATPROOF BLACK) (NOT AVAILABLE)
18330-KA4-707ZA
Unavailable
3
SPRING, EX. PIPE
18332-KA4-000
Unavailable
4
RUBBER, MUFFLER
18334-KA4-000
Unavailable
6
STAY, MUFFLER
18355-KA4-000
Unavailable
7
COLLAR, MUFFLER MOUNTING (NOT AVAILABLE)
18357-KA4-000
Unavailable
8
STAY, MUFFLER (NOT AVAILABLE)
18358-KA4-700
Unavailable
10
SEAL, MUFFLER (NOT AVAILABLE)
18361-KA4-700
Unavailable
