Partiron

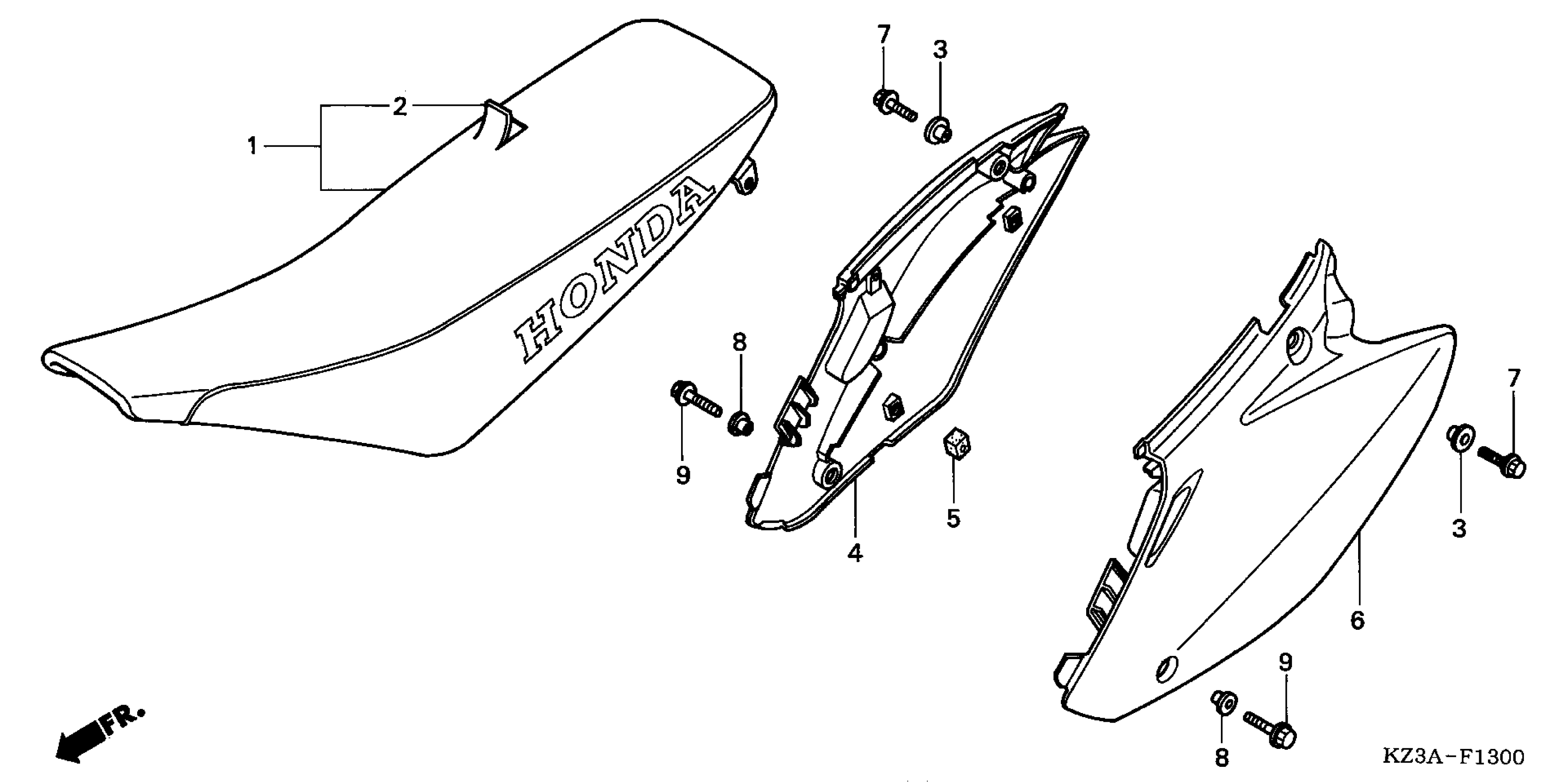
Honda CR250RA (07) MOTORCYCLE, JPN, VIN# JH2ME033-7M100001 SEAT Diagram

#

Description
Price

1

SEAT

77100-KSR-A30

Unavailable

2

LEATHER, SEAT (NO LETTERS PRINTED)

77101-KSR-A30

Unavailable

3

COLLAR, TOOL BOX SETTING

83505-KM4-000

$4.87

4

COVER, R. SIDE *NH196* (ROSS WHITE)

83510-KSR-710ZA

$47.38

5

RUBBER, SIDE COVER STOPPER

83515-KS7-830

$4.53

6

COVER, L. SIDE *NH196* (ROSS WHITE)

83610-KSR-710ZA

Unavailable

7

BOLT, FLANGE (8X18)

90123-KZ4-J40

$1.97

8

COLLAR A

90501-KZ4-J20

$3.67

9

BOLT, FLANGE (6X14)

96001-06014-00

$1.72