- Partiron
- OEM Parts
- Honda
- MOTORCYCLE
- 1989
- CR125RA (89) MOTORCYCLE, JPN, VIN# JH2JE010-KM000006
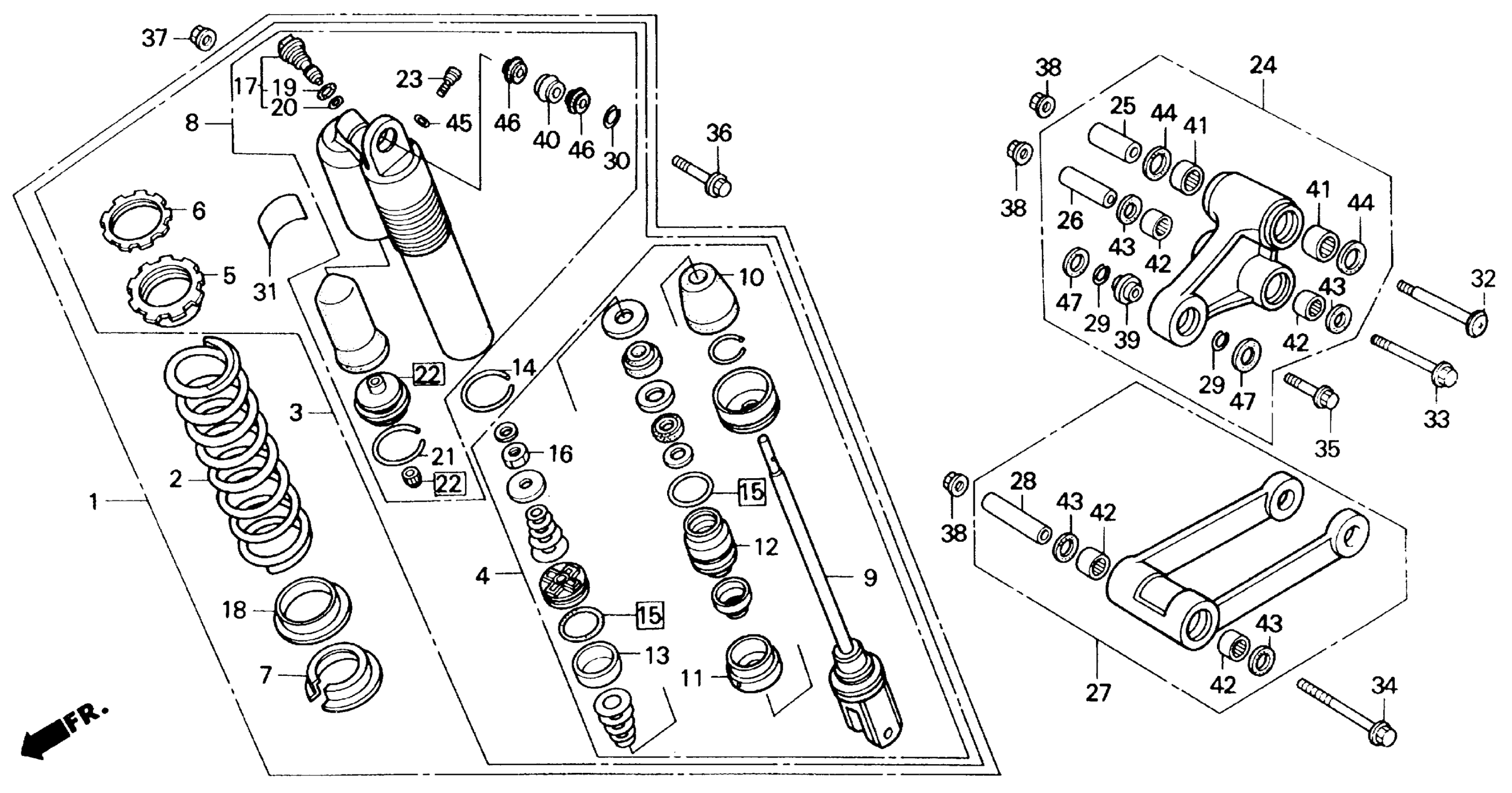
SHOCK ABSORBER 89
Honda CR125RA (89) MOTORCYCLE, JPN, VIN# JH2JE010-KM000006 SHOCK ABSORBER 89 Diagram
#
NI
CORE, VALVE
52437-KA3-731
Unavailable
1
SHOCK ASSY., RR. (KAYABA)
52400-KZ4-671
Unavailable
2
SPRING, RR. SHOCK ABSORBER (49.03N/MM,5.0KGF/MM) (KAYABA)
52401-KS6-841
Unavailable
2
SPRING, RR. SHOCK ABSORBER (45.11N/MM,4.6KGF/MM) (KAYABA) (2 GROOVE) | (Optional).
52402-KS6-820
Unavailable
2
SPRING, RR. SHOCK ABSORBER (53.0N/MM,5.4KGF/MM) (KAYABA) | (Optional).
52403-KZ4-810
Unavailable
3
DAMPER, RR.
52410-KZ4-671
Unavailable
4
ROD, PISTON
52421-KZ4-671
Unavailable
5
SEAT, SPRING (UPPER) (KAYABA)
52422-KS6-701
Unavailable
6
NUT, ADJUSTER (KAYABA)
52423-KS6-701
Unavailable
7
SEAT, SPRING (LOWER) (KAYABA)
52424-KS6-701
Unavailable
8
CASE ASSY., SUB
52425-KZ4-003
Unavailable
9
ROD (NOT AVAILABLE)
52426-KZ4-003
Unavailable
10
RUBBER, BUMPER (KAYABA) (NOT AVAILABLE)
52427-KS6-701
Unavailable
11
CAP, CASE (KAYABA)
52428-KS6-701
Unavailable
13
RING, PISTON (KAYABA)
52431-KS6-831
Unavailable
14
RING, SNAP (KAYABA) This part replaces 52435-KS6-701.
52435-ML3-791
Unavailable
14
RING, SNAP
52435-ML3-791
Unavailable
15
O-RING SET (KAYABA)
52437-KS6-305
Unavailable
17
ADJUSTER
52440-KZ4-003
Unavailable
18
WASHER, SPRING SEAT
52445-KT1-671
Unavailable
20
O-RING (17.5X1.5)
52448-KZ4-003
Unavailable
21
RING, SNAP (KAYABA)
52452-KZ4-003
Unavailable
22
CAP, BLADDER
52453-KZ4-003
Unavailable
23
BOLT, DRAIN
52454-KZ4-003
Unavailable
24
ARM ASSY., SHOCK ABSORBER This part replaces 52460-KZ4-000.
52460-KZ4-020
Unavailable
24
ARM ASSY., SHOCK ABSORBER
52460-KZ4-020
Unavailable
25
COLLAR, CUSHION ARM PIVOT
52463-KZ4-000
Unavailable
26
COLLAR, CUSHION ARM
52464-KZ4-000
Unavailable
27
ROD ASSY., SHOCK ABSORBER This part replaces 52470-KZ4-000.
52470-KZ4-020
Unavailable
27
ROD ASSY., SHOCK ABSORBER
52470-KZ4-020
Unavailable
28
COLLAR, CONNECTING ROD PIVOT
52473-KZ4-000
Unavailable
30
RING, STOPPER (KAYABA) (NOT AVAILABLE)
52487-KS6-701
Unavailable
31
LABEL, RR. DAMPER WARNING
87516-KZ4-671
Unavailable
32
BOLT, FLANGE (14X108) | Use up to Frame SN KM004204 This part replaces 90128-KZ4-000.
90128-KZ4-010
Unavailable
32
BOLT, FLANGE (14X108)
90128-KZ4-010
Unavailable
33
BOLT, FLANGE (12X92) | Use up to Frame SN KM004204 This part replaces 90129-KZ4-000.
90129-KZ4-010
Unavailable
33
BOLT, FLANGE (12X92)
90129-KZ4-010
Unavailable
34
BOLT, FLANGE (12X113) | Use up to Frame SN KM004204 This part replaces 90130-KZ4-000.
90130-KZ4-010
Unavailable
34
BOLT, FLANGE (12X113)
90130-KZ4-010
Unavailable
35
BOLT, FLANGE (10X38)
90153-KS7-830
Unavailable
39
BEARING, SPHERICAL (10)
91074-KS7-831
Unavailable
40
BEARING, SPHERICAL (10MM)
91077-KS6-701
Unavailable
41
BEARING, NEEDLE (22X28X16) This part replaces 91078-KS7-834.
91078-KS7-836
Unavailable
41
BEARING, NEEDLE (22X28X16)
91078-KS7-836
Unavailable
43
DUST SEAL (20X28X5)
91261-KS7-832
Unavailable
44
DUST SEAL (22X30X5)
91262-KS7-831
Unavailable
45
O-RING
91310-MJ1-672
Unavailable
46
DUST SEAL, RR. SHOCK (UPPER)
91351-KS6-701
Unavailable
47
DUST SEAL, SHOCK (LOWER)
91351-KS7-832
Unavailable
