- Partiron
- OEM Parts
- Honda
- MOTORCYCLE
- 1987
- CR125RA (87) MOTORCYCLE, JPN, VIN# JH2JE010-HC800020 TO JH2JE010-HC806942
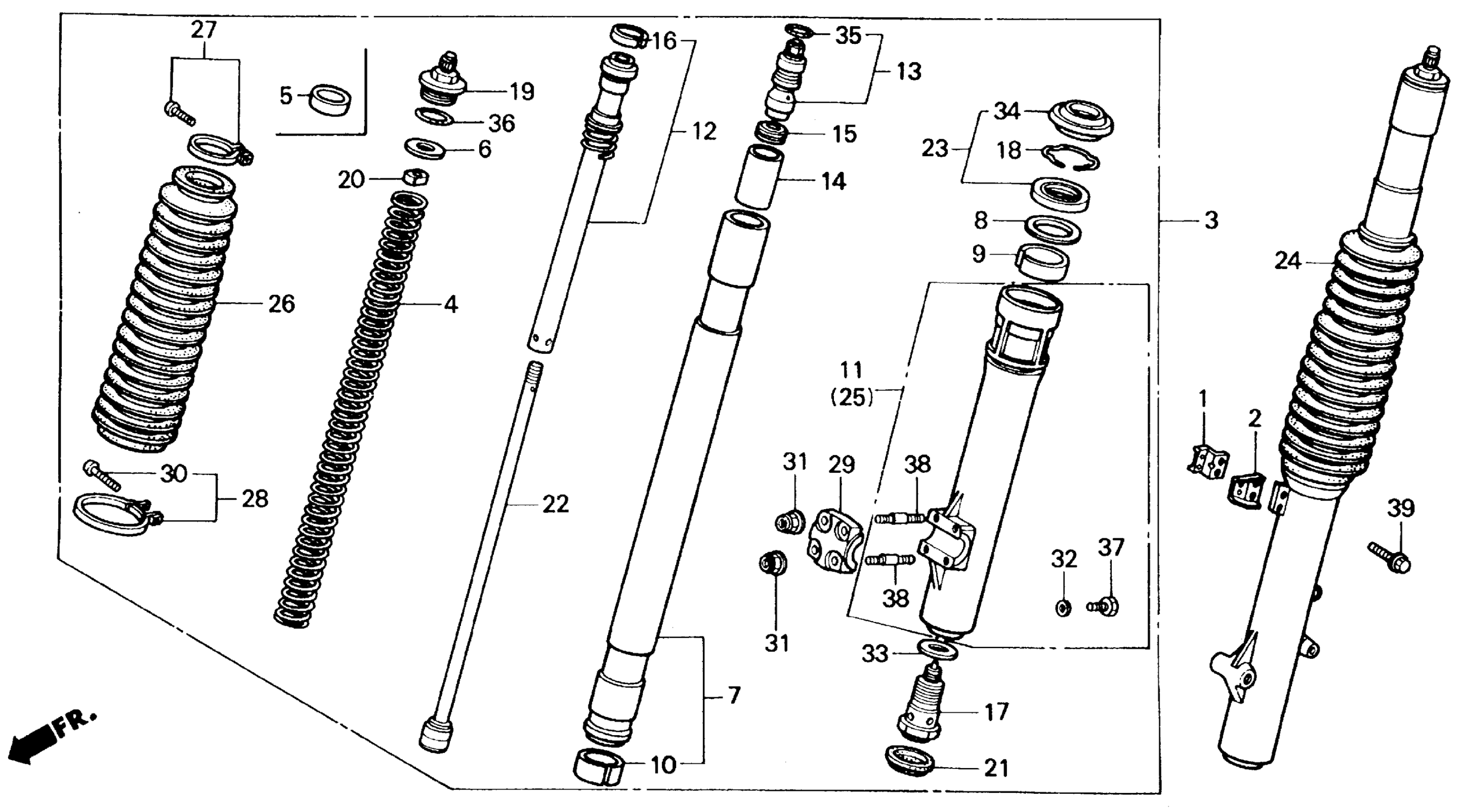
FRONT FORK 87-89
Honda CR125RA (87) MOTORCYCLE, JPN, VIN# JH2JE010-HC800020 TO JH2JE010-HC806942 FRONT FORK 87-89 Diagram
#
Description
Price
3
FORK ASSY., R. FR. (SHOWA)
51400-KS6-701
Unavailable
4
SPRING, FR. FORK (3.28N/MM) (0.334KGF/MM) (SHOWA)
51401-KS6-701
Unavailable
4
SPRING, FR. FORK (3.08N/MM,0.314KGF/MM) (SHOWA) | (Optional).
51402-KS6-701
Unavailable
4
SPRING, FR. FORK (3.47N/MM,0.354KG/MM) (SHOWA) | (Optional).
51403-KS6-701
Unavailable
7
PIPE, FR. FORK (SHOWA)
51410-KS6-701
Unavailable
12
CYLINDER (SHOWA)
51430-KS6-701
Unavailable
13
PIECE (LOWER) (SHOWA)
51431-KS7-701
Unavailable
15
END, PIPE (SHOWA)
51433-KS7-003
Unavailable
19
BOLT ASSY., FR. FORK (SHOWA) (NOT AVAILABLE)
51450-KS7-003
Unavailable
22
ROD, PISTON (SHOWA)
51480-KS7-701
Unavailable
24
FORK ASSY., L. FR. (SHOWA)
51500-KS6-701
Unavailable
25
CASE, L. (LOWER) (NOT AVAILABLE)
51520-KS7-003
Unavailable
29
HOLDER, AXLE
51634-MV1-003
Unavailable
30
SCREW, PAN (3.5X15) (NOT AVAILABLE)
90202-KA4-711
Unavailable
