- Partiron
- OEM Parts
- Honda
- MOTORCYCLE
- 1987
- CR125RA (87) MOTORCYCLE, JPN, VIN# JH2JE010-HC800020 TO JH2JE010-HC806942
EXHAUST MANIFOLD 87-89
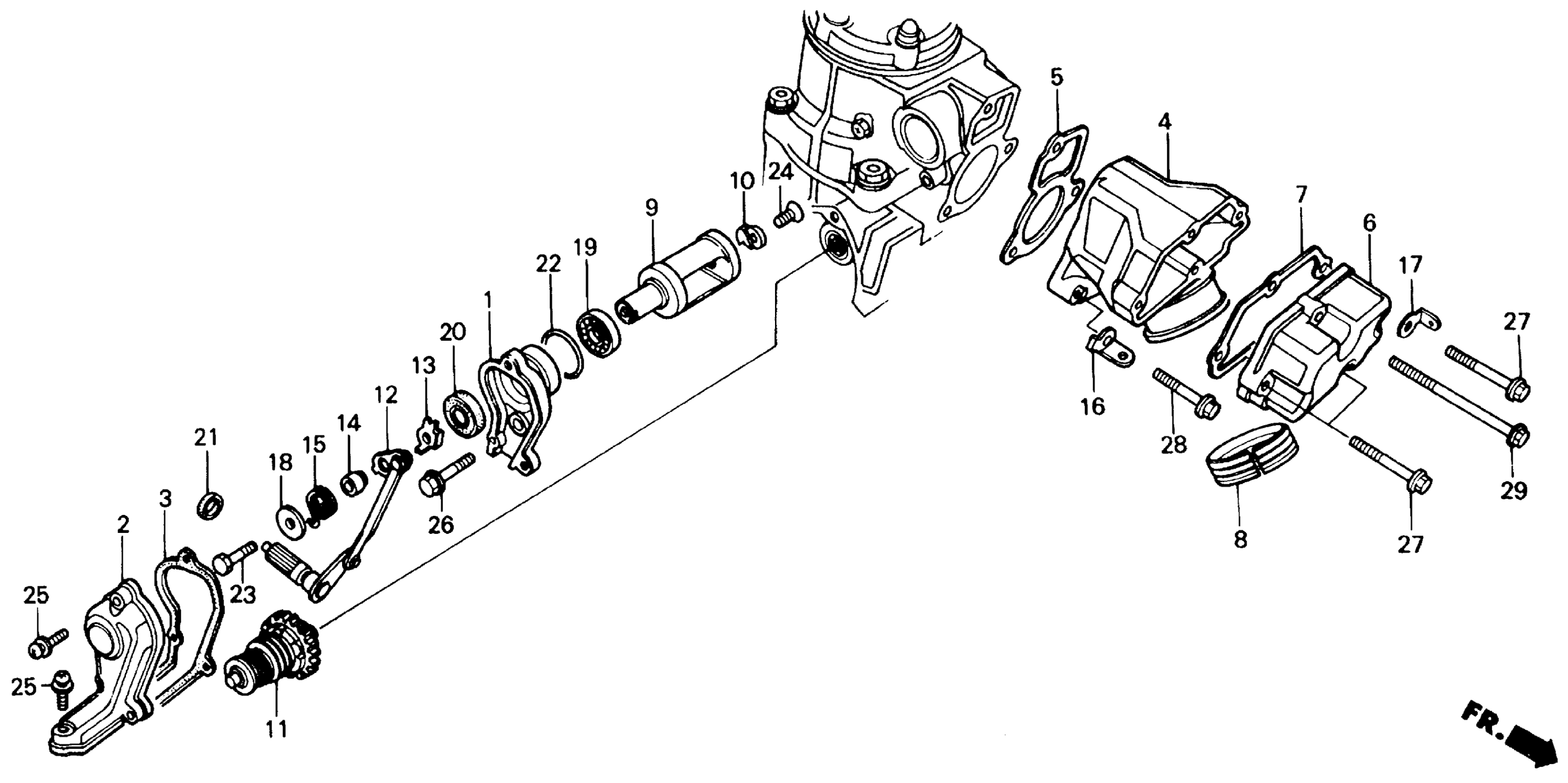
Honda CR125RA (87) MOTORCYCLE, JPN, VIN# JH2JE010-HC800020 TO JH2JE010-HC806942 EXHAUST MANIFOLD 87-89 Diagram
#
Description
Price
1
CASE, CYLINDER SIDE (NOT AVAILABLE)
12141-KS6-700
Unavailable
2
COVER, CYLINDER SIDE
12151-KS6-700
Unavailable
3
SEAL, CYLINDER COVER
12159-KS6-700
Unavailable
4
JOINT, EX. PIPE (NOT AVAILABLE)
18311-KS6-700
Unavailable
6
COVER, SUB-CHAMBER (NOT AVAILABLE)
18331-KS6-700
Unavailable
8
SEAL, EX. JOINT
18357-KS6-700
Unavailable
9
VALVE, ATAC (NOT AVAILABLE)
18361-KS6-700
Unavailable
10
ARM, VALVE STOPPER This part replaces 18367-KS6-700.
18367-KS6-701
Unavailable
10
ARM, VALVE STOPPER
18367-KS6-701
Unavailable
11
GOVERNOR
19200-KS6-701
Unavailable
12
TIE ROD (NOT AVAILABLE)
19300-KS6-700
Unavailable
13
ARM A, ATAC VALVE
19321-KS6-700
Unavailable
14
COLLAR, VALVE ARM
19327-KS6-700
Unavailable
15
SPRING, VALVE ARM
19328-KS6-700
Unavailable
16
PLATE, SPRING HANGER
90442-KS6-000
Unavailable
17
PLATE, SPRING HANGER (NOT AVAILABLE)
90442-KS6-701
Unavailable
18
WASHER (5X16X1)
90471-KS6-700
Unavailable
19
BEARING, RADIAL BALL (6801) (NOT AVAILABLE)
91001-KS6-701
Unavailable
23
BOLT, HEX. (5X25)
92201-05025-0A
Unavailable
