Partiron

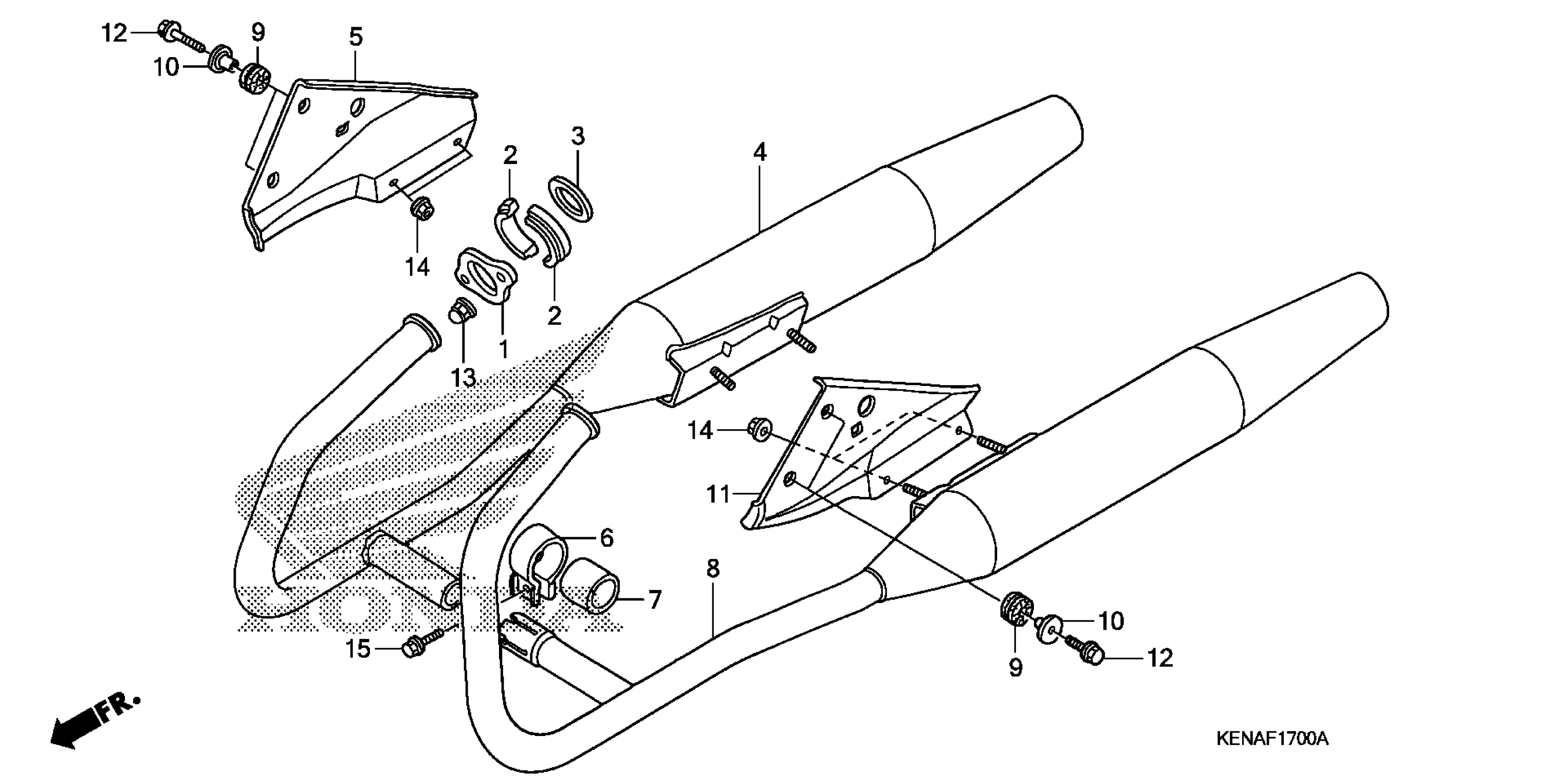
Honda CMX250CA (12) REBEL, JPN, VIN# JH2MC130-CK600001 MUFFLER Diagram

#

Description
Price

1

JOINT, EX. PIPE

18231-KEN-670

$28.44

2

COLLAR, EX. PIPE JOINT

18233-KEN-670

$6.55

3

GASKET, EX. PIPE

18291-MN5-650

$3.77

4

MUFFLER, R. EX. This part replaces 18300-KEN-305.

18300-KEN-670

$283.30

4

MUFFLER, R. EX.

18300-KEN-670

$283.30

5

STAY, R. MUFFLER *NH1* (BLACK)

18325-KR3-950ZA

$58.89

6

BAND, EX. PIPE

18373-461-000

$38.77

7

GASKET, MUFFLER

18391-HB7-000

$11.62

8

MUFFLER, L. EX. (COO)

18400-KEN-305

$377.74

8

MUFFLER, L. EX. (COO) This part replaces 18400-KEN-670.

18400-KEN-305

$377.74

9

RUBBER A, MUFFLER MOUNTING

18422-KR3-870

$4.87

10

COLLAR, MUFFLER MOUNTING

18423-KR3-000

$6.01

11

STAY, L. MUFFLER *NH1* (BLACK)

18425-KR3-950ZA

$55.51

12

BOLT, SPECIAL FLANGE (8X25)

90123-MM2-000

$4.04

13

NUT, CAP (6MM)

90304-438-000

$7.14

14

NUT, FLANGE (8MM)

94050-08000

$1.49

15

BOLT, FLANGE (8X25)

95701-08025-00

$1.79