Partiron

Honda CMX250CA (02) REBEL, JPN, VIN# JH2MC130-2K800001 SEAT Diagram

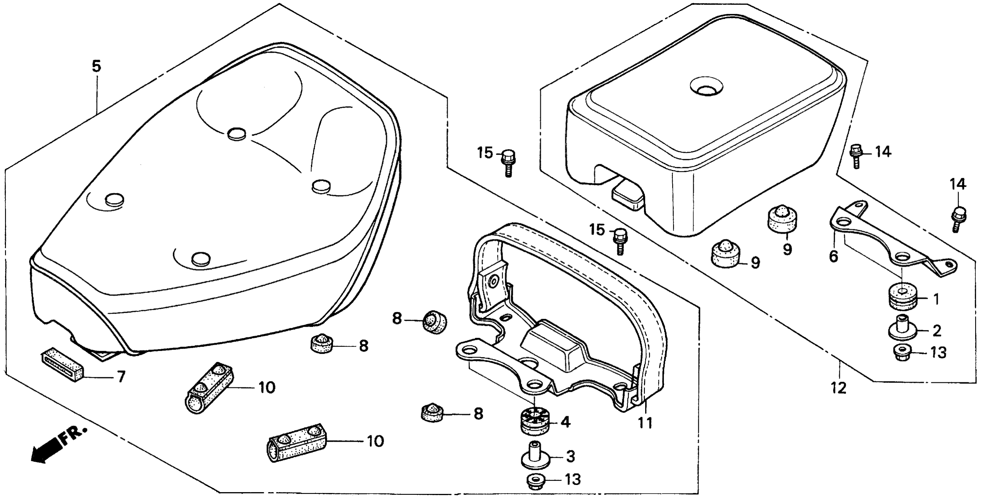
#

Description
Price

1

RUBBER, AIR CLEANER HOUSING MOUNTING

17245-107-010

$2.89

2

COLLAR, FR. FENDER (WHITE) This part replaces 61104-357-000.

61104-428-010

$4.42

2

COLLAR, FR. FENDER (WHITE) This part replaces 61104-428-000.

61104-428-010

$4.42

3

COLLAR, SETTING

61104-422-000

$6.91

4

RUBBER, HEADLIGHT CASE MOUNTING

61304-415-000

$3.47

5

SEAT ASSY., FR. *NH1L* (BLACK)

77100-KEB-900ZA

$329.30

6

STAY, RR. SEAT

77203-KR3-000

$25.31

7

RUBBER A, SEAT SETTING

77205-KR3-770

$5.40

8

RUBBER, SEAT SETTING

77206-GF0-000

$5.46

9

RUBBER, SEAT SETTING

77206-426-000

$5.05

10

RUBBER D, SEAT SETTING

77208-KR3-000

$9.10

11

SEAT BELT

77210-KR3-000

$94.05

12

SEAT ASSY., RR.

77300-KEN-A70

$137.23

12

SEAT ASSY., RR. This part replaces 77300-KR3-000.

77300-KEN-A70

$137.23

13

NUT, FLANGE (6MM)

94050-06000

$1.49

14

BOLT, FLANGE (6X12) (L. SIDE ONLY)

96001-06012-07

$1.72

15

BOLT, FLANGE (8X14)

96300-08014-00

$1.80