Partiron

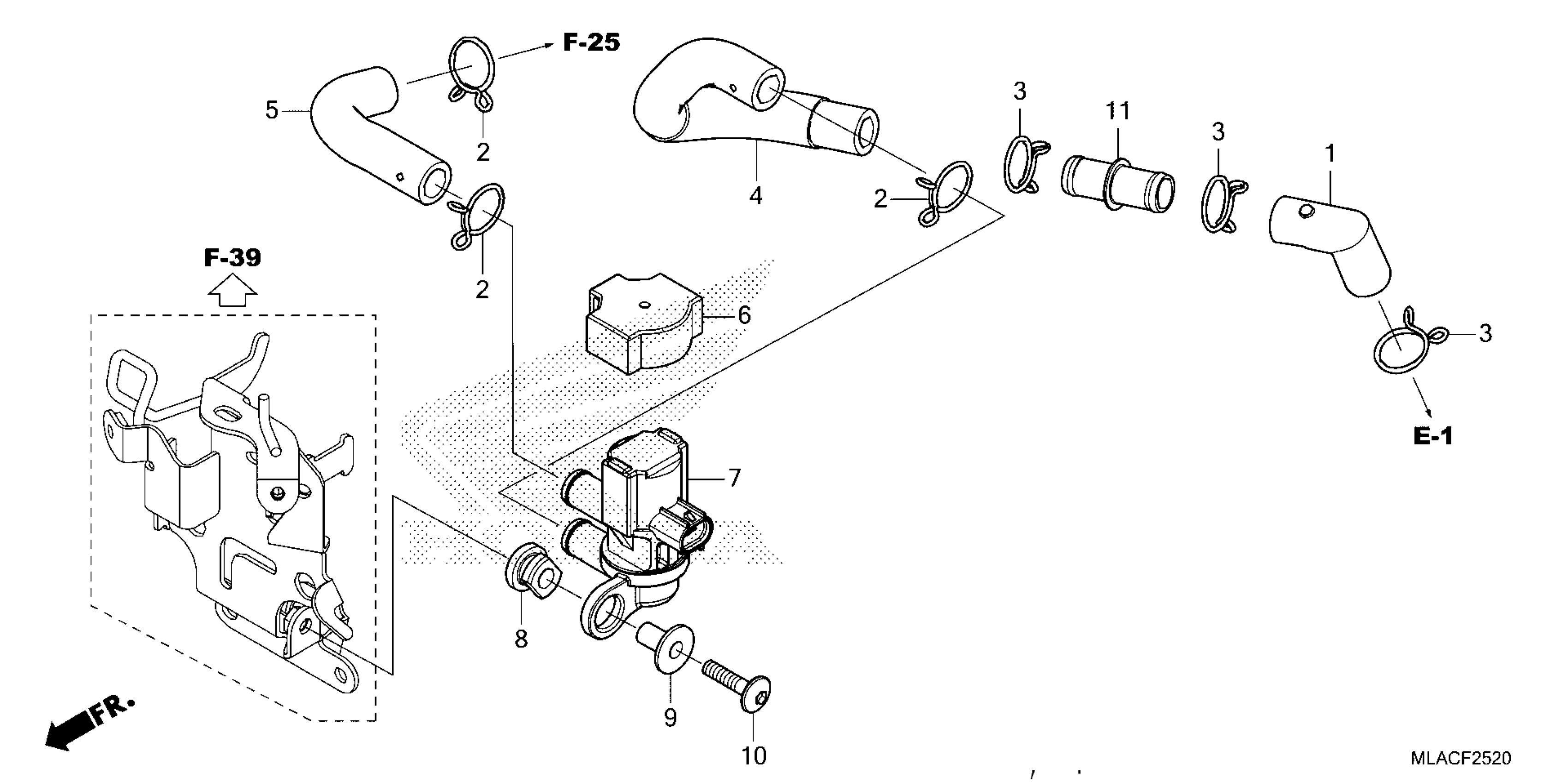
Honda CMX1100DAC (25) MOTORCYCLE, JPN, VIN# JH2SC878-SK000001 TO JH2SC878-SK099999 AIR INJECTION SOLENOID VALVE Diagram

#

Description
Price

1

TUBE A, BREATHER

17552-MKG-A00

$3.54

2

CLIP, SUB-TANK HOSE

17724-102-700

$4.51

3

CLIP, SUB-TANK HOSE

17724-MN1-670

$3.15

4

TUBE (AISV)

18613-MLA-A00

$14.18

5

TUBE (AISV-AIR CLEANER)

18653-MLA-A00

$11.34

6

CAP, AIR INJECTION SOLENOID VALVE

35451-KVZ-630

$3.84

7

VALVE ASSY., AIR INJECTION SOLENOID

36450-KVZ-632

$61.57

8

RUBBER, MOUNTING

43516-MR5-000

$4.92

9

COLLAR, PILLION SEAT

77302-473-000

$4.31

10

BOLT, SPECIAL (6X25)

90085-MBW-000

$3.67

11

JOINT, TUBE (14.5)

91463-MAL-600

$8.33