- Partiron
- OEM Parts
- Honda
- MOTORCYCLE
- 1982
- CM200TA (82) TWINSTAR, JPN, VIN# JH2MC010-CM200001 TO JH2MC010-CM204491
FRONT FORK
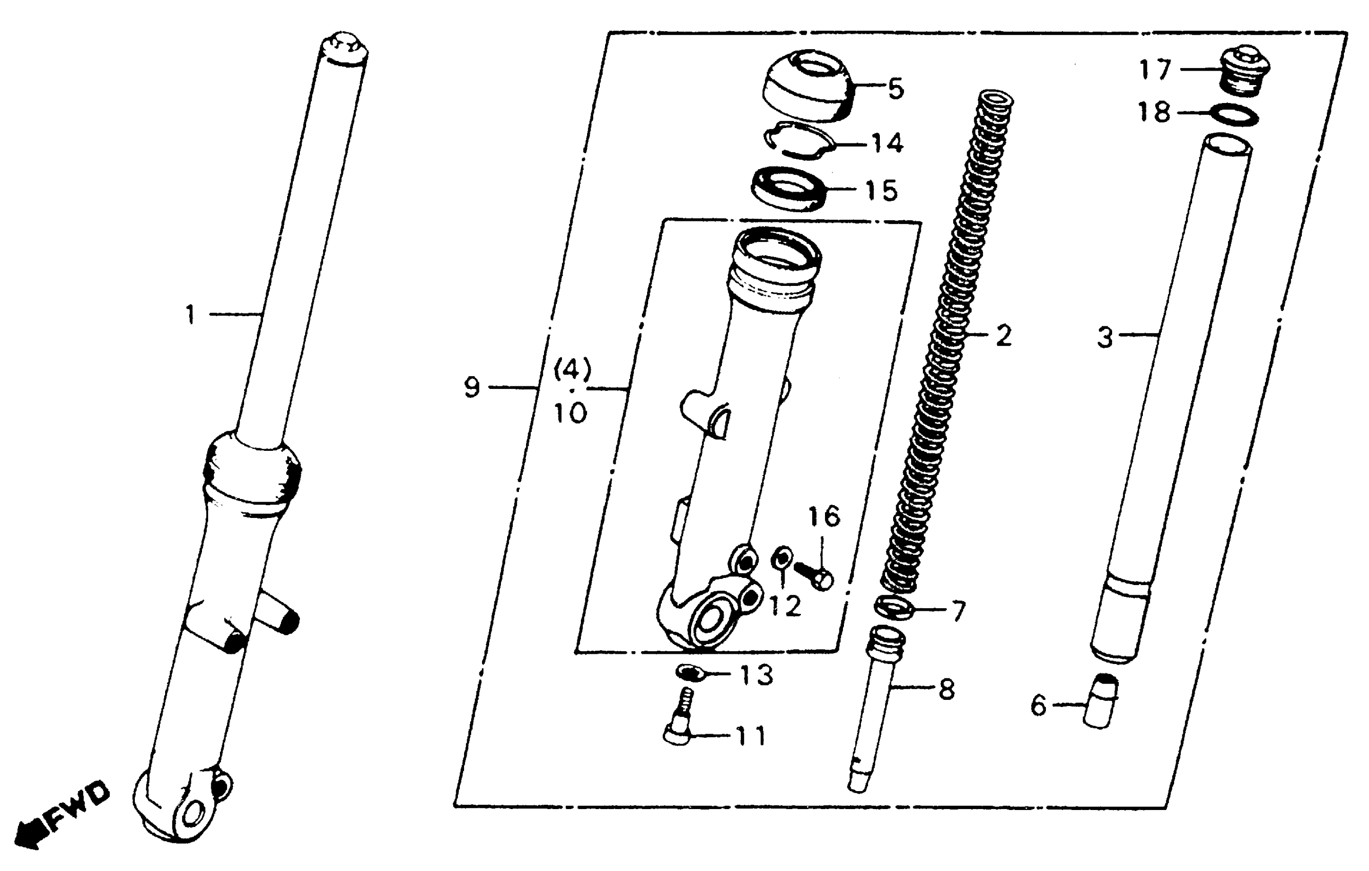
Honda CM200TA (82) TWINSTAR, JPN, VIN# JH2MC010-CM200001 TO JH2MC010-CM204491 FRONT FORK Diagram
#
Description
Price
1
FORK ASSY., R. FR.
51400-465-010
Unavailable
2
SPRING, FR. FORK (SHOWA) (NOT AVAILABLE)
51401-419-003
Unavailable
3
PIPE, FR. FORK
51410-KC1-003
Unavailable
3
PIPE, FR. FORK This part replaces 51410-419-003.
51410-KC1-003
Unavailable
4
CASE, R. FR. (LOWER) (NOT AVAILABLE)
51421-465-000
Unavailable
7
RING, PISTON
51437-373-781
Unavailable
8
PIPE, SEAT (SHOWA)
51470-399-003
Unavailable
9
FORK ASSY., L. FR. (NOT AVAILABLE)
51500-465-010
Unavailable
10
CASE, L. (LOWER) (NOT AVAILABLE)
51521-465-000
Unavailable
