- Partiron
- OEM Parts
- Honda
- MOTORCYCLE
- Models With No Year
- CL450A MOTORCYCLE, JPN, VIN# CL450-1000001
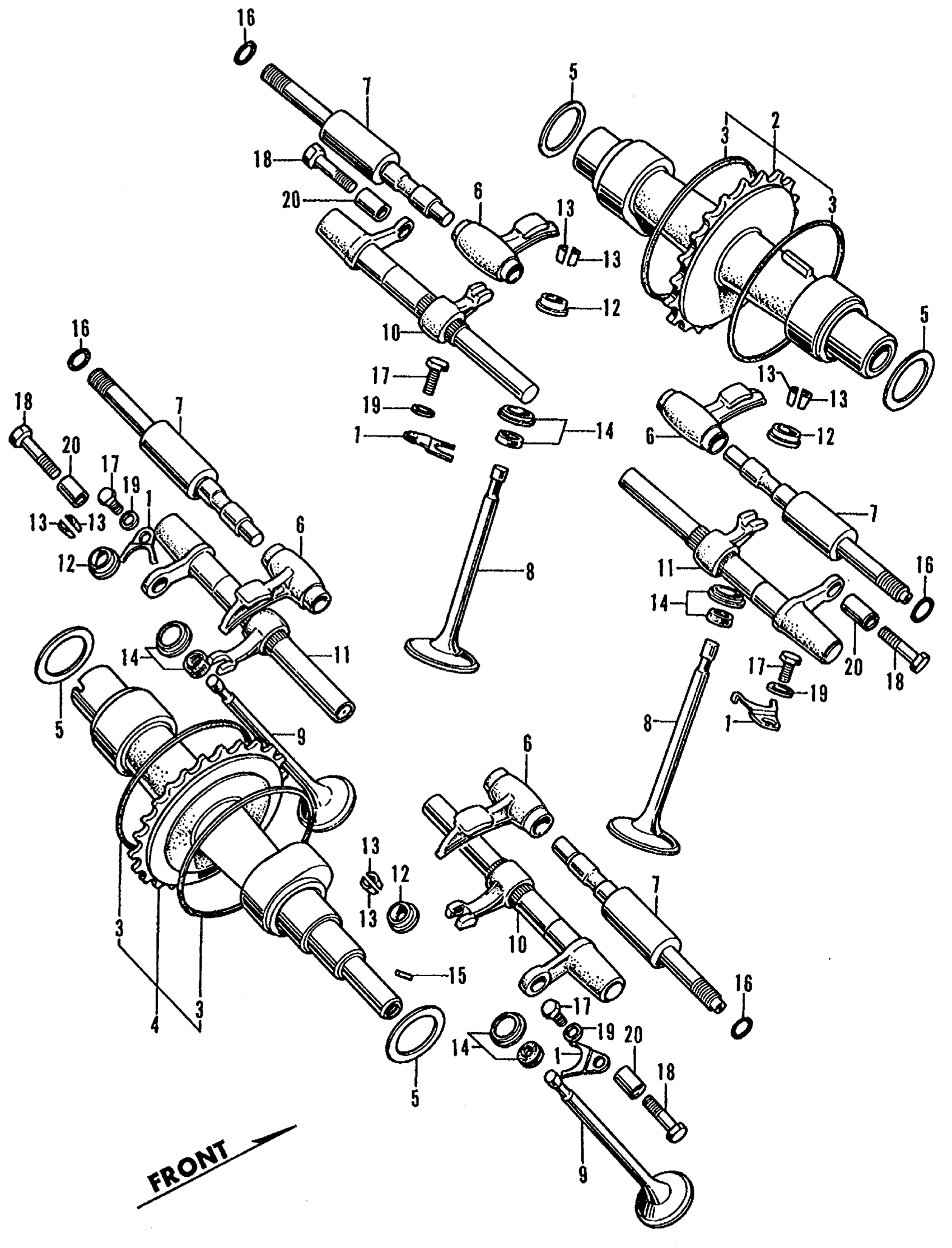
CAMSHAFT + VALVE
Honda CL450A MOTORCYCLE, JPN, VIN# CL450-1000001 CAMSHAFT + VALVE Diagram
#
Description
Price
1
STOPPER, VALVE GUIDE (NOT AVAILABLE)
12293-319-000
Unavailable
2
CAMSHAFT, IN. (NOT AVAILABLE)
14110-292-670
Unavailable
4
CAMSHAFT, EX. (NOT AVAILABLE) This part replaces 14120-292-003.
14120-292-013
Unavailable
4
CAMSHAFT, EX. (NOT AVAILABLE)
14120-292-013
Unavailable
5
SPACER, CAMSHAFT (0.1MM) (NOT AVAILABLE)
14294-283-000
Unavailable
5
SPACER, CAMSHAFT (0.2MM)
14295-283-000
Unavailable
6
FOLLOWER, CAM
14431-292-010
Unavailable
7
SHAFT, CAM FOLLOWER
14451-292-000
Unavailable
9
VALVE, EX.
14721-292-010
Unavailable
10
SPRING ASSY. A, TORSION BAR VALVE (NOT AVAILABLE)
14750-292-000
Unavailable
11
SPRING ASSY. B, TORSION BAR VALVE
14760-292-000
Unavailable
12
RETAINER, VALVE SPRING
14771-283-305
Unavailable
13
COTTER, VALVE
14781-292-000
Unavailable
15
PIN, KNOCK (3X6.8) (NOT AVAILABLE)
90701-283-000
Unavailable
