- Partiron
- OEM Parts
- Honda
- MOTORCYCLE
- 1976
- CJ360TA (76) MOTORCYCLE, JPN, VIN# CJ360T-2000001 TO CJ360T-2013639
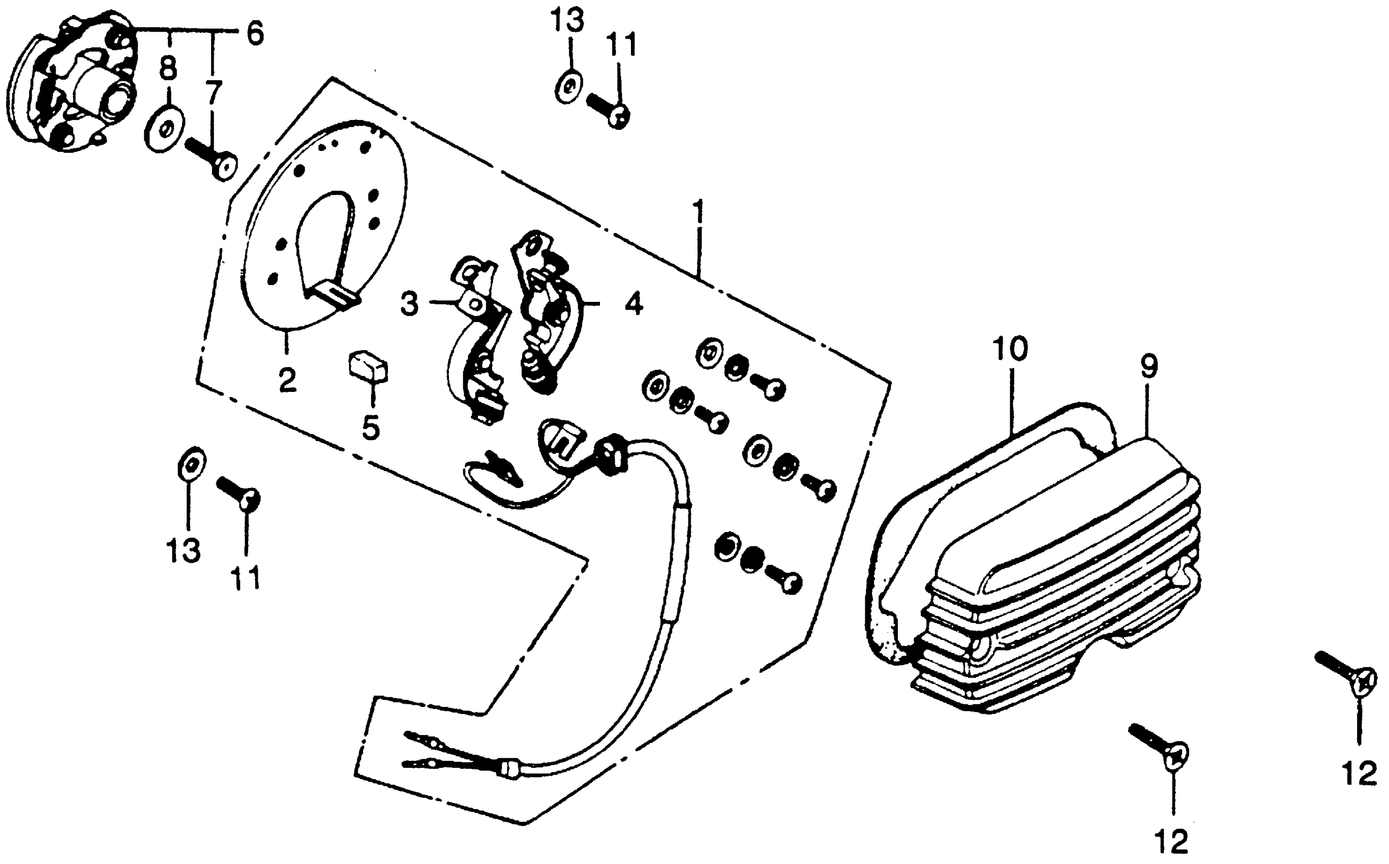
POINTS
Honda CJ360TA (76) MOTORCYCLE, JPN, VIN# CJ360T-2000001 TO CJ360T-2013639 POINTS Diagram
#
Description
Price
1
POINTS ASSY. (TOYO) (NOT AVAILABLE)
30200-369-154
Unavailable
2
PLATE, POINTS BASE (TOYO)
30201-369-154
Unavailable
5
FELT, OIL (TOYO)
30205-300-154
Unavailable
6
ADVANCER ASSY., SPARK (TOYO) (NOT AVAILABLE)
30220-369-154
Unavailable
7
BOLT, SPARK ADVANCER SETTING (DENSO) (NOT AVAILABLE)
30225-286-004
Unavailable
8
WASHER, SPARK ADVANCER SETTING (DENSO) (NOT AVAILABLE)
30226-286-014
Unavailable
9
COVER, POINTS | Use up to Engine SN 2008936 This part replaces 30371-387-670.
30371-387-671
Unavailable
9
COVER, POINTS | Use from Engine SN 2008937
30371-387-671
Unavailable
10
GASKET, POINTS COVER This part replaces 30372-369-000.
30372-369-306
Unavailable
12
SCREW, OVAL (5X32) (SOURCE: VINTAGE PARTS INC.)
93700-05032-0A
Unavailable
