- Partiron
- OEM Parts
- Honda
- MOTOR SCOOTER
- 2005
- CHF50A (05) METROPOLITAN, JPN, VIN# JH2AF600-5K300001
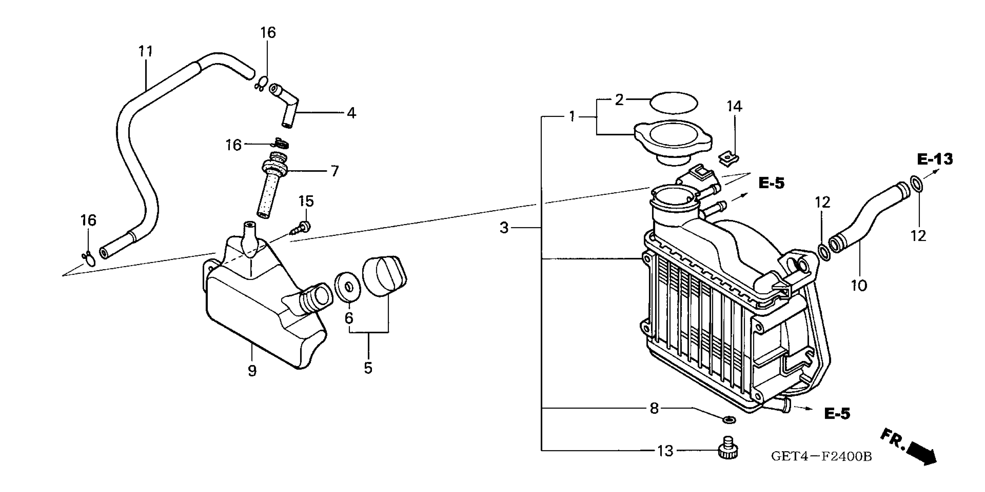
RADIATOR
Honda CHF50A (05) METROPOLITAN, JPN, VIN# JH2AF600-5K300001 RADIATOR Diagram
#
Description
Price
9
TANK, RESERVE
19111-GET-010
Unavailable
11
TUBE, WATER
19505-GET-010
Unavailable
