Partiron

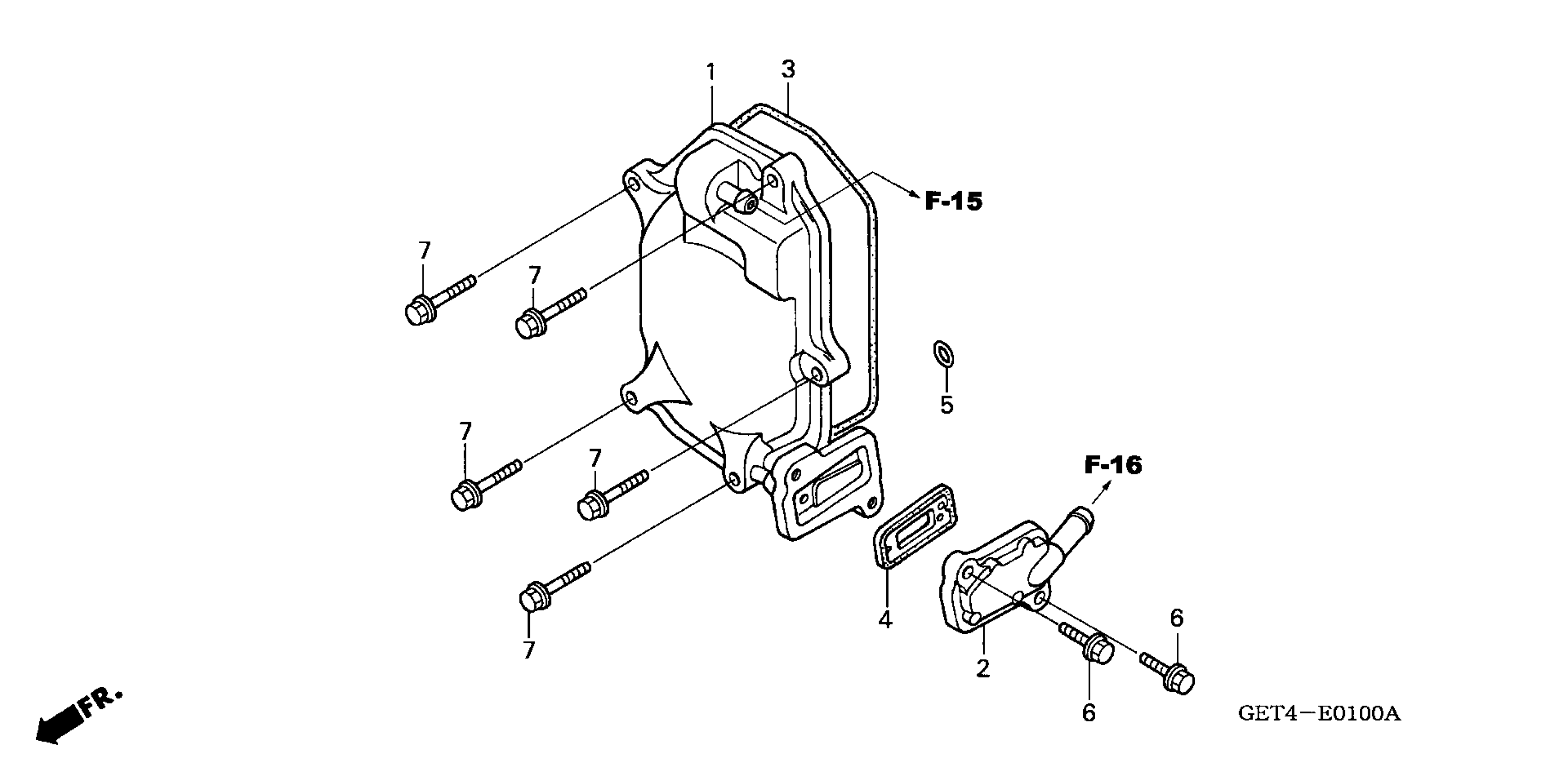
Honda CHF50A (05) METROPOLITAN, JPN, VIN# JH2AF600-5K300001 CYLINDER HEAD COVER Diagram

#

Description
Price

1

COVER, HEAD

12310-GET-000

$83.64

2

COVER, REED VALVE

12315-GET-000

$11.39

3

GASKET, HEAD COVER

12391-GET-000

$7.32

4

VALVE, REED (NOK)

18601-GEE-711

$17.75

4

VALVE, REED (ARAI)

18601-KEA-741

$18.89

5

O-RING (10X2) (ARAI)

91304-HA5-003

$3.92

6

BOLT, FLANGE (6X18)

95701-06018-00

$1.62

7

BOLT, FLANGE (6X25)

96001-06025-00

$2.00