- Partiron
- OEM Parts
- Honda
- MOTOR SCOOTER
- 1991
- CH80A (91) ELITE 80, MEX, VIN# 3H1HF030-MD600001 TO 3H1HF030-MD600600
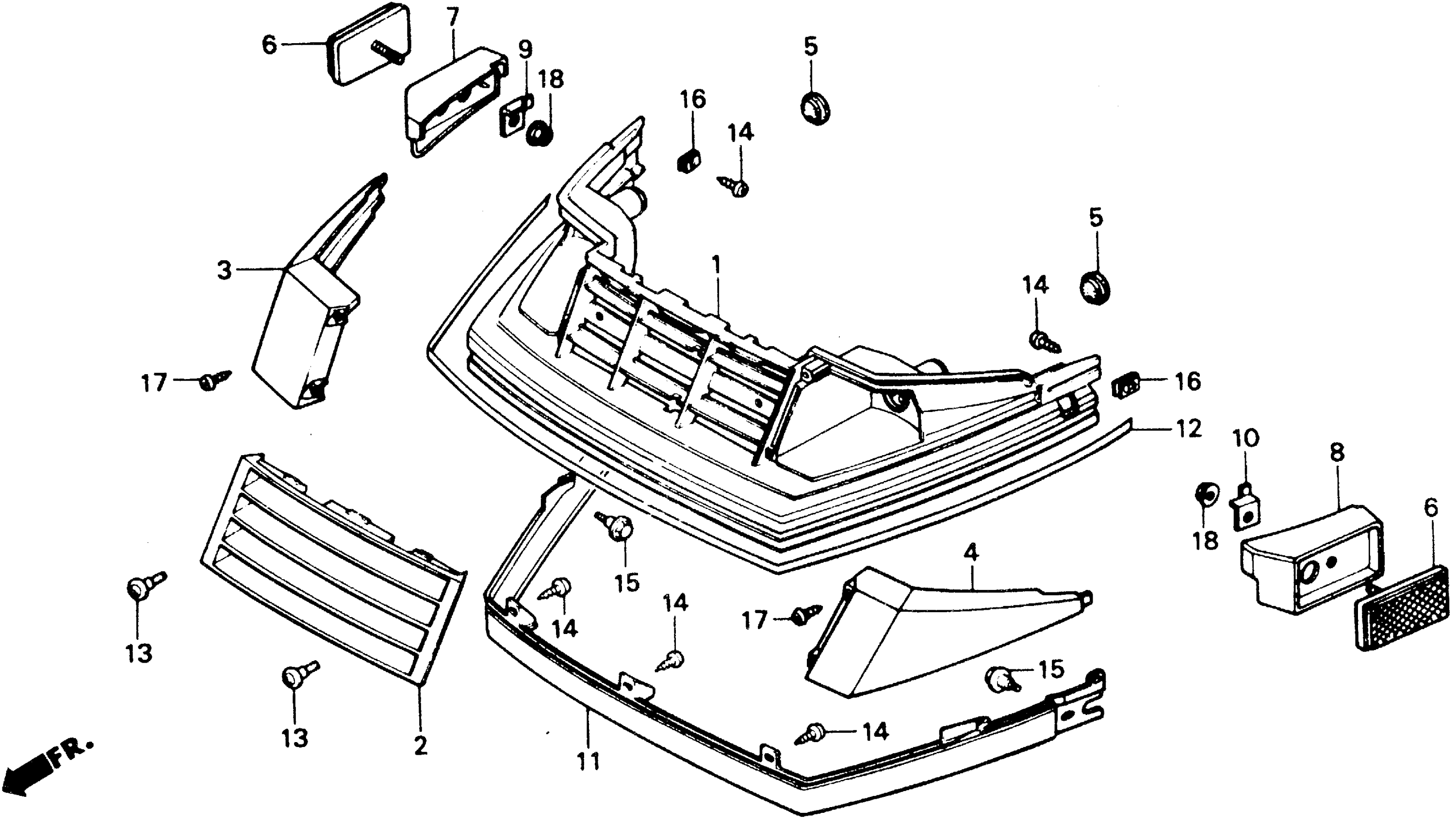
FRONT GARNISH
Honda CH80A (91) ELITE 80, MEX, VIN# 3H1HF030-MD600001 TO 3H1HF030-MD600600 FRONT GARNISH Diagram
#
Description
Price
2
LOUVER, FR. *NH154R* (TYPE1) (TASMAN GRAY)
33302-GV4-900ZA
Unavailable
3
LENS, R. DUMMY *NH154R* (TYPE1) (TASMAN GRAY)
33303-GV4-900ZA
Unavailable
4
LENS, L. DUMMY *NH154R* (TYPE1) (TASMAN GRAY)
33353-GV4-900ZA
Unavailable
5
GROMMET, SOCKET
33713-GE8-610
Unavailable
7
SPACER, R. FR. REFLECTOR *NH154R* (TASMAN GRAY) (NOT AVAILABLE) This part replaces 33745-GV4-900ZA.
33745-GV4-900ZC
Unavailable
7
SPACER, R. FR. REFLECTOR *NH154R* (TASMAN GRAY)
33745-GV4-900ZC
Unavailable
8
SPACER, L. FR. REFLECTOR *NH154R* (TASMAN GRAY) (NOT AVAILABLE) This part replaces 33746-GV4-900ZA.
33746-GV4-900ZC
Unavailable
9
STAY, R. FR. REFLECTOR
33747-GE1-670
Unavailable
10
STAY, L. FR. REFLECTOR
33748-GE1-670
Unavailable
11
SKIRT, FR. *NH196* (ROSS WHITE)
64305-GE0-000YD
Unavailable
12
STRIPE, FR. TURN SIGNAL BASE
87147-GE0-300
Unavailable
