- Partiron
- OEM Parts
- Honda
- MOTOR SCOOTER
- 2000
- CH80A (00) ELITE 80, MEX, VIN# 3H1HF030-YD500001
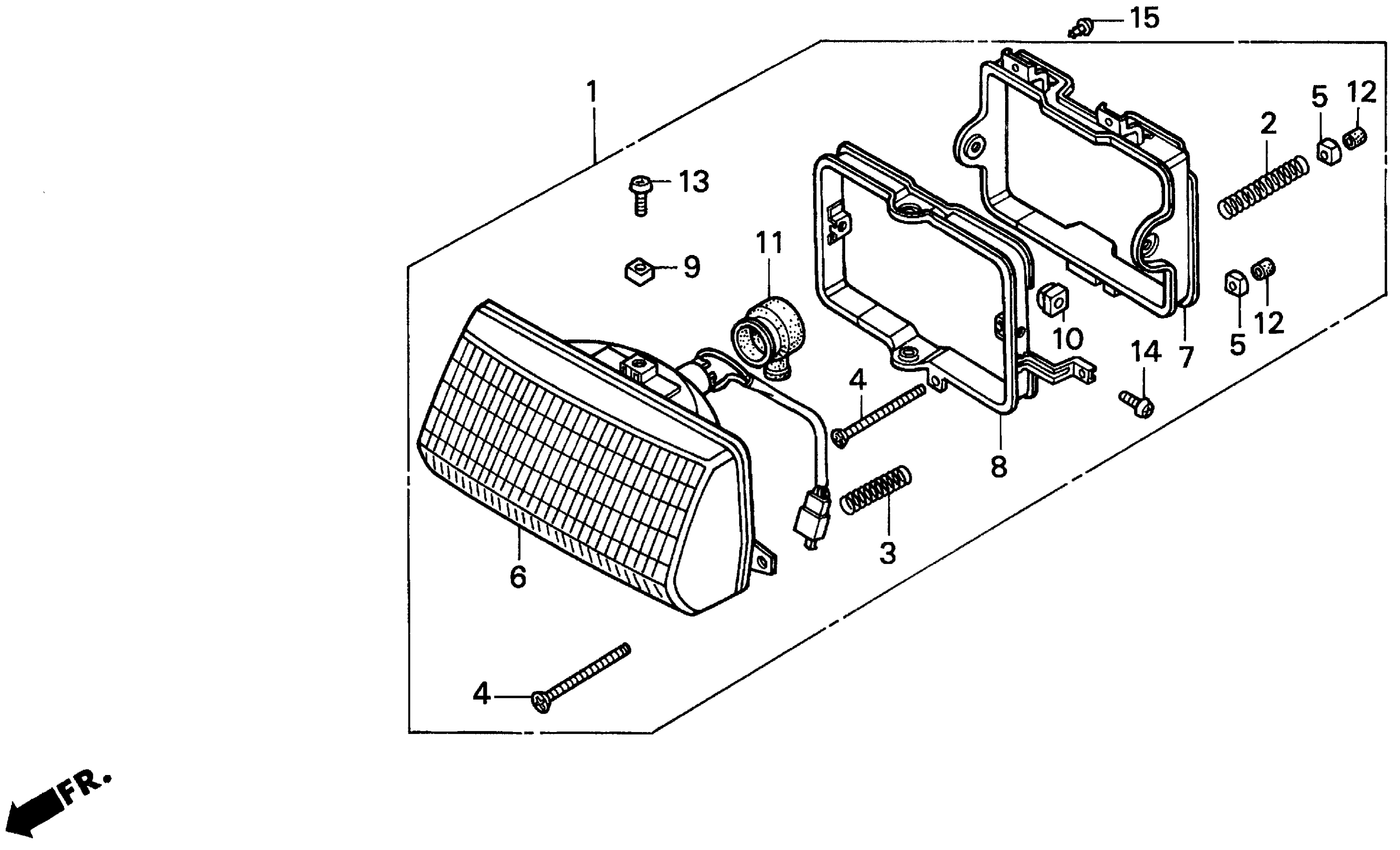
HEADLIGHT
Honda CH80A (00) ELITE 80, MEX, VIN# 3H1HF030-YD500001 HEADLIGHT Diagram
#
Description
Price
1
HEADLIGHT ASSY. (NOT AVAILABLE)
33100-GE1-671
Unavailable
2
SPRING, BEAM ADJUSTING
33106-GE1-670
Unavailable
3
SPRING, BEAM ADJUSTING
33107-GE1-670
Unavailable
6
HEADLIGHT UNIT
33120-GE1-670
Unavailable
7
RING A, MOUNTING
33121-GE1-670
Unavailable
11
COVER, RUBBER
33130-111-671
Unavailable
