- Partiron
- OEM Parts
- Yamaha
- snowmobile
- 1987
- CF300L (INVITER) 1987
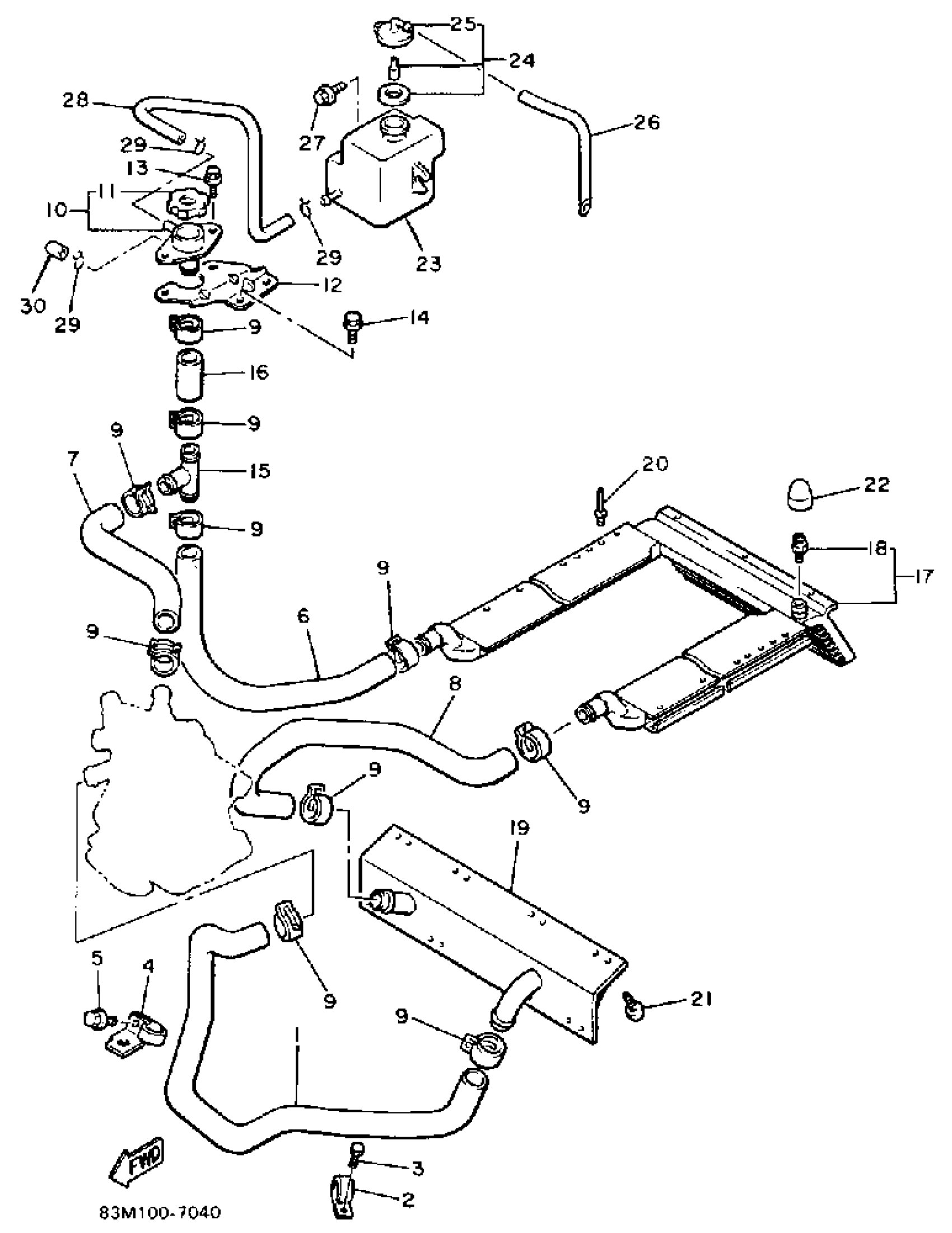
RADIATOR-HOSE
Yamaha CF300L (INVITER) 1987 RADIATOR-HOSE Diagram
#
Description
Price
1
PIPE 1
83M-12481-00-00
Unavailable
2
CLAMP
(90461-10083-00)
Unavailable
4
CLAMP 1
83M-12491-00-00
Unavailable
6
PIPE 3
81E-12483-00-00
Unavailable
7
PIPE 4
81E-12484-00-00
Unavailable
8
PIPE 5
83M-12485-00-00
Unavailable
10
CONDUCTION ASSEMBLY
47X-12590-01-00
Unavailable
12
STAY
81E-12443-00-00
Unavailable
15
JOINT, HOSE 1
81E-12581-00-00
Unavailable
16
PIPE 2
59W-12482-00-00
Unavailable
17
HEAT EXCHANGER ASSEMBLY
83M-12440-00-00
Unavailable
18
SCREW, BREED
82M-1247H-00-00
Unavailable
19
HEAT EXCHANGER ASSEMBLY
83M-1241A-00-00
Unavailable
20
RIVET, BLIND (8H4)
90267-48053-00
Unavailable
21
SCREW, BINDING
98907-06012-00
Unavailable
22
PROTECTOR
83M-12498-00-00
Unavailable
23
TANK, RECOVERY
81E-21871-00-00
Unavailable
24
CAP
81E-21815-00-00
Unavailable
25
. CAP
10X-21875-00-00
Unavailable
26
HOSE
90445-115E8-00
Unavailable
28
HOSE (L230)
90445-113E2-00
Unavailable
29
CLIP
90467-100A1-00
Unavailable
30
PLUG, BLIND
81E-13569-00-00
Unavailable
